Прытков Антон Сергеевич (RU)
Изобретатель Прытков Антон Сергеевич (RU) является автором следующих патентов:

Система регистрации папиллярных узоров
Изобретение относится к медицинской технике, в частности к области биометрии. Система регистрации папиллярных узоров содержит источник и многоэлементный приемник оптического излучения. Приемник оптического излучения связан с электронной памятью для хранения изображений и устройством обработки. В электронной памяти выходное изображение системы связано электрически не менее чем с двумя промежуточны...
2475185
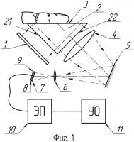
Система регистрации папиллярных узоров
Изобретение относится к области биометрии. Техническим результатом является повышение надежности, обеспечение высокого качества изображения, малых габаритных размеров, высокого быстродействия и пониженного энергопотребления системы регистрации папиллярных узоров. Система содержит источник света, элемент, задающий положение поверхности считывания, оптическую систему, многоэлементный приемник изоб...
2484524
Компактная система регистрации папиллярных узоров
Изобретение относится к области биометрической идентификации. Технический результат - уменьшение габаритных размеров, повышение надежности, обеспечение высокого качества изображения, высокого быстродействия и понижение энергопотребления системы регистрации папиллярных узоров. Система содержит источник света, элемент, задающий положение поверхности считывания папиллярного узора, оптическую систем...
2597465