РОШИТЦ Кристиан (AT)
Изобретатель РОШИТЦ Кристиан (AT) является автором следующих патентов:

Способ очистки газа и установка для осуществления способа
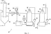
Изобретение может быть использовано для очистки газа, в частности синтез-газа, полученного при газификации осадка сточных вод. Способ очистки газа, содержащего аммиак и/или сероводород, включает отмывание сероводорода конденсированной водой, извлеченной из влажного газа до его очистки и содержащей подщелачивающее вещество-аммиак из газа. Установка (10) для очистки газа содержит мокрые газоочисти...
2485996