БЭНКО Эмил (SI)
Изобретатель БЭНКО Эмил (SI) является автором следующих патентов:

Таймер бытовой газовой горелки
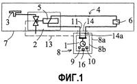
Изобретение относится к энергетике. Таймер бытовой газовой горелки, предназначенный для установки в газовую плиту, в которой имеется термоэлемент, являющийся предохранительным элементом, предотвращающим утечку газа при открытом клапане и погасшем пламени и автоматически приводящим в действие клапан, при этом таймер последовательно соединен с цепью, содержащей термоэлемент и катушку клапана газов...
2511865