ЯМАНАКА Ехей (JP)
Изобретатель ЯМАНАКА Ехей (JP) является автором следующих патентов:

Устройство обработки изображений и способ управления таковыми
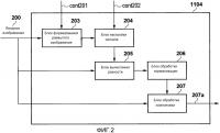
Изобретение относится к компьютерной технике, а именно к устройствам и способам обработки изображений. Техническим результатом является обеспечение преобразования исходного изображения в изображение, подобное живописи, за счет настройки уровня размытости в соответствии с параметром регулировки съемки исходного изображения и объекта, включенного в исходное изображение. Предложено устройство обраб...
2544793