ГЕРАРТС Сэм (NL)
Изобретатель ГЕРАРТС Сэм (NL) является автором следующих патентов:

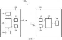
Дистанционное управление множеством устройств
Изобретение относится к области дистанционного управления, а именно к дистанционному управлению параметрами в заданном диапазоне. Технический результат - синхронизированное управление множеством устройств с относительными значениями параметров. Описаны система и способ для управления множеством устройств (150) посредством устройства (105) дистанционного управления. Прибор (105) дистанционного уп...
2558623