ЯНССЕН Штефан (DE)
Изобретатель ЯНССЕН Штефан (DE) является автором следующих патентов:

Способ эксплуатации ротационной машины
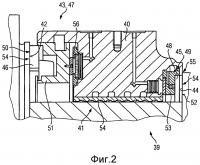
Изобретение относится к способу эксплуатации ротационной машины с установленным в подшипнике (39) ротором (14), который в какой-то момент работы подвержен действию силы тяги, действующей, главным образом, только в аксиальном направлении, а воспринимаемой и отводимой первым упорным подшипником (43) подшипника (39) через смазку, причем подшипник (39) содержит второй упорный подшипник (45). Для дем...
2601067