PatentDB.ru — поиск по патентным документам

КЕЛЛЕР Вольфганг (FR)

Изобретатель КЕЛЛЕР Вольфганг (FR) является автором следующих патентов:

Система и способ начала движения мешалок в осадке

Система и способ начала движения мешалок в осадке

Изобретение относится к системе и способу управляемого начала движения мешалок в осадке. Представлены система и соответствующий способ управляемого начала движения мешалок в осадке, причем система имеет следующее: резервуар для размещения подлежащих обработке материалов, устройство перемешивающего органа с лопатками перемешивающего органа для перемешивания подлежащих обработке материалов в резерву...

2614274

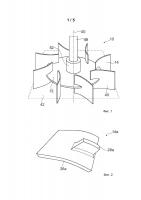
Узел перемешивающего механизма

Узел перемешивающего механизма

Изобретение относится к узлу перемешивающего механизма. Узел перемешивающего механизма содержит по меньшей мере один металлический держатель лопастей мешалки и несколько лопастей мешалки, которые соединены с держателем лопастей мешалки, причем лопасти мешалки состоят из неметаллического материала. Предлагается, что неметаллический материал является керамическим материалом. Изобретение обеспечивает...

2646073