PatentDB.ru — поиск по патентным документам

Фомин Юрий Станиславович (RU)

Изобретатель Фомин Юрий Станиславович (RU) является автором следующих патентов:

Устройство для устранения термокомпрессии громкоговорителя

Устройство для устранения термокомпрессии громкоговорителя

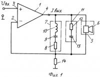
Изобретение относится к технике звуковоспроизведения. Технический результат изобретения заключается в устранении термокомпрессии громкоговорителя, снижении искажений, улучшении микродинамики звуковоспроизведения. Устройство для устранения термокомпрессии громкоговорителя содержит громкоговоритель, включающий не менее одной динамической головки, усилитель мощности, имеющий инвертирующий и неинверти...

2278481