PatentDB.ru — поиск по патентным документам

Мухамадеев Георгий Рашитович (RU)

Изобретатель Мухамадеев Георгий Рашитович (RU) является автором следующих патентов:

Погружной центробежный насосный агрегат

Погружной центробежный насосный агрегат

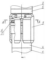
Изобретение относится к нефтяному машиностроению и может быть использовано в погружных центробежных насосных агрегатах в модульном исполнении для добычи нефти из наклонно направленных и искривленных скважин. Для защиты кабеля от механических повреждений на фланцевые соединения модулей насосного агрегата установлены страховочные муфты с опорными поверхностями, состоящие из двух полумуфт, шарнирно с...

2290541

Скважинный насос

Скважинный насос

Изобретение относится к нефтяному машиностроению, а именно к погружным насосам для откачки пластовой жидкости из скважин. Скважинный насос содержит двигатель, соединенный с нижней из насосных секций посредством всасывающего устройства, которое имеет вал с опорами, головку, основание, фильтр, выполненный из фильтрующих элементов в виде трубчатого элемента из проницаемого материала из спиральной пр...

2407919