PatentDB.ru — поиск по патентным документам

КОУХЕН Эрнест С. (US)

Изобретатель КОУХЕН Эрнест С. (US) является автором следующих патентов:

Отложенная очистка буферов быстрого преобразования адресов

Отложенная очистка буферов быстрого преобразования адресов

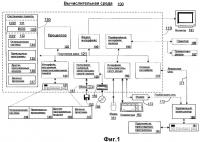
Изобретение относится к области управления памятью, а более конкретно к очистке кэш-буфера преобразования адресов. Техническим результатом является расширение функциональных возможностей. Управление преобразованием адресов (АТС) ограничивает отображения между виртуальными и физическими адресами для того, чтобы реализовать политику доступа к памяти. Каждый процессор в многопроцессорной системе по...

2361267