ТИЛЕН Хайко (DE)
Изобретатель ТИЛЕН Хайко (DE) является автором следующих патентов:

Переключатель, в особенности поворотный переключатель
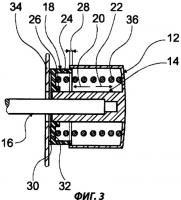
Изобретение относится к переключателю, в особенности поворотному переключателю для бытового прибора (10), содержащему головку (12) и соединительный узел (14), который предусмотрен для соединения головки (12) с коммутационным средством (16), в особенности включающим валом. Переключатель имеет по меньшей мере одно выполненное раздельно от головки (12) экранирующее средство (18), которое предусмотре...
2382433