PatentDB.ru — поиск по патентным документам

БОЛЗАР Тэмми Дж. (US)

Изобретатель БОЛЗАР Тэмми Дж. (US) является автором следующих патентов:

Устройство, активируемое при помощи оттягиваемого язычка

Устройство, активируемое при помощи оттягиваемого язычка

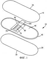
Изобретение относится к устройствам для чистки, поглощения и нанесения жидкостей и контейнерам для жидкостей. Задачей изобретения является создание устройства для чистки, содержащее мягкий гибкий мешочек с текучим веществом, исключающий его несвоевременный разрыв. Устройство для чистки содержит слой основы и вытирающий слой, прикрепленный к слою для образования внутреннего пространства между ними...

2432307