МЕШУТ Герсон (DE)
Изобретатель МЕШУТ Герсон (DE) является автором следующих патентов:

Способ создания гвоздевого соединения (варианты) и гвоздь, предназначенный для создания гвоздевого соединения
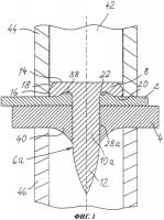
Изобретение относится к крепежным элементам и способам их крепления. Согласно первому варианту способа формирования соединения двух деталей в соединительной области посредством гвоздя, имеющего шляпку гвоздя, снабженную на своей нижней стороне кольцеобразным пазом, стержень гвоздя и острие гвоздя, гвоздь забивают при помощи монтажного инструмента в осевом направлении в детали, не имеющие заранее...
2433317