ВРУГТ Петер Й. (NL)
Изобретатель ВРУГТ Петер Й. (NL) является автором следующих патентов:

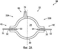
Керамическая горелка для керамической металлогалогенной лампы
Керамическая горелка содержит разрядный баллон (22), в котором заключено разрядное пространство (24) с ионизируемым наполнителем, содержащим один или более галоидов. Баллон (22) содержит керамическую стенку (30), расположенную между первой и второй концевыми частями (41, 42), сквозь которые проходят токопитающие проводники (51, 52) для электродов (53, 54), расположенных в разрядном пространстве д...
2451361