PatentDB.ru — поиск по патентным документам

Иллюстрации к патенту 2391501

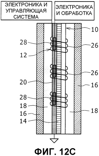
Система и способ для измерения скважинных тепловых параметров углеводородосодержащей формации

Система и способ для измерения скважинных тепловых параметров углеводородосодержащей формации (патент 2391501)