PatentDB.ru — поиск по патентным документам

Иллюстрации к патенту 2427707

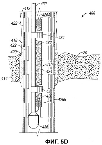
Способ увеличения добычи метана из угленосной свиты посредством быстрого окисления (варианты)

Способ увеличения добычи метана из угленосной свиты посредством быстрого окисления (варианты) (патент 2427707)