PatentDB.ru — поиск по патентным документам

Иллюстрации к патенту 2645310

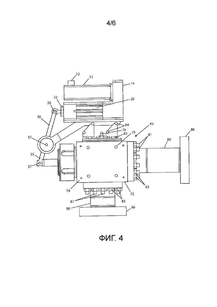
Аппаратура контроллера, система и/или способ для регулирования давления в системе управления текучей средой

Аппаратура контроллера, система и/или способ для регулирования давления в системе управления текучей средой (патент 2645310)