PatentDB.ru — поиск по патентным документам

Иллюстрации к патенту 2654286

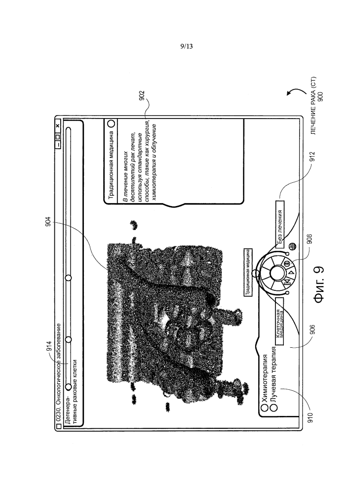
Интегрированная интерактивная система и способ для визуализации физиологического состояния, заболевания, вариантов лечения человека и применения

Интегрированная интерактивная система и способ для визуализации физиологического состояния, заболевания, вариантов лечения человека и применения (патент 2654286)