Трифонова Ольга Вячеславовна (RU)
Трифонова Ольга Вячеславовна (RU) является правообладателем следующих патентов:

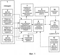
Устройство для запуска ракеты с подвижного носителя
Изобретение относится к области размещения ракетного вооружения на подвижных носителях и может быть использовано, например, при запуске ракет с летательного аппарата. Технический результат - расширение функциональных возможностей. Для достижения данного результата устройство включает прицел стрелка-оператора с датчиками углов и угловой скорости линии визирования в двух взаимно ортогональных плоск...
2455610
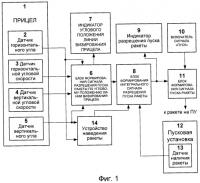
Устройство для запуска ракеты с подвижного носителя
Изобретение относится к области размещения ракетного вооружения на подвижных носителях и может быть использовано, например, при запуске ракет с летательного аппарата. Устройство для запуска ракеты включает прицел стрелка-оператора с датчиками углов и угловой скорости линии визирования в двух взаимно ортогональных плоскостях, подключенный к датчикам блок формирования сигнала разрешения пуска ракет...
2460029
Устройство для запуска ракеты с подвижного носителя
Изобретение относится к области размещения ракетного вооружения на подвижных носителях и может быть использовано, например, при запуске ракет с летательного аппарата. Технический результат - расширение функциональных возможностей. Для достижения данного результата в устройство введены пусковая установка с датчиком наличия ракеты, блок формирования интегрального сигнала разрешения пуска ракеты и б...
2460962
Устройство для запуска ракеты с подвижного носителя
Изобретение относится к области размещения ракетного вооружения на подвижных носителях и может быть использовано, например, при запуске ракет с летательного аппарата. Устройство включает прицел с датчиками углов и угловой скорости линии визирования в двух взаимно ортогональных плоскостях, подключенный к датчикам блок формирования сигнала разрешения пуска ракеты по угловому положению линии визиров...
2467277
Устройство для запуска ракеты с подвижного носителя (варианты)
Группа изобретений относится к области размещения ракетного вооружения на подвижных носителях и может быть использована, например, при запуске ракет с летательного аппарата. Прицел выполнен с датчиками углов и угловой скорости линии визирования в двух взаимно ортогональных плоскостях. К датчикам подключен блок формирования сигнала разрешения пуска ракеты по угловому положению линии визирования пр...
2468325