ШОЙХ ГМБХ (AT)
ШОЙХ ГМБХ (AT) является правообладателем следующих патентов:

Установка для очистки дымового газа
Изобретения относятся к области химии. Установка 1 для очистки дымовых газов цементной вращающейся трубчатой печи 2 с, по меньшей мере, одним селективным катализатором 8 для восстановления содержащихся в дымовом газе окислов азота, подводом 16 восстанавливающего средства, а также, по меньшей мере, первым и вторым фильтровальными устройствами 7, 9 для пылеулавливания. Катализатор 8 восстановления...
2484883
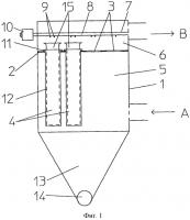
Рукавный фильтр для очистки содержащих пыль газов и инжекционное сопло для указанного рукавного фильтра
Группа изобретений относится к рукавному фильтру для очистки содержащих пыль газов и к инжекционному соплу для фильтрующих рукавов. Рукавный фильтр для очистки содержащих пыль газов содержит корпус, который рукавным дном с отверстиями разделен на сторону очищенного газа и сторону неочищенного газа, и устройства для подачи импульсов сжатого воздуха в открытые концы фильтрующих рукавов для очистки...
2592802