Любимов Александр Александрович (RU)
Любимов Александр Александрович (RU) является правообладателем следующих патентов:

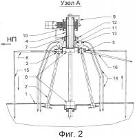
Вертолёт
Изобретение относится к области авиации, в частности к конструкциям несущих винтов. Вертолет содержит фюзеляж с кабиной экипажа и двигателями, несущий винт с механизмом изменения шага и устройство уравновешивания реактивного крутящего момента от вращения несущего винта. Втулка несущего винта установлена через подшипники на наклоняемой полой оси. Ось при помощи не менее трех стержней шарнирно свя...
2533374