ЧАНГ Цзюй Лунь (CN)
ЧАНГ Цзюй Лунь (CN) является правообладателем следующих патентов:

Тормозная система с устройством сочленяющего действия
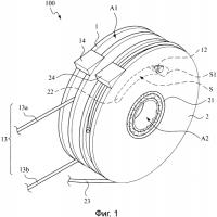
Изобретение относится к тормозной системе велосипеда с устройством сочленяющего действия. Тормозная система содержит тормозные устройства заднего и переднего колеса. Тормозное устройство заднего колеса включает в себя первое поворотное звено, первый переключающий элемент, размещенный на первом поворотном звене, и первый натяжной элемент, проходящий через первый переключающий элемент. Тормозное у...
2567716