PatentDB.ru — поиск по патентным документам

ФЛЭКСЕНЭБЛ ЛИМИТЕД (GB)

ФЛЭКСЕНЭБЛ ЛИМИТЕД (GB) является правообладателем следующих патентов:

Системы отображения

Системы отображения

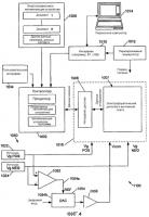
Изобретение относится к схемам и способам для компенсации броска обратного напряжения затвора в электрооптических дисплеях. Техническим результатом является обеспечение компенсации броска обратного напряжения затвора в электрооптических дисплеях без базирования на режиме работы дисплея без записи. Способ компенсации броска обратного напряжения затвора в электрооптическом дисплее предусматривает...

2573202