PatentDB.ru — поиск по патентным документам

ГЕА ТУХЕНХАГЕН ГМБХ (DE)

ГЕА ТУХЕНХАГЕН ГМБХ (DE) является правообладателем следующих патентов:

Клапан и диафрагма клапана

Клапан и диафрагма клапана

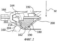
Группа изобретений относится к клапану и к диафрагме клапана. Клапан содержит корпус с первым портом и вторым портом. Затвор способен перемещаться вдоль оси и приводиться в положение запирания, в котором он герметично сопряжен с клапанным седлом. Клапан содержит диафрагму, непроницаемую для текучей среды. Диафрагма снабжена центральным отверстием, сквозь которое проведен узел затвора, содержащий...

2604467