Конколович Андрей Георгиевич (RU)
Конколович Андрей Георгиевич (RU) является правообладателем следующих патентов:

Электронный нотный альбом и пульт беспроводной дистанционной передачи команд для него
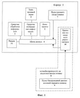
Электронный нотный альбом и пульт беспроводной дистанционной передачи команд для него для повышения эффективности в эксплуатации содержит средство дистанционного ввода команд, выполненное в виде беспроводного дистанционного ввода команд с пультом беспроводной дистанционной передачи команд с органом управления. 2 с. и 12 з.п. ф-лы, 3 ил.
2266573