Гридин Валерий Владиславович (RU)
Гридин Валерий Владиславович (RU) является правообладателем следующих патентов:

Роторно-лопастной двигатель гридина
Изобретение относится к двигателестроению, в частности к двигателям внутреннего сгорания с неравномерным движением рабочих органов в кольцевой рабочей камере. Изобретение позволяет избавиться от вибрационных процессов, повысить плавность изменения угловых скоростей лопастных роторов и надежность механизма периодического изменения скоростей. Роторно-лопастной двигатель содержит кольцевую рабочую ка...
2292463
Устройство гридина уплотнения роторно-лопастного двигателя с креплением лопастей на дисках (варианты)
Устройство относится к двигателям внутреннего сгорания с неравномерным движением рабочих органов в кольцевой рабочей камере и может быть использовано в качестве роторной пневмо- и гидромашины. Техническим результатом является повышение эффективности уплотнения. Сущность изобретения заключается в том, что камера выполнена с возможностью сужения в осевом направлении для уменьшения осевых зазоров меж...
2300635
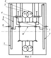
Многосекционный роторно-лопастной двигатель
Изобретение относится к двигателям внутреннего сгорания с неравномерным движением рабочих органов в кольцевой рабочей камере. Многосекционный роторно-лопастной двигатель состоит из секций двухтактных двигателей, каждая из которых имеет кольцевую рабочую камеру, свечу зажигания, два лопастных ротора, выполненных с возможностью вращения относительно центральной оси двигателя, впускные и выпускные кл...
2345225
Многосекционный роторно-лопастной двигатель внутреннего сгорания
Изобретение относится к двигателям внутреннего сгорания. Многосекционный роторно-лопастной двигатель внутреннего сгорания имеет кольцевую камеру, свечи зажигания, лопастные роторы, механизм связи лопастей (механизм) и рабочие клапана. Кольцевая камера ограничена торцевыми крышками и внешним цилиндром. Двигатель выполняется кинематическим соединением роторно-лопастных двигателей (далее - секций),...
2358127
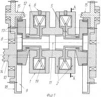
Четырехтактный роторно-лопастной двигатель внутреннего сгорания
Изобретение относится к двигателестроению. Роторно-лопастной двигатель содержит полый корпус, две пары лопастей, рычаги и сателлитные шестерни. Две пары лопастей делят полость камеры на четыре камеры переменного объема. Рычаги жестко связаны с валами лопастей. Сателлитные шестерни связаны с помощью кривошипно-шатунного механизма с соответствующим рычагом. Механизм связи лопастей выполняется двумя...
2467175
Роторно-лопастной двигатель, способ вращения лопастей в нем, способ воздушного охлаждения его лопасти и способ диффузионного горения топлива в нем
Группа изобретений относится к роторно-лопастному двигателю. Двигатель имеет две пары лопастей на двух полых валах, делящих камеру на четыре рабочих камеры переменного объема, каналы и окна газообмена, механизм связи лопастей, выполненный неподвижным соединением водил двух планетарных кривошипно-шатунных механизмов, установленных с торцов камеры, предкамеру, вынесенную за пределы камеры, форсунку,...
2630717