Гидрокопировальное устройство для универсального токарного станка

Иллюстрации

Показать все

Реферат

 

Изобретение относится к области механической обработки металлов резанием и может быть использовано на универсальных токарных станках при обработке многоступенчатых деталей. Целью изобретения является повышение производительности и качества обработки путем изменения расстояния между кромкой золотника и острием щупа. В отверстие золотника 19 установлены пружина 21 и удлиненный стержень 22 с помещенной на нем пружиной 23, а также сферическая шайба 24. Под действием пружины 23 сферическая шайба 24 контактирует с поверхностью щуподержателя 25, несущего щуп 26, предназначенный для продольного точения сложных поверхностей на обрабатываемой детали. Шуп 26 золотника 19 согласуется со ступенькой копира в заданном осевом положении, для чего вращением винта 35 перемеп1ают подвижный корпус 36 со щуподержателем 25 и щупом 26 до тех пор, пока щуп 26 не соприкоснется с поверхностью первой ступеньки копира, после чего корпус стопорится. 4 ил. сл

СОЮЗ СОВЕТСНИХ

СОЦИАЛИСТИЧЕСКИХ

РЕСПУБЛИК

1 115 А1 ((9) SU (1i) (qy) 4 В 23 В 3/28

ОПИСАНИК ИЗОБРКТЕНИЯ

ГОСУДАРСТВЕННЫЙ НОМИТЕТ СССР

ПО ДЕЛАМ ИЗОБРЕТЕНИЙ И ОТКРЫТИЙ

К АBTGPCHGMY СВИДЕТЕЛЬСТВУ (21) 3892986/25-08 (22) 13.05.85 (46) 15,05.87. Бюл. М 18 (75) В.Н.Трутнев (53) 621.941.2(088.8) (56) Авторское свидетельство СССР

У 132026, кл. В 23 Q 35/16, 1960. (54) ГЦЦРОКОПИРОВАЛЬНОЕ УСТРОЙСТВО

ДЛЯ УНИВЕРСАЛЬНОГО ТОКАРНОГО СТАНКА (57) Изобретение относится к области механической обработки металлов резанием и может быть использовано на универсальных токарных станках при обработке многоступенчатых деталей.

Целью изобретения является повышение производительности и качества обработки путем изменения расстояния между кромкой золотника и острием щупа.

В отверстие золотника 19 установлены пружина 21 и удлиненный стержень 22 с помещенной на нем пружиной 23, а также сферическая шайба 24. Под действием пружины 23 сферическая шайба

24 контактирует с поверхностью щуподержателя 25, несущего шуп 26, предназначенный для продольного точения сложных поверхностей на обрабатываемой детали. Шуп 26 золотника 19 согласуется со ступенькой копира в заданном осевом положении, для чего вращением винта 35 перемешают подвижный корпус 36 со щуподержателем 25 и шупом 26 до тех пор, пока щуп 26 не соприкоснется с поверхностью первой ступеньки копира, после чего корпус стопорится. 4 ил.

f3!Of!

Изобретение относится к механической обработке металлов резанием и может быть использовано на универсальных токарных станках при обработке многоступенчатых деталей. 5

Цель изобретения — повышение производительности и качества обработки путем изменения расстояния между кромкой золотника и острием щупа.

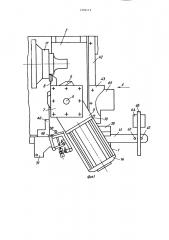
На фиг.l показано устройство,вид 10 сверху, на фиг.2 — вид А на фиг.l; на фиг.3 — разрез Б-Б на фиг.2; на фиг.4 — разрез В-В на фиг.2.

Устройство содержит поворотное основание 1, закрепленное на попео речных салазках 2 под углом 60 к оси центров токарного станка. На поворотном основании 1 жестко закреплены призматические направляющие 3 и 4, на которых установлен ползун-цилиндр 20

5, на последнем жестко установлен винт 6, несущий резцедержатель 7 с резцом 8.

К переднему торцу ползуна-цилиндра 5 прикреплена глухая крышка 9, а к другому торцу полэуна-цилиндра,обращенному к токарю, установлена вторая регулируемая крышка 10, имеющая уплотнительное кольцо Il. Через отверстие в крышке 10 проходит односто- - ронний шток 12 с поршнем 13, помещенным в отверстие ползуна-цилиндра 5.

Другая сторона штока 12 жестко прикреплена к вертикальной стойке 14, которой снабжено поворотное основание 1.35

Призматические направляюшие 3 и 4 с нижней, внутренней стороны имеют открытые боковые пазы, в которые помещена удлиненная планка 15, жестко прикрепленная к ползуну-цилиндру 5 с нижней стороны. Планка 15 удерживает ползун-цилиндр с резцедержателем 7 и резцами 8 и 16 от отрыва от призматических направляющих 3 и 4, а они, 45 в свою очередь — от поворотного основания 1, когда шпиндель станка с обрабатываемой деталью 17 вращается влево при наружной обработке, например отрезке или при обработке многоступенчатых отверстий, с правым вращением шпинделя и опущенной режущей гранью резца 16 вниз.

Корпус 18 золотника 19 выполнен заодно целое с ползуном-цилиндром 5.

В отверстие корпуса 18 запрессована втулка 20, снабженная кольцевой канавкой, в которой выполнены два боковых отверстия (не показаны).

5 2

Втулка 20 имеет продольное отверстие, в котором помещен подвижный золотник с наружной канавкой, расположенной в середине.

В отверстие золотника 19 установлены пружина 21 и удлиненный стержень 22 с помещенной на нем пружиной

23, а также сферическая шайба 24.Под ,действием пружины 23 сферическая шайба 24 контактирует с поверхностью щуподержателя 25, несущего щуп 26, предназначенный для продольного точения сложных наружных и внутренних поверхностей на обрабатываемой детали 17.

Кроме того, на резьбовую сторону удлиненного стержня 22 поставлена вторая сферическая шайба 27, на которой помещен поворотный нониус 28 и навинчена специальная гайка 29, имеющая впереди выточку, в которую входят сферические шарнирные рожки

30 второго поворотного щуподержателя

31 со щупом 32, предназначенным для обработки сложных торцовых поверхностей.

Для предотвращения от разворота сферические шайбы 24 и 27 входят в окно, которым снабжен щуподержатель

25.

На удлиненный стержень 22 навинчена контргайка 33. Сзади корпуса золотника установлен кронштейн 34 и винт 35. На кронштейне 34 помещен подвижный корпус 36, который несет на себе оба поворотных щуподержателя

25 со щупом 26 и 31 со щупом 32 .

Винт 35 служит для перемещения корпуса 36 в осевом направлении относительно центров станка, что необходимо для согласования с первыми ступеньками копира 37 щупа 26 и резца 8 с целью получения первого заданного линейного размера на обрабатываемой детали.

В кронштейне 34 установлен зксцентриковый вороток 38, нижняя сторона которого контактирует с подвижным золотником 19. Вороток 38 служит для ручного управления золотником во время подвода и отвода резцов 8 и 16.

На поперечных салазках 2 с двух сторон установлены направляющие кронштейны 39 и 40, в которые вставлена продольная копирная линейка 41 с копиром 37 для продольного точения и вторая копирная линейка 42 с копиром

3 131О

43 ггля торцового точения сферических и других поверхностей.

Для удержания продольной копирной линейки в осевом положении служит упор 44, жестко укрепленный на стани- 5 не станка с правой стороны продольного суппорта 45. Упор 44 имеет поперечное ребро 46, с вертикальными стенками которого контактируют ролики 47, установленные с правой сторо- 10 ны копирной линейки 41.

Поперечная копирная линейка 42 помещена в направляющем кронштейне 39, в его поперечном пазу. Копирная линейка одной стороной жестко укрепле- 15 на на поперечных салазках суппорта

45 токарного станка, с противоположной стороны, т.е. эа линией центров станка.

Для фиксации щуподержателей со щу-211 пами в заданном положении служит винт 48.

Предлагаемое устройство работает следующим образом.

После установки и закрепления де- 25 тали на станке с жесткой фиксацией в осевом положении включается гидронасос, установленный на отдельной гидростанции. Масло под давлением попадает в гидроцилиндр-ползун 5 и по 30 каналам, выполненным в полэуне, — в золотник 19. В таком положении резец

8 подводится к торцовой поверхности обрабатываемой детали 17 до соприкосновения с ее торцом. Затем резец отводится "на себя", т.е. в радиальном направлении. Далее настраивается — согласуется щуп 26 гидроследящего золотника 19 со ступенькой копира

37 в заданном осевом положении, для 40 чего вращением микрометрического винта 35 перемещают подвижный корпус 36 со щуподержателем 25 и щупом 26 до тех пор, пока щуп 26 не соприкос1 l5 4 нется с поверхностью первой ступеньки копира 37, после чего подвижный корпус стопорится с помощью винта 48.

Далее начинается предварительная обточка многоступенчатой детали по копиру с помощью гидрокопировального устройства. Проверяется первый линейный размер; если он не соответствует номиналу, то настройка щупа на тре1 буемую величину повторяется описанным способом, без осевого смещения всей копирной линейки н копира. После чего поворачивают реэцедержатель вокруг оси винта, в работу вступает второй резец для чистовой обработки и ведется чистовая обточка точных диаметральных размеров. Подача резца на заданную малую глубину резания осуществляется вращением специальной гайки.

Формула изобретения

Гидрокопировальное устройство для универсального токарного станка, содержащее основание, резцедержатель с резцом, установленный на корпусе гидроцилиндра, шток поршня которого закреплен на основании, плоский копир, установленный на поперечном суппорте станка, щуподержатель со щупом, установленный посредством кронштейна на корпусе однокромочного золотника с возможностью взаимодействия щупа с копиром, о т л и ч а ю щ е е с я тем, что, с целью повышения производительности и качества обработки путем изменения расстояния между кромкой золотника и острием щупа, золотник гидроцилиндра снабжен подпружиненным относительно кронштейна стержнем, установленным с возможностью взаимодействия со щуподержателем.

1310115

l3l0115

131011 5

Составитель Г.Баринов

Редактор Н.Хиштулинец Техред П.Олейник Хорректор М.Шароши

Заказ 182б/10 Тираж 976 Подписное

ВНИИПИ Государственного комитета СССР по делам изобретений и открытий

113035, Москва, Ж-35, Раушская наб., д.4/5

Производственно-полиграфическое предлриятие,г.ужгород,ул.Проектная,4