Бытовая вязальная машина
Иллюстрации
Показать всеРеферат
СОЮЗ СОВЕТСНИХ
СОЦИАЛИСТИЧЕСКИХ
РЕСПУБЛИН (51)4 D 04 В 7/08
ВГ Г Ча 1l g, l3, 13
i rОПИСАНИЕ ИЗОБРЕТЕНИЯ
К А BTOPCHOMY СВИ4ЕТЕЛЬСТВУ 3
CO
Cb
К) ГОСУДАРСТВЕННЫЙ НОМИТЕТ СССР
ПО ДЕЛАМ ИЗОБРЕТЕНИЙ И ОТКРЫТИЙ (21) 3734945/28-12 (22) 29.04.84 (46) 30.01,88. Бюп. М - 4 (71) Ленинградское машиностроительное объединение им. К.Маркса (72) В.Л,Иорш и И.P.Øòåðí (53) 677,661.024 (088,8) (56) Патент ФРГ N 1171555, кл, 25а 31, 1964. (54) (57) 1, БЫТОВАЯ ВЯЗАЛЬНАЯ МАШИНА, содержащая игольницу, в горизонтальных пазах которой установлены язычковые иглы, расположенные между иглами со стороны их крючков отбойные зубья с передними и боковыми кромками, каждый из которых сориентирован в вертикальной плоскости, и оттяжной механизм, отличающаяся тем, что, с целью повышения качества вырабатываемого полотна и повышения удобства обслуживания, передняя кромка каждого отбойного зуба выполнена
ÄÄSUÄÄ 1370162 А1 по дуге окружности, а боковые расположень| наклонно к его оси, при этом оттяжной механизм содержит пару зубчатых роликов соосно установленнь1х на вертикальной оси с возможностью возвратно-поступательного перемещения вдоль игольницы и обкатывания соответствующих их высоте относительно дна игольного паза участков отбойнь|х зубьев, причем участок дна каждого игольного паза со стороны отбойных зубьев выполнен наклонным к оси зубчатых роликов механизма оттяжки, а каждый отбойный зуб установлен с возможностью охвата наклонного участка дна игольного паза.
2. Машина по п,l о т л и ч а ю— щ а я с я тем, что угол наклона участка дна игольного паза со стороны отбойных зубьев составляет от 3 до 50 к его п1.одольной оси, а угол наклона боковых кромок каждого зуба о к его оси составляет от 3 до 25
70162 2 нах, предназначенных для изготовленияя трикотажных иэделий в домашних условиях.
Цель изобретения — повышение качества вырабатываемого полотна и повышение удобства обслуживания.
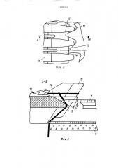
На фиг,l показана плосковяэальная машина, разрез; на фиг,2 — передняя часть игольницы, вид сверху; на фиг.3 — разрез А-А на фиг.2; на фиг.4 — расчетная схема, вид сверху.
На станине 1 (фиг,l) бытовой вязальной машины крепится игольница 2.
На игольнице закреплены рельсы 3 и 4, по которым перемещается каретка 5.
На каретке установлен кронштейн 6, на котором смонтированы ролики 7 и 8, служащие для оттяжки трикотажа, Игольница 2 снабжена пазами 9, в которых размещены яэычковые иглы 10.
В передней части игольницы выполнены отбойные зубья 11, имеющие передние 12 (фиг,2) и боковые 13 кромки. Отбойные зубья расположены на обеих сторонах передней части игольницы, Вся игольница вместе с отбойными зубьями изготовлена из пластмассы — поликарбонатной смолы
"Дифлон", Боковые кромки 13 отбойных зубьев в своей передней части наклонены под углом от 3 до 25 к оси отбойного зуба. Передние кромки 12 отбойных зубьев образованы дугами окружностей, радиус которых определяется иэ расчетной схемы, приведенной на фиг.4. Учтено, что нить отходит от полотна 14 в точке пересечения передней и боковой кромок отбойного зуба, а игла находится в положении максимального кулирования.
Дно игольного паза в зоне отбойных зубьев образовано плоскостью 14 (фиг.3), направленной под углом, лежащим в пределах от 5 до 50, к оси игольного паза. Ролики 7 и 8, установленные на кронштейне 6, имеют возможность вращения при зацеплении с отбойными зубьями 11, Ролик 7 установлен на такой высоте, что он находится в зацеплении с отбойными
1 13
Изобретение предназначено для ис" пользования на бытовых вязальных маши15
50 зубьями выше передней кромки 15 игольницы 2. Ролик 8 находится в зацеплении с отбойными зубьями 11 ниже кромки 15. На ролике 8 имеются отбойные зубья конической формы, которые расположены в один или несколько рядов по окружности ролика, а также плоские зубья, при помощи которых происходит зацепление ролика с отбойными зубьями 11, Машина работает следующим образом.
При движении каретки 5 иглы 10 перемещаются под действием игольных замков по траектории, необходимой для осуществления процесса петлеобразования. Иглы, идущие на кулирование, иэгибают нить относительно отбойных зубьев 11, При этом угол охвата нитью отбойных зубьев относительно мал (фиг.4) вследствие того, что на передней кромке 12 отбойного зуба выполнено округление необходимого радиуса. Ролик 7, эацеплялцийся с боковыми кромками 13 отбойных зубьев, поворачивается и удерживает петли от перемещения вслед за иглами при подъеме игл на заключение. Ролик 8, находящийся в зацеплении с отбойными зубьями ниже кромки 15, оттягивает трикотаж и .препятствует протыканию крючками игл старых петель.
Использование предлагаемой конструкции позволяет значительно уменьшить углы охвата нитью отбойных зубьев и тем самым существенно снижает натяжение нити в процессе петлеобразования. Это дает возможность значительно облегчить обслуживание машины эа счет уменьшения усилия, необходимого для перемещения каретки. Предлагаемая форма отбойных зубьев позволяет разместить оттяжные ролики как выше, так и ниже передней кромки игольницы и тем самым уменьшить массу оттяжных гребенок и еще больше снизить усилие, необходимое для перемещения каретки.
Кроме того, уменьшение натяжения нити дает возможность перерабатывать пряжу высоких номеров, а также низкосортную пряжу, 1370162
13
Фиг, 2
1370162
Составитель О.Лункина
Техред М.Ходанич
Редактор М.Недолуженко
Корректор Л,Патай
Тираж 413
ВНИИПИ Государственного комитета СССР по делам изобретений и открытий
113035, Иосква Ж-35, Раушская наб., д.4/5
Заказ 375/24
Подписное
Производственно-полиграфическое предприятие, г.ужгород, ул.Проектная,4



