Штамп для изготовления пружинных стопорных колец

Иллюстрации

Показать все

Реферат

 

Изобретение относится к штампам для изготовления пружинных стопорных колец и позволяет расширить технические возможности за счет отгибки наружу коротких концов колец. Штамп содержит верхнюю н нижнюю плиты. На верхней плите жестко закреплен пуансон 4, в центральной части которого выполнен паз 5. В паз 5 установлен прижимвьпалкиватель 6. На нижней плите закреплена опраака 11 с продольным пазом, в котором жестко закреплена встззкэ 14. В нижней части пуансона 4 по обе стороны от прижима-вытзлкмвзтеля выполнены ступеньки 15 и 16. Нижние ступеньки 15 имеют гибочные участки , а верхние ступеньки 16 - режущие кромки. Вставка 14 выступает над поверхностью справки i ,образованием ступеньки . Боковые поверхности выступающей части вставки 14 обрао/ют с верхними ступеньками 16 режущее пары, а нижние ступеньки 15 пуансонз 4 совместно с верхней поверхностью оправки образуют гибочные пары . 6 ил.

СОЮЗ COBETCMX

СОЦИАЛИСТИЧЕСКИХ

РЕСПУБЛИК

09) 0 I) (э))5 В 21 F 37/02

9 б

11

ГОСУДАРСТВЕННЫЙ КОМИТЕТ

ПО ИЗОБРЕТЕНИЯМ И ОТКРЫТИЯМ

ПРИ ГКНТ СССР

К АВТОРСКОМУ СВИДЕТЕЛЬСТВУ (21) 4467043/12 (22) 22.07.88 (46) 15.04.91. Бюл. %14 (71) Мелитопольский моторный завод (72) В.П.Кругликов (53) 621.778.28 (088.8) (56) Авторское свидетельство СССР йя 1177014, кл. В 21 F 37/02, 1985. (54)ШТАМП ДЛЯ ИЗГОТОВЛЕНИЯ ПРУ.ЖИННЫХ СТОПОРНЫХ КОЛЕЦ (57) Изобретение относится к штампам для изготовления пружинных стопорных колец и позволяет расширить технические возможности за счет отгибки наружу коротких концов колец. Штамп содержит верхнюю и нижнюю плиты. На верхней плите жестко закреплен пуансон 4, в центральной части которого выполнен паэ 5. В паз 5 установлен при>кимвыталкиватель 6. На нижней плите закреплена оправка 11 с продольным пазом, в котором жестко закреплена вставка 14. В нижней части пуансона 4 по обе стороны от прижима-выталкивателя выполнены ступеньки l5 и 16.

Нижние ступеньки 15 имеют гибочные участки, аверхние ступеньки,16 - режущие кромки, Вставка 14 выступает над поверхностью оправки 1,:; образованием ступеньки. Боковые поверхности выступающей части вставки 14 образуют с верхними ступеньками 16 режущие пары, а нижние ступеньки 15 пуансона 4 совместно с верхней поверхностью оправки образуют гибочные пары. б ил.

1641493

Изобретение относится к обработке металлов давлением, в частности к оснастке для холодной щтамповки, и может быть использовано для изготовления деталей типа пружинных проволочных колец с отогнутыми наружу короткими концами.

Цель изобретения — расширение технических возможностей за счет отгибки наружу коротких концов колец.

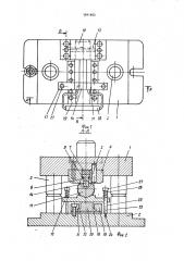
" На фиг.1 изображен штамп совмещенного действия, общий вид; на фиг.2 — разрез

А — А на фиг.1; на фиг.3 — разрез Б — Б на фигЛ; на фиг.4 — узел! на фиг.2; на фиг.5— заготовка; на фиг.б — готовая деталь, Штамп совмещен ного действия содержит верхнюю плиту 1 и нижнюю плиту 2 с направляющими колонками 3. В верхнюю плиту врезан и жестко прикреплен к ней пуансон 4, в центральной части которого выполнен паз 5, . В паз 5 установлен прижим-выталкиватель

6. Прижим-выталкиватель 6 падпружинен в вертикальной плоскости, для этого в зазор между верхней плоскостью прижима-выталкивателя 6 и нижней плоскостью верхней плиты 1 помещен буфер 7 в виде пружины или упругого вещества, При атом заплечики

8 прижима-выталкивателя 6 контактируют са ступеньками 9 пуансона 4, а нижняя кромка прижима 6 расположена на уровне или ниже нижней плоскости пуансона 4, К нижней плите 2 прикреплен KpoHtBTGAH

10, на котором кансольно закреплена цилиндрическая оправка t1, например, посредством штифта 12. В верхней части оправки 11 имеется продольный паз, в котором жестка закреплена посредством винтов 13 вставка

14, выступающая над поверхностью оправки

11 с образованием ступеньки, Ширина вставки 14 соответствует ширине прижима 6, 8 нижней части пуансона 4 по обе стороны от прижима-выталкивателя 6 выпалненысимметрично ступеньки 15 и 16. Ступенька

15 пуансона 4, выступающая часть вставки и оправка 11 образуют гибочный узел, при этом высота ступеньки 15 соответствует высоте огибаемого конца. Ширина ступеньки 16 соответствует толщине проволоки. Верхняя ступенька 16 образует с боковой кромкой выступающей части вставки.14 режущую пару, Ддя предотвращения прогиба оправки 14 ее свободный конец поддерживается снизу подпружиненной опорой 17 узла поддержки консоли. Этот узел включает также жестко прикрепленные к нижней плите 2 через прокладку 18 направляющие планки 19 и клиновую ползушку 20. В направляющих планках

19 выполнены параллельна продольной аси оправки 11 разы 21, в которые установлены выступы 22 ползушки 20, которая может перемещаться в горизонтальной плоскости.

Опора 17 расположена над ползушкой 20, при этом ее верхняя поверхность соответст5 вует форме оправки 11 в месте контакта, а нижняя наклонена вдоль продольной оси палзушки 20 в направлении от закрепленного конца оправки к свободному. Угол наклона нижней плоскости опоры соответствует углу наклона верхней плоскости ползушки

20 и не превышает угла самоторможения, а направление наклона противоположное.

Опара 17 связана с нижней плитой 2 посредс вам па меньшей мере двух направляющих элементов 23. Элемент 23 имеет резьбавой участок 24, который ввинчен в плиту 2, и гладкий участок 25, который проходит сквозь отверстие в опоре 17, На гладкий участок 25 надета нижняя пружина 26, которая расположена между головкой 27 направляющего элемента 23 и верхней плоскостью опоры 17 и воздействует на опору

17. Палэушка 20 снабжена ручкой 28.

Штамп работает следующим образом.

Ползушку 20 за ручку 28 выдвигают из пад оправки 1 по направляющим планкам

19 (или же при обратном угле наклона вдвигают). Наклонная поверхность ползушки 20 скользи.- па наклонной поверхности опоры

17, при этом под воздействием пружины 26 опора 17 опускается по направляющим элементам 23 вниз, освобождая пространство

35 для установки заготовки.

Заготовку для колец, выполненную в виде пружины из определенного количества витков проволоки (в зависимости от длины оправки и толщины проволоки), надевают

40 на оправку 11 со вставкой 14 до упора в кронштейн 10.

Вдвигают палзушку 20 па направляющим плaíêàì 19, при этом наклонная поверхность ползушки 20 скользит по наклонной. поверхности опоры 17, в результате чего последняя. перемещаясь вверх по направляющим элементам 23, сжимая пружину 26, контактирует своей верхней поверхностью со свободным концом оправки 11, в результате чего создается надежная опора свободного конца оправки 11 и увеличиваетсяжесткость системы.

При ходе верхней плиты 1 вниз прижимвыталкиватель 6 доходит до заготовки, расположенной на оправке 11 со вставкой f4, и

5 . останавливается, прижимая заготовку к вставке 14. Плита 1 продолжает опускаться, при этом подпружиненный прижим-выталкиватель 6 остается на месте, за счет сжатия буфера 7 еще плотнее прижимая заготовку

1641493 к вставке 14, а ступеньки 15, вступив в контакт с заготовкой, при дальнейшем опуска- нии плиты 1 осуществляют гибку заготовки на оправке 11 и вставке 14. При этом засчет наличия в верхней части оправки 11 ступеньки, образованной выступающей частью вставки 14, и ступенек 15 в пуансоне 4 происходит образование выступов, отогнутых наружу. При дальнейшем опускании плиты

1 ступеньки 16 и боковые кромки вставки 14 начинают надрезку материала, а процесс гибки продолжается. В конце хода плиты 1 происходит полное отделение отхода от детали и формирование отогнутых наружу концов пружинного проволочного кольца.

Йри движении плиты 1 вверх прижим-вытал«иватель 6, перемещаясь вниз под действием буфера, выталкивает отход. Выдвигают ползушку 20 и после опускания опоры 17 снимают с оправки 11 готовые детали, . Предлагаемый штамп может быть использован не только при работе с заготовками в виде проволочных пружин, но, например, для отбортовки коротких краев 8 заготовке типа трубы или любого другого профиля, а также для получения отбортовок различной высоты с двух сторон.

При использовании изобретения по с равнению с прототипом достигается изготовление в штампе за один ход ползуна деталей типа пружинных проволочных колец с отогнутыми наружу короткими концами и повышение производительности штампа, Выполнение очень коротких отогнутых наружу концов проволоки или краев других заготовок осуществляется за счет установки в паэ оправки выступающей вставки, обеспечивающей совместно с оправкой и пуансоном отгибание выступа в верхней части заготовки и совместно с отрезными ступеньками пуансона удаление отхода.

Это позволяет механизировать технологическую операцию, осуществляющуюся ранее только вручную при помощи слесарного инструмента, и тем самым повысить производительность труда.

Формула изобретения

Штамп для изготовления пружинных стопорных колец с отогнутыми концами, содержащий верхнюю плитусжестко закрепленным ступенчатым гибочно-отрезным пуансоном, а также связанный с верхней плитой подпружиненный в вертикальной плоскости прижим-выталкиватель и нижнюю плиту, на которой консольно закреплена оправка, имеющая в верхней части продольный паз с размещенной в нем вставкой с режущей кромкой, отличающийся тем, что, с целью расширения технических возможностей за счет отгибки наружу коротких концов колец, прижим-выталкиватель размещен в пазу, выполненном в центральной части пуансона, ступеньки пуансона выполнены на внутренней поверхности паза по обе стороны прижима-выталкивателя, при этом нижние

30 ступеньки имеют гибочные участки, а верхние — режущие кромки, вставка выступает над поверхностью оправки с образованием ступенек, причем боковые поверхности выступающей части вставки образуют с верх35 ними ступеньками пуансона режущие пары, а нижние ступеньки пуансона совместно с верхней поверхностью оправки образуют гибочные узлы.

f1 28 д

Й Л _#_ О /УГУ Риз. g

1641493 б- б поРерну по

Ф

f1

f7

28

f8 Фиг. д

Составитель А.Ксенофонтов

Редактор Н.Киштулинец Техред Э.Цаплюк Корректор Е.Дормидонтова

Заказ 1106" Тираж 358 Подписное

ВНИИПИ Государственного комитета по изобретениям и открытиям при ГКНТ СССР

113035, Москва, Ж-35, Раушская наб., 4/5

Производственно-издательский комбинат "Патент", r. Ужгород, ул,Гагарина, 101