Устройство для смазки машины для испытаний подшипников качения

Иллюстрации

Показать все

Реферат

 

Изобретение относится к устройствам для смазки машины, в частности при сокращенных испытаниях на долговечность подшипников качения при высоких нагрузках. Оно состоит из насосного механизма и бака для смазочного масла, внутреннее пространство которого разделено перемычкой на входное и выходное пространства, соединенные с перемычкой, в которую заходит входной патрубок. В выходное и входное пространства выходят трубопроводы насосов, электтродвигатели которых закреплены на крышке бака Устройство содержит также блок охлаждения смазочного масла. 9 з. п. ф-лы, 4 ил.

СОК)З СОВЕТСНИХ

СОЦИАЛИСТИЧЕСНИХ

РЕСПУБЛИН

1691656 А 1 (19) 01 (51)5 F 16 N 39 02

ОПИСАНИЕ ИЗОБРЕТЕНИЯ

Н ABTOPCHOMV СВИДЕТЕЛЬСТВУ ва вносятся в испытываемые подшипники, что оказывает отрицательное влияние на испытание.

Цель изобретения — повышение надежности устройства.

Это достигается тем, что бак закрыт сверху одностворчатой или многостворчатой крышкой и в нем помещена перемычка, разделяющая внутреннюю часть бака на входное и выходное пространства, соединенные взаимно соединяющими пространствами. Во внутреннее пространство перемычки, в периметрической стене которой со стороны входного пространства образован проход, пропущен с зазором входной патрубок. В выходном пространстве бака установлен выходной насос с электродвигателем, закрепленным на крышке бака. Отводящий трубопровод выходного насоса снабжен очистителем и регулирующим вентилем. Во входном пространстве бака установлен циркуляционный насос с окружным трубопроводом, введенным наконечником в выходное пространство бака.

ГОСУДАРСТВЕННЫЙ КОМИТЕТ

tl0 ИЗОБРЕТЕНИЯМ И ОТНРЫТИЯМ

ПРИ ГКНТ СССР (89) CS/248662 (48) 28. 10. 86 (21) 7773685/29 (.22) 17. 12. 84 (46) 15.11.91. Бюл. № 42 (31) PV 261!-84 (32) 05.04.84 (33) CS (71) ЭВЛ Научно-исследовательский институт подшипников качения, организация концерна ЭВЛ Брно (CS) (72) Ратгуски Иржи (CS} (53) 621.89(088.8) (54) УСТРОЙСТВО ДЛЯ СМАЗКИ МАШИНЫ ДЛЯ ИСПЫТАНИЙ ПОДШИПНИКОВ КАЧЕНИЯ

Изобретение относится к устройствам для смазки машины для испытаний подшипников качения.

Во время испытания подшипников качения на испытательных машинах для смазки применяется, как правило, масло, которое особенно в процессе сокращенных испытаний на долговечность, когда вызывается значительно большая нагрузочная сила, обеспечивает,кроме смазки рабочих поверхностей подшипников, также отвод возникшего тепла.

Известное смазочное устройство состоит из смазочного бака, насоса и расположенного в баке автомобильного охладителя.

Масло охлаждается за счет протекания воды охладителем (см. патент Великобритании № 1552866, кл. F 16 U 39/02, 1979). Недостатком данной компоновки являются незначительная охлаждающая способность, частая повреждаемость, связанная с проникновением воды в масло, в результате чего обесценивается закладка масла или же обесценивается все испытание. Продукты изнашивания испытываемых подшипников сно(57) Изобретение относится к устройствам для смазки машины, в частности при сокращенных испытаниях на долговечность подшипников качения при высоких нагрузках.

Оно состоит из насосного механизма и бака для смазочного масла, внутреннее пространство которого разделено перемычкой на входное и выходное пространства, соединенные с перемычкой, в которую заходит входной патрубок. В выходное и входное пространства выходят трубопроводы насосов, электтродвигатели которых закреплены на крышке бака. Устройство содержит также блок охлаждения смазочного масла. 9 з. п. ф-лы, 4 ил. з 1691656 4

Сущность изобретения состоит в том, что в окружном трубопроводе циркуляционного насоса встроен обменн«к, который расположен s!;e бака. В цепь электродв«гателя циркуляционного насоса подключен управляющий терморегулирующий элемент. Во внутреннем пространстве перемы.- ки и/или вокруг циркуляционного насоса, и/или вокруг наконечника расположен блок охлаждения. Блок охлаждения образован по крайней мере двумя трубками в форме концентрических винтовых линий, закрытых снизу сосудом и закрепленных сверху в носителе, зафиксированном на крышке бака, причем трубки взаимно соединены и закончены входным и выходным присоединениями охлаждаюшего средства. Перед входным присоединением или за выходным присоединением подклю чен электромагнитный вентиль, к электрической цепи которого подключен. управляющий терморегулируюший элемент. Под проходом перемычки установлены постоянные магниты. Постоянные магниты выполнены с различной формой кольцевых дисков и расположены с зазором между торцами на штангах. Во внутреннем пространстве перемычки установлены седиментационные переборки. В баке встроено нагревающее тело, к электрической цепи которого подключен терморегулирующий элемент.

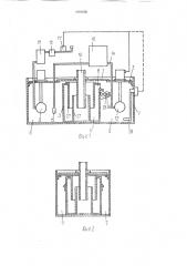
Устройство для смазки испытатель«ой машины в соответствии с изобретс-.нием хематически изображено на чертеже, представляюгцем на фиг. фронтальное и;!à фиг. 2 боковое сечение общей компоновки На фиг. 3 изображено фронтальное и на фиг. 4 боковое сечение другого возможного вариa«та исполнения устройства в соответстпи.; с изобретением.

Устройство (фиг. 1 и 2) состоит из бака 1 для смазочного масла„ закрытого csepxy одностворчатой или многостворчатой крышкой 2. Внутри бака 1 помещена перемычка 3, разделяющая внутреннюю асть данного бака 1 на входное 5 и выходное 6 пространства, соединенные взаимно ссединяющими пространствами 7. Перемычка 3 может быть съемной или крепко встроенной в баке 1. Во внутреннее пространство 4 перемычки 3, в которой встрое Iы се,,иментацион«ые переборки 27, прону«цен с зазором входной патрубок 10. В «ериметрической стене перемычки 3 со стороны входного пространства 5 образован проход 8 в форме вь, емки.

Под проходом 8 перемычки 3 расположены постоянные магниты 25, на«ример, формы кольцевых дисков, помещенных взаимно перекрестно на штангах 26. В выходном пространстве 6 бака 1 встроен выходной насос 9, управляемый электродвигателем, закрепленным на крышке 2 бака !. Отводягций трубопровод выходного насоса 9 набжен очистителем 11 и регулируюьцим вентилем 12. Во входном пространстве 5 ба5

Н

i.3

55 ка 1 установлен циркуляционный насос 13, управляемый электродвигателем, закрепленным на крышке 2 бака 1. Циркуляционныи насос 13 снабжен окружным трубопроводом 14, введенным наконечником 15 в выходное пространство 6 бака 1. В окружном трубопроводе 14 циркуляционного насоса 13 встроен обменник 16, расположенный вне бака 1. В цепь электродвигателя циркуляционного насоса !3 подключен управляющий терморегулируюгций элемент 17.

Терморегулирующий элемент 17 управляет электродвигателем циркуляционного насоса 13 и протеканием охлаждающего средства обменника 16. Терморегулирующий элемент 17 может быть при случае подключен к электрической цепи нагревающего тела 28, встроенного в баке !. Нагреваю»цее тело 28 служит для подогрева смазки до определенной температуры в начале испытания.

Другое возможное исполнение устройства в соответствии с изобретением, изображенное на фиг. 3 и 4, отличается от предыдушего тем, что у него во внутреннем пространстве 4 перемычки 3, вокруг циркуляционного насоса 13 и вокруг наконечника 15 расположены блоки 18 охлаждения. В изображенной компоновке блок 18 охлаждения образован системой двух трубок 2! в форме концентрических винтовых линий. Трубки 21 взаимно со .. IH«ei« ": закончены На Одном .сонно входным при::единением 19, а на вто;:.ом конце пыходньп" присоединением 20 охлж:даюш.го средства. Снизу система трубо., 2! закрыта сосудом 22. Сверху трубки 21 закреплены в носителе 23, зафиксирован»ом на крышке 2 бака l. Перед выходными присоединениями 19 включен электромагнитный вентиль 24, к электрической цепи которого подключен управляющий терморегулирующий элемент 17. Электромагнитный вентиль 24, которым управляется протекание охлаждающего средства блоков 18 охлаждения, может быть включен также за выхсдными присоединениями 20. Устройство может быть снабжено элементами индикации и управлен«я, например, указателем давле«ия смазочного мас.та, напорным выклю.; ателем и г и

1одогрстая смаз;".a с наличием продуктов износа ис ьп ываемых подшипников при екает из испытательной машины входным патрубком 10 во внутреннее пространство 4 перемычки 3, где путем седиментации улавливаются более крупные -:истицы и, пр«слу-ие, смазка охлаждается в блоке 18 охлаждения. Из перемычки 3 смазка стекает проходом 8 во входное пространство 5 бак» !.

Постоянные магниты 25 под проходом 8 задерживают ферромагнитные частицы. За счет работы выходного насоса 9 и циркуляционно. о насоса 13 смазка протекает из входного пространства 5 соединяюшими пространствами 7 в выходное пространство 6 ба1691656 ка 1 и наоборот, причем усиливается теплопередача из перемычки 3 в бак 1 и в окру жающую среду.

При высшей температуре смазки приводится в действие циркуляционный насос 13, 5 управляемый терморегулирующим элементом 17, который вызывает протекание смазки окружным трубопроводом 14 и наконечником 15 в выходное пространство 6, причем смазка охлаждается блоками 18 охлаж- !0 дения, расположенными вокруг циркуляционного насоса 13 или наконечника 5.

Из выходного пространства 6 смазка, лишенная преимущественной части продуктов износа, с определенной температурой подается при помощи выходного насоса 9 через очис- 15 титель 11 и регулирующий вентиль 12 трубопроводом в испытательную машину.

Устройство в соответствии с изобретением гарантирует долгосрочное соблюдение производственных параметров смазки, т. е. количество, химический состав, вязкость, температуру и чистоту смазочного масла и тем самым безаварийную работу испытательной машины и воспроизводимость испытаний. Не встречается вредное проникновение охлаждающей воды в смазку и в про- g5 цессе испытания не обесцениваются ни подшипники качения, ни закладка масла. Кроме того, нет занесения возникающих продуктов износа на рабочие поверхности испыть|ваемых подшипников, а следовательно, обесценивания испытаний. Вследствие регулируе- 30 мого охлаждения масла повышается точность результатов испытаний, что позволяет использовать автоматическое производство, не требующее обслуживания машины. Применение устройства в соответствии с изобретением особенно выгодно для сокращенных 35 испЫтаний на долговечность подшипников качения, выполняемых под воздействием высокой нагрузки.

Формула изобретения

1. Устройство для смазки машины для испытаний подшипников качения, состоящее из бака для смазочного масла и насосного механизма, отличающееся тем, что бак 1 закрыт сверху одностворчатой или 45 многостворчатой крышкой 2 и в нем поме- щена перемычка 3, разделяющая внутреннюю часть бака 1 на входное 5 и выходное 6 пространства, соединенные взаимно соединяющими пространствами 7, а во внутреннее пространство 4 перемычки 3, в пери- 50 метрической стене которой со стороны входного пространства 5 образован проход 8, пропущен с зазором входной патрубок 10, причем в выходном пространстве 6 бака 1 установлен выходной насос 9 с электродвигателем, закрепленным на крышке 2 бака 1, и отводящий трубопровод выходного насоса 9, который снабжен очистителем 11 и регулирующим вентилем 12, а во входном пространстве 5 бака 1 установлен циркуляционный насос 3 с окружным трубопроводом 14, введенным наконечником 15 в выходное пространство 6 бака 1.

2. Устройство по п. 1, отличающееся тем, что в окружной трубопровод 14 циркуляционного насоса !3 встроен обменник !6, который расположен вне бака 1.

3. Устройство по п. 1, отличающееся тем, что в цепь электродвигателя циркуляционного насоса 13 подключен управляющий терморегулирующий элемент 17.

4. Устройство по п. 1, отличающееся тем, что во внутреннем пространстве 4 перемычки 3 и/или вокруг циркуляционного насоса 13 и,/или вокруг наконечника 15 расположен блок 18 охлаждения.

5. Устройство по п. 4, отличающееся тем, что блок 18 охлаждения образован по крайней мере двумя трубками 21 в форме концентрических винтовых линий, закрытых внизу сосудом 22 и закрепленных сверху в носителе 23, зафиксированном на крышке 2 бака 1, причем трубки 21 взаимно соединены и закончены входным 19 и выходным 20 присоединениямии охлаждающего средства.

6. Устройство по п. 5, отличающееся тем, что перед входным присоединением 19 или за выходным присоединением 20 подключен электромагнитный вентиль 24, к электрической цепи которого подключен управляющий терморегулирующий элемент 17.

7. Устройство по п. 1, отличающееся тем, что под проходом 8 перемычки 3 установлены постоянные магниты 25. .8. Устройство по п. 7, отличающееся тем, что постоянные магниты 25 выполнены с различной формой кольцевых дисков и расположены с зазором между торцами на штангах 26.

9. Устройство по п. 1, отличающееся тем, что во внутреннем пространстве 4 перемычки 3 установлены седиментационные переборки 27.

10. Устройство по п. 1, отличающееся тем, что в баке 1 встроено нагревающее тело 28, к электрической цепи которого подключен управляющий терморегулирующий элемент 17.

1691656

169!656

Составитель И. Пащенко

Редактор И. Касарда Техред А. Кравчук Корректор Н. Ревская

Заказ 3920 Тираж Подп и с ное

ВНИИПИ Государственного комитета по изобретениям и открытиям при ГКНТ СССР

I !3035, Москва, )К вЂ” 35, Раушская наб., д. 4я

Производственно-издательский комбинат «Патент», г. Ужгород, ул. Гагарина, IOI