Зажим для печатных плат
Иллюстрации
Показать всеРеферат
Использование: закрепление печатных плат в электронных блоках. Сущность изобретения: устройство содержит корпус с опорной площадкой для печатной платы, планку и прижимные рычаги с шарнирными запорами. Опорная площадка размещена на выступе прямоугольного сечения со скосами , выполненными в корпусе, и прижимная планка надета на выступ, что повышает быстродействие и надежность зажима. 1 з.п. ф-лы, 3 ил.
СОЮЗ СОВЕТСКИХ
СОЦИАЛИСТИЧЕСКИХ
РЕСПУБЛИК
ГОСУДАРСТВЕННЫЙ КОМИТЕТ
ПО ИЗОБРЕТЕНИЯМ И ОТКРЫТИЯМ
ПРИ ГКНТ СССР
ОПИСАНИЕ ИЗОБРЕТЕНИЯ
К АВТОРСКОМУ СВИДЕТЕЛЬСТВУ (21) 4733037/21 (22) 28.08.89 (46) 07,05.92. Бал. М 17 (71) Научно-производственное объединение
"Восток" (72) С.В.Лежнев (53) 62.396.049(088.8) (56) Каталог фирмы "Штрекфус" JlM 2001.
Патент США М 4486061, кл. Н 01 R23/70,,1984.
Изобретение относится к устройствам для зажимания печатных плат в контактных устройствах, технологических спутниках и используется в устройствах радиоэлектронной аппаратуры, проверочных стендах, установках для автоматического изготовления печатных плат и узлов, Известно устройство для фиксации плат, которое является составной частью спутника; Устройство имеет возможность перемещения в спутнике по размеру платы и фиксирует плату. Известная конструкция устройства для фиксации плат содержит планку, на которой крепятся прижимы в виде гнутых упругих пластин с зигзагом на конце.
Недостатком известного устройства для фиксации плат является то, что вследствие изменения формы упругих пластин под действием температур при пайке печатных плат, ухудшается .точность позиционирования платы и надежность ее крепления.
Известен также "П рижим" АЩУ
518.01.03.01.00, содержащий корпус, на котором крепятся ручка и система рычагов,соединенная с прижимным пальцем.
„„SU „„1732411 А1 (51)s Н 01 R 23/70, Н 05 К 1/18 (54) ЗАЖИМ ДЛЯ ПЕЧАТНЫХ ПЛАТ (57) Использование: закрепление печатных плат в электронных блоках. Сущность изобретения: устройство содержит корпус с опорной площадкой для печатной платы., планку и прижимные рычаги с шарнирными запорами. Опорная площадка размещена на выступе прямоугольного сечения со скосами, выполненными в корпусе, и прижимная планка надета на выступ, что повышает быстродействие и надежность зажима. 1 з,п. ф-лы, 3 ил..
Недостатком известного устройства является то, что фиксирование платы происходит не по всей длине, вследствие чего ухудшается жесткость и точность позиционирования платы.
Наиболее близким к предлагаемому устройству является зажим, содержащий корпус с опорной площадкой для печатной платы, зажим с прижимной планкой и упру- . гим направляющим элементом.
Недостатком известного устройства является то, что фиксирование платы происходит только под действием силы упругости направляющего элемента. Использование плат разных тол щин возможно также за счет упругости направляющего элемента„вследствие чего происходит нежесткое и нестабильное фиксирование платы.
Цель изобретения — повышение быстродействия и надежности зажима.
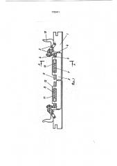
На фиг. 1 представлен зажим для печатных плат в рабочем положении. общий вид; на фиг, 2 — разрез А-.А на фиг. 1; на фиг, 3— часть устройства для зажима печатных плат в открытом положении.
Зажим для печатных плат содержит корпус 1 с опорной площадкой 2, на котором
1732411 размещены прижимные рычаги 3 с шарнирными запорами 4. Рычаги 3 смонтированы в корпусе 1 с возможностью взаимодействия с при>кимной планкой 5, выполненной П-образного сечения и установленной парал- 5 лельно опорной площадке 2. Спорная площадка 2 выполнена HB Bblc ll8 6 со скосами 7, выполненными в корпусе 1. Прижим ная планка 5 надета на выступ 6, В прижимной планке 5 выполнена дополни- 10 тельная полость 8 переменного сечения, Прижимные рычаги 3 соединены между собой жесткой тягой 9 с буртиком 10, которая пропущена через полость прижимной планки. На тяге 9 размещены пружины 11 сжа- 15 тия, каждая иэ которых зажата между буртиком 10 и стенкой 12 в дополнительной полости 8 пружиной планки 5, Рычаги 3 соединены с рукояткой 13. На шарнирных запорах 4 размещены регулирующие гайки. 20
Зажим для печатных плат работает следующим образом, В исходном положении (фиг. 3) рукоятка
:13 поднята вверх и прижимная планка 5 находится в.поднятом положении. На опор- 25 ную площадку 2 корпуса 1 устанавливается плата, Для зажимания платы необходимо рукоятку 13 опустить вниз. При этом прижимная планка 5 опустится на плату, а жесткал тяга 9 с буртами 10, перемещаясь в 30 прижимной планке 5, займет нужное положение. Пружины 11 удерживают прижимную планку 5 в среднем. положении относительно шарнирного запора 4. С помощью регулирующей гайки элемента шар- 35 нирный запор 4 может перемещаться вверх-вниз относительно опорной поверхности 2 корпуса 1, вследствие чего возможно применение плат разных толщин и регулируется усилие прижимания платы, Таким образом, плата зажимается между опорной поверхностью и прижимной планкой по всей ее длине, а узел зажима имеет жесткую рычажную систему, вследствие чего повышается жесткость и надежность зажима платы. сочетающаяся с удобством эксплуатации и быстротой замены платы.
Формула изобретения
1. Зажим для печатных плат, содержащий корпус с опорной площадкой для печатной платы, планку и прижимные рычаги с шарнирными запорами, при этом прижимные рычаги смонтированы в корпусе с возможностью взаимодействия с прижимной планкой, выполненной в виде П-образного сечения и установленной параллельнО опорной площадке, отличающийся тем, что, с целью повышения быстродействия и надежности зажима, опорная площадка для печатной платы размещена на выступе прямоугольного сечения со скосами, выполненном в корпусе, и прижимная планка надета на выступ.
2. Зажим поп, 1,отличаю щийcя тем, что в прижимной планке выполнена дополнительная полость переменного сечения, прижимные рычаги соединены между собой жесткой тягой с буртами, пропущенной через полость прижимной планки, на тяге размещены пружины сжатия, каждая из которых зажата между буртом тяги и стенкой в дополнительной полости прижимной планки.
1732411
1732411
Составитель H,ØMåëåâ
Редактор Г.Гербер Техред M.Ìîðãåíòàë Корректор Т.Малец
Заказ 1587 Тираж Подписное
ВНИИПИ Государственного комитета по изобретениям и открытиям при ГКНТ СССР
113035, Москва, Ж-35, Раушская наб., 4/5
Производственно-издательский. комбинат "Патент", г. Ужгород, ул.Гагарина, 101



