Устройство для двухсторонней гибки профилей

Иллюстрации

Показать все

Реферат

 

Использование: машиностроение. Сущность изобретения: устройство содержит установленные на станине каретку, связанную с приводом, на которой на осях с возможностью установочного поворота размещены копиры, гибочные элементы в виде гибочных призм, установленных в подпружиненных обоймах и связанны с индивидуальными приводами. Гибочные призмы размещены с возможностью обкатывания вокруг копиров. Копиры установлены в пазах каретки с возможностью взаимодействия с цилиндрическими упорами, закрепленными на станине, и подпружинены к каретке. Копиры имеют рабочую радиусную поверхность и наклонную поверхность, предназначенную для взаимодействия с цилиндрическими упорами. Гибочные призмы имеют заходную конусную и калибрующую части. 1 з.п.ф-лы, 4 ил,

СОЮЗ СОВЕТСКИХ

СОЦИАЛИСТИЧЕСКИХ

РЕСПУБЛИК (51)5 В 21 D 7/02

ГОСУДАРСТВЕННЫЙ КОМИТЕТ

ПО ИЗОБРЕТЕНИЯМ И ОТКРЫТИЯМ

ПРИ ГКНТ СССР

ОПИСАНИЕ ИЗОБРЕТЕНИЯ

К АВТОРСКОМУ СВИДЕТЕЛЬСТВУ (21) 4861745/27 (22) 21.05.90 (46) 30.09.92. Бюл. ¹ 36 (71) Уральский автомобильный завод им,60летия Союза CCP (72) Ю.И, Казымов (56) Авторское свидетельство СССР

N1292868,,кл. В 21 D 7/02, 1984. (54) УСТРОЙСТВО ДЛЯ ДВУХСТОРОННЕЙ

ГИБКИ ПРОФИЛЕЙ (57) Использование: машиностроение. Сущность изобретения: устройство содержит установленные на станине каретку, связанную с приводом, на которой на осях с возможностью установочного поворота

Изобретение относится к машиностроению и может быть использовано для гибочных операций различных профилей (полузамкнутого профиля).

Предлагаемое устройство предназначено для тибки обоймы рамки заднего окна кабины грузового автомобиля.

Имеется станок для двухсторонней гибки, где имеется каретка, на которой шарнирно закреплены угловые рычаги, в пазах которых расположены гибочные шаблоны.

Гибка изделия производится роликами, действующими от кривошипно-шатунного механизма.

Недостатком в работе этого станка является отсутствие механизма постоянного поджима обкаты вающих деталей к изделию, отсутствует компенсация износа гибочных деталей, после гибки остаются гофры.

Цель изобретения — повышение качества изделий полузамкнутой формы за счет исключения гофрообразования. Ы „„1764739 А1 размещены копиры, гибочные элементы в виде гибочных призм, установленных в подпружиненных обоймах и связанны с индивидуальными приводами, Гибочные призмы размещены с возможностью обкатывания вокруг копиров. Копиры установлены в пазах каретки с возможностью взаимодействия с цилиндрическими упорами, закрепленными на станине, и подпружинены к каретке. Копиры имеют рабочую радиусную поверхность и наклонную поверхность, предназначенную для взаимодействия с цилиндрическими упорами, Гибочные призмы имеют заходную конусную и калибрующую части, 1 з.п,ф-лы, 4 ил, Это достигается тем. что в устройстве для двухсторонней гибки профилей содержится установленная на станине каретка, связанная с приводом, на которой на осях с возможностью установочного поворота в пазах размещены копиры, имеющие цилиндрическую рабочую поверхность, гибочные элементы, связанные с индивидуальными приводами, установленные с возможностью обкатывания вокруг копиров зажим, поворотные рычаги, цилиндрические упоры, закрепленные на станине, а в каретке выполнены пазы, на копирах выполнены наклонные поверхности,и они установлены в пазах каретки с возможностью взаимодействия этой наклонной поверхности с цилиндрическими упорами, и подпружинены к ним, При этом гибочные рычаги снабжены осями с установленными на них подпружиненными обоймами, а гибочные элементы выполнены в виде призм, закрепленных в

1764739

40

45 отверстия, Гибочная призма 37 имеет пря- 50 моугольную форму, крепежные отверстия и паз, контактирующий с изделием и имеющий заходной конус и калибрующую часть.

Вал 38 соединяет два взаимодействующих

55 этих обоймах с заходной конусной и калибрующей частями.

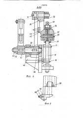
На фиг,1 показано устройство, общий вид; на фиг.2 — вид по стрелке А на фиг.1; на фиг.3 — вид сверху упор и призма с заходной и калибрующей частью, план; на фиг.4 — сечение Б — Б на фиг.1.

На подставе 1 закреплена станина 2, имеющая форму угольника с расположенными на-ней полкой и бобышками для размещения деталей клинового механизма, Кронштейн 3 соединен с силовым цилиндром 4, осью 5. Устройство содержит упор 6, контргайку 7, изделие 8, тяга 9 соединяет через ось 10 шток силового цилиндра с рычагом, передающим крутящий момент, Ось

11 крепит копиры в пазах каретки, Каретка 12 связана с приводом, имеет пазы, в которых на осях с возможностью установочного поворота размещены копиры, имеющие цилиндрическую рабочую поверхность.

Упор 13 имеет форму угольника, поджимает изделие к каретке. Пружинодержатель 14. Копир 15 имеет цилиндрическую рабочую поверхность, наклонную поверхность, контактирующую с цилиндрическим упором 16, и плоскостью прижимается пружиной 17, Направляющие 18 позволяют каретке перемещаться относительно станины, центрируют каретку, Втулка 19. Копир 20 имеет аналогичную форму копира 15, Упорный винт 21 взаимодействует с клином, ролик 22 с конусом клина. Шток 23 соединен с кареткой осью 24, имеет паз, в котором размещен ролик и упорный винт.

Клин 25 имеет цилиндрическую форму и конусные части с двух сторон, для воздействия через сопрягаемые детали, на шток передвигающий каретку. Втулка 26, ось 27.

Тяга 28 соединяет клин с силовым цилиндром 29. Рычаг 30 передает движение на детали обкатки.

Устройство содержит штифт 31, гайки

32, пробку 33. Пружина 34 поджимает обойму 35 к оси 36.

Обойма 35 имеет прямоугольную форму с пазом под призму и ось 36, крепежные рычага, передающих усилие. Шпонка 39

Кронштейн 40 служит опорой для сопрягаемых деталей, Рычаг 41 соединяет вал с тягой. Шайба 42, гайка 4. Упор 44, ограничивает люфт гибочного рычага 45, несущего детали обкатки. Упор 46 для установ5

30 ки изделия в определенном положении, Гайка 47, винт 48 для крепления упора.

Калибрующая часть призмы 49, заходный конус 50, В устройстве работа ют одновременно два гибочных узла с левой и правой стороны, Устройство работает следующим образом.

Изделие 8 устанавливается на базовую каретку 12 до упора 46. Включается силовой цилиндр 29, который через сопрягаемые детали клинового устройства перемещает каретку с изделием до упора 13, П роисходит зажим изделий.

Одновременно копиры 15, 20, закрепленные в пазах каретки осями 11, взаимодействуя с упорами 16, устанавливаются в рабочее положение R1, R2, Включается в работу силовые цилиндры 4, которые через сопрягаемые детали приводят в движение призмы 37, имеющие заходную и калибрующую части. Призмы 37 движутся по радиусу, производя гибку изделия до упора рычага 30 в винт 6. При этом призмы плотно прилегают к изделию эа счет вращения обоймы на оси 36 и поджима пружиной 34, После выполнения гиба изделия с 2-х сторон силовые цилиндры 4 переключаются на обратный ход. Призмы 37 занимают первоначальное положение. Переключается силовой цилиндр 29 на обратный ход. Каретка

12 вместе с изделием по направляющим 18 отходит в нижнее положение под действием штока 23, клин 25, упорного болта 21 и др. сопрягаемых деталей. Копиры 15, 20, взаимодействуя с цилиндрическими упорами 16 под действием пружин 17, занимают исходные положения, позволяющие свободно снять изделие с каретки.

Формула изобретения

1, Устройство для двухсторонней гибки профилей, содержащее установленные на станине каретку, связанную с приводом, на которой на осях с возможностью установочного поворота размещены копиры, имеющие цилиндрическую рабочую поверхность, гибочные элементы, связанные с индивидуальными приводами, установленные с возможностью обкатывания вокруг копиров, зажим, упоры, поворотные рычаги, о т л ич а ю щ е е с я тем, что, с целью повышения качества изделий полузамкнутой формы за счет исключения гофрообразования, упоры закреплены на станине и выполнены цилиндрическими, а в каретке выполнены пазы, на копирах выполнены наклонные поверхности и они установлены в пазах каретки с возможностью взаимодействия

1764739 этой наклонной поверхностью с цилиндрическими упорами и подпружиненЬ к ним, при этом гибочные рычаги снабжены осями с установленными на них подпружиненными обоймами, а гибочные элементы выполнены в виде призм, закрепленных в этих обоймах.

2. Устройство по п,1, о т л и ч а ю щ е ес я тем, что гибочные призмы выполнены с

5 заходной конусной и калибрующей частями, 1764739 яиЮА

1764739 р С

Составитель Ю.Казымов

Техред M.Ìîðãåíòàë Корректор Н.Ревская

Редактор

Производственно-издательский комбинат "Патент", г, Ужгород, ул.Гагарина, 101

Заказ 3331 Тираж Подписное

ВНИИПИ Государственного комитета по изобретениям и открытиям при ГКНТ СССР

113035. Москва, Ж-35, Раушская наб„4/5