Роторный автомат питания

Иллюстрации

Показать все

Реферат

 

Использование: в машиностроении, а именно в устройствах автоматической ориентации и загрузки роторных машин штучными деталями. Сущность изобретения: автомат содержит основание, бункер с ворошителями , приводной вал, закрепленный на нем диск с трубками-накопителями и установленными под трубками-накопителями с возможностью радиального перемещения от кулачка подпружиненными ползунами. Автомат также оснащен механизмами раскрытия губок клещевых захватов, каждый из которых жестко связан с соответствующим ползуном и выполнен в виде клина, размещенного с возможностью взаимодействия с соответствующими губками захватов. 4 ил.

СОЮЗ СОВЕТСКИХ

СОЦИАЛИСТИЧЕСКИХ

РЕСПУБЛИК (я)л В 23 0 7/02

ГОСУДАРСТВЕННОЕ ПАТЕНТНОЕ

ВЕДОМСТВО СССР (ГОСПАТЕНТ СССР) !

ОПИСАНИЕ ИЗОБРЕТЕНИЯ

К АВТОРСКОМУ СВИДЕТЕЛЬСТВУ (21) 4882332/08 (22) 15.11.90 (46) 23,02,93, Бюл.¹ 7 (71) Луганское конструкторское бюро автоматических линий (72) В.Г.Еремин и Ю,Н.Прач (56) Авторское свидетельство СССР

N 1060403, кл, В 23 0 7/02, 1982. (54) РОТОРНЫЙ АВТОМАТ ПИТАНИЯ (57) Использование: в машиностроении, а именно в устройствах автоматической ориентации и загрузки ротарных машин штучИзобретение относится.к машиностроению, а именно к устройствам автоматической ориентации и загрузки роторных машин штучными деталями.

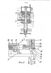
Целью изобретения является повышение производительности роторного автомата питания, На фиг.1 схематично изображен роторный автомат питания, продольный разрез; на фиг.2 — узел! на фиг,1, перед загрузкой изделия в клещевой захват; на фиг.3 — то же, в зоне загрузки изделий; на фиг.4 — разрез

А-А на фиг.1.

Роторный автомат питания (фиг.1) содержит основание 1, бункер 2 с ворошителями 3 и приводной вал 4. На валу 4 закреплен диск 5 с трубками-накопителями

6, равномерно расположенными по периферии бункера 2 и установленными под трубками-накопителями с возможностью радиального перемещения от кулачка 7, закрепленного на основании 1, ползунами 8.

Ползуны 8 расположены в радиальных напоавляющих 9. выполненных в диске 5, и подпружинены относительно него пружинами 10, при этом на ползунах могут быть

„„Я2„„ l 796408 А1 ными деталями. Сущность изобретения: автомат содержит основание, бункер с ворошителями, приводной вал, закрепленный на нем диск с трубками-накопителями и установленными под трубками-накопителями с возможностью радиального перемещения от кулачка подпружиненными ползунами.

Автомат также оснащен механизмами раскрытия губок клещевых захватов, каждый из которых жестко связан с соответствующим ползуном и выполнен в виде клина, размещенного с возможностью взаимодействия с соответствующими губками захватов. 4 ил. установлены пластины 11 со сквозными отверстиями 12, а на валу 4 может быть закреплена звездочка 13; расположенная под диском 5 и огибаемая транспортным конвейером 14 с клещевыми захватами 15. Кроме этого автомат содержит механизмы раскрытия губок 16 клещевых захватов 15, каждый из которых жестко соединен с соответствующим ползуном 8 и выполнен в виде клина 17, размещенного с вазможностью взаимодействия с соответствующими губками клещевого захвата 15, расположенного в зоне загрузки под соответствующей трубкойнакопителем b.

На диске 5 могут быть установлены регулируемые упоры 18, расположенные саасно трубкам-накопителям 6. При этом пластины 11 размещены между клиньями 17 и трубками-накопителями 6, а упоры 18 под клиньями 17.

Ворошители 3 могут быть выполнены в виде захватных трубок, установленных с возможностью вращения на диске 5 и жестко соединенных с шестернями 19, эацепляющихся с центральным зубчатым колесом

20, на днище 21 бункера 2, 1796408

Трубки-накопители 6 оснащены отсекателями 22 (фиг,2 и 3) деталей 23.

Роторный автомат питания работает следующим образом.

В процессе совместного непрерывного вращения вала 4, звездочки 13 и кинематически связанных с ними через шестерни 19. и,колесо 20 ворошителей 3, происходит непрерывное движение зацепляющегося со вездочкой конвейера 14 и обеспечивается "0 ахват ворошителями расположенных в бункере 2 деталей 23, Захваченные ворошителями 3 детали поступают в трубки-накопители 6, образуя в них однозначно соориентированный вдоль оси столб, ниж- "5 няя деталь которого удерживается отсекателем 22. Соориентированный таким образом столб деталей 23 переносится в зону огибания звездочки 13 конвейером 14. Одновременно с переносом закрепленных на диске 20

5 с. указанных трубок 6 в зону огибания звездочки конвейером происходит перемещение в эту же зону и соответствующих им ползунов 8.

При заходе конвейера 14 в зону сгиба- 25 ния звездочки 13, закрепленные на нем захваты 15 располагаются под соответствующими трубками-накопителями

6, а ползуны 8 под действием кулачка 7, совершают перемещение в радиальных на- 30 правляющих 9. В процессе перемещения ползунов 8, закрепленные на них клинья 17 воздействуют на губки 16 захватов 15, и обеспечивают их принудительный расжим, а соединенные с ползунами пластины 11 35 располагаются своими отверстиями 12 под соответствующими трубками-накопителями

6 (фиг.2). Затем происходит срабатывание отсекателя 22 и отделение нижней детали 23 столба. Освобожденная от воздействия от- 40 секателя деталь под собственным весом выпадает из трубки 6 и устанавливается между раскрытыми губками захвата 15 опираясь при этом на упор 18 (фиг.3). После этого ползун 8 под действием кулачка 7 возвращается в исходное положение, при котором клин 17 выходит за пределы губок 16 захвата 15, а отверстие 12 пластины 11 смещается относительно трубки-накопителя 6. При установке ползуна 8 в исходном положении, освобожденные губки 16 захвата зажимают деталь 23, а пластина 11, перекрывает отверстие трубки-накопителя 6.

Далее конвейер 14 выносит загру>кенные в клещевые захваты 15 детали 23 иэ зоны загрузки.

Таким образом в роторном автомате питания достигается перемещение загружаемых деталей по кратчайшему прямолинейному пути, В результате этого происходит снижение до минимума затрат времени на перемещение загружаемой детали и повышается производительность работы заявленного автомата, Формула изобретения

Роторный автомат питания, предназначенный для подачи деталей в клещевые захваты, содержащий основание, бункер с ворошителями, приводной вал, закрепленные на нем диск с трубками-накопителями, равномерно расположенными по периферии бункера, и установленные под трубками-накопителями с возможностью радиального перемещения от кулачка, закрепленного на основании, подпружиненные ползуны со сквозными отверстиями, отличающийся тем„что, с целью повышения производительности, автомат снабжен механизмами раскрытия губок клещевых захватов, каждый из которых жестко связан с соответствующим ползуном и выполнен в виде клина, размещенного с возможностью взаимодействия с соответствующими губками клещевого захвата, расположенного в зоне загрузки под соответствующей трубкой-накопителем.

1796408

1796408

Я

23

77

Составитель В. Чехлов

Техред М.Моргентал Корректор M. Кещеля

Редактор

Производственно-издательский комбинат "Патент", г. ужгород, ул.Гагарина, 101

Заказ 619 Тираж Подписное

ВНИИПИ Государственного комитета по изобретениям и открытиям при ГКНТ СССР

113035, Москва, Ж-35, Раушская наб., 4/5