Устройство для формирования изображения знаков на экране телевизионного индикатора
Иллюстрации
Показать всеРеферат
Использование: автоматика и вычислительная техника, системы отображения буквенно-цифровой , буквенно-мозаичной и графической информации. Устройство содержит 1 блок ввода (1), 1 блок памяти (2), 1 генератор символов (3), 1 регистр сдвига (4), 1 формирователь видеосигнала (5), 1 синхронизатор (6), 1 телевизионный индикатор
СОЮЗ СОВЕТСКИХ
СОЦИАЛИСТИЧЕСКИХ
РЕСПУБЛИК (5!)5 G 09 6 1 1 6—
ГОСУДАРСТВЕНЮЕ ПАТЕНТНОЕ
ВЕДОМСТВО СССР (ГОСПАТЕНТ СССР) ОПИСАНИЕ ИЗОБРЕТЕНИЯ
К ASTQPCKQMY СВИДЕТЕЛЬСТВУ (21) 4822615/24 (22) 03.05.90 (46) 15.07Щ Ьре, l+ 26 (71) КаунзсСкий .научно-исследовательский институт радиоизмерительной техники (72) П.-А. А. Марцинкявичюс и P. И. Томашюнас (56) Современные методы и устройства отображения информации. Под ред. M. И. Кривошеева и А. Я. Брейтборга, M. "Радио и связь", 1981, стр. 144 — 146.
Авторское свидетельство СССР
ЬЬ 932531, кл. G 09 6 1/16, 1980.
Изобретение относится к автоматике и вычислительной технике и может быть использовано при построении систем отображения буквенно-цифровой, буквенно-мозаичной и графической информации.
Цель изобретения — упрощение и расширение области применения устройства за счет возможности при формировании знаков осуществлять масштабирование его фрагментов.
На фиг. 1 представлена структурная схема предлагаемого устройства; на фиг. 2— функциональная схема блока масштабирования; на фиг. 3 — иэображение символа "А" в масштабе 2: 1 по горизонтальной и вертикальной осям; на фиг. 4 — тот же символ в масштабе 1; 1 по обеим осям (а) и символ с масштабов 2: 1 по горизотальной оси и с масштабом 1: 1 по вертикальной оси (б).... Ы„„1827683 А1 (54) УСТРОЙСТВО ДЛЯ ФОРМИРОВАНИЯ
ИЗОБРАЖЕНИЯ ЗНАКОВ НА ЭКРАНЕ ТЕЛЕВИЗИОННОГО ИНДИКАТОРА (57) Использование; автоматика и вычислительная техника, системы отображения буквенно-цифровой, буквенно-мозаичной и графической информации. Устройство содержит 1 блок ввода (1), 1 блок памяти (2), 1 генератор символов (3), 1 регистр сдвига (4), 1 формирователь видеосигнала (5), 1 синхронизатор (6), 1 телевизионный индикатор (7), 1 блок масштабирования (8), 1 шифратор (9). 1 3, и. ф-л ы, 4 ил.
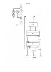
Устройство для формирования знаков на экране телевизионном индикаторе содержит блок 1 ввода, блок 2 памяти, генератор 3 символов, регистр 4 сдвига, формирователь 5 видеосигнала, синхронизатор 6, телевизионный индикатор 7, блок 8 масштабирования и шифратор 9.
Блок 8 масштабирования содержит первый счетчик 10, второй счетчик 11, элемент
12 ИЛИ-НЕ.
Устройство работает следующим образом.
При помощи блока 1 ввода в блок 2 памяти записываются номера изображаемых символов, их атрибуты, в которых указано форма отображения, масштабы по горизонтальной и вертикальной осям, номер сегмента, Масштаб по вертикальной оси w часть атрибута {номер сегмента) из блока 2 памяти подаются на входы шифратора 9. Кроме того, из синхронизатора 6 на шифратор 9 подается код рзстрОПОЙ стрОки, Шифратор 9 вырабатывает код трансформированной растровой строки, который подается на генератор 3 символов. Также нз генератор 3 символов подаются коды номера символов из блока 2 памяти, Генератор 3 символов Вырабатывает как шифратор термы растровой строки знзкоместа, которые подаются на входы параллельной записи регис-ра 4 сдвига. На другие входы (входы управления) Регистра 4 сдвига из блока 8 масштабирования подаются сигналы управления, ",. е. сигнал сдвига и сигнал режима
{моды), которые Вырабатываются блоком 8 масштабирования, ""». е. счетчиком 11, счетчиком 1IÎ и элементом 12 ИЛИ-НЕ в зависимости От масштаба по Горизонтальной Оси, который Выдается блоком 2 памяти, и синхросигналов, поступающих от синхронизатора 6. При помощи этик сигналов управления осуществляется масштабная работа регистра 4 сдвига. Выход счетчика 11 (В) соединен с входом счетчика 11 (() и этим обеспечивается загрузка счетчика 11 кодом масштаба
BG Горизонтальной Оси в моменты сдвига В регистре 4 сдвига екущего бита терморастровой строки знакоместа. Таким образом, при помощи вычитающего счетчика 11 формируется сигнал сдвига регистра 4 сдвига в зависимости от Ведущих синхроимпульсов соответственIIo коду масштаба по горизонтальной оси. Сигналы Смены элементов GTQбражения с выхода счетчика 11 поступают на вычитающий вход счетчика 10, который в результате подс Кета 16-ти элементов отображения при помощи элемента 12 ИЛИ-НЕ выдает сигнал режима загрузки регистра 4 сдвига. Входы "В" счетчиков 10 и 11 объединены и на них подается сигнал гашения луча.
Таким образом, положительный эффект достигается за счет следующих факторов.
Используемый в блоке 8 масштабирования первый двоичный Вычитывающий счетчик соединен с входом параллельной записи, а
HG доуГие Входы параллельной записи подается код масштаба, Вследствие этого при отображении символов с разным масштабом нет необходимости менять длительность строчноГО и кадроВОГО Гасящих импульсов. Кроме того, за счет соединения сче чиков 10 и 11 образована компактная схема, способная генерировать сигналы управления для регистра 4 сдвига в ззвисимости от текущего масштаба по горизонтали, вследствие чего устройство упрощается.
Формула изобретения
5 1. Устройство для формирования изображения знаков на экране телевизионного индикатора, содержащее блок ввода, выход которого подключен к адресному и информационному входам блока памяти, первый
10 выход которого подключен к первому адресному выходу генератора символов, выход которого подключен к информационному входу регистра сдвига, выход которого подключен к первому информационному входу
15 формирователя видеосигнала, управляющий вход которого подключен к первому выходу синхронизатора, а выход подключен к информационному входу телевизионного индикатора, о т л и ч а ю щ е е с я тем, что, 20 с целью упрощения и расширения области применения устройства за счет возможности при формировании знаков осуществлять масштабирование его фрагментов, оно содержит блок масштабирования и шифратор, 25 первый информационный вход которого подключен к второму выходу блока памяти, третий выход которого подключен к вторым информационным входам формирователя
Видеосигнала и шифратора, выход которого
30 подключен к второму адресному входу генератора символов, адресный вход шифратора подключен к второму выходу синхронизатора, третий выход которого подключен к синхронизирующему входу
35 блока масштабирования, информационный вход которого подключен к четвертому выходу блока памяти, выход блока масштабирования подключен к входу управления сдвигом регистра сдвига.
40 2. Устройство по и. 1, о т л и ч а ю щ е е с я тем, что блок масшт фирования содержит два счетчика MflM-НЕ, входы которого подключены к выходам первого счетчика, вычитающий вход которого подключен к выходу импульса переноса второго счетчика, соединенному с его установочным входом, Выход импульса переноса второго счетчика и выход элемента ИЛИ-НЕ являются выходом блока, информационные входы
50 второго счетчика являются информационным входом блока, входы сброса второго и первого счетчиков и вычитающий вход второго счетчика являются синхронизирующим входом блока.
1 вт1мз
gIu&2
1827683
1 гФуюлюЫ Г: fee арихю жа юж. ь Жры м ох л . иенс а Ь ф
1827683
Редактор
Заказ 2360 Тираж Подписное
ВНИИПИ Государственного комитета по изобретениям и открытиям при ГКНТ СССР
113035, Москва. Ж-35, Раушская наб.. 4/5
Производственно-издательский комбинат "Патент", г. Ужгород, ул,Гагарина, 101
1 ъ %
IУ гсиг аХ f In РРРыУО +PgmU 0< Ь
Ъ
1 ь 1.
/кдгги яю& / юо ауюяо ьяыымл 0m ф ж;гаК/:/пр Ярдам«ю АР лж
Составитель Л.Абросимов
Техред M.Mîðråíòçë Корректор М.Ткач



