Роликоопора упругих направляющих

Иллюстрации

Показать все

Реферат

 

ОП ИСАН И Е

ИЗОБРЕТЕНИЯ

К АВТОРСКОМУ СВИДЕТЕЛЬСТВУ

Союз Советских

Социалистических

Республик

Зависимое от авт. свидетельства №

Заявлено 30. т" 11.1965 (№ 1022368(22-3) с присоединением заявки №

Приоритет

Опубликовано 01.XI.1966. Бюллетень № 22

Кл. 35а, 9/05

35а, 1/11

МПК В 66Ь

B 66Ь

УДК 662.67.078(088.8) Комитет Ilo делам изобретений и открытий при Совете Министров

Заявитель

Донецкий государственный проектно-конструкторский и экспериментальный институт комплексной механизации шахт

РОЛИКООПОРА УПРУГИХ НАПРАВЛЯЮЩИХ

Предмет изобретения

Роликоопоры упругих направляющих шахтных подъемных сосудов, включающие рычаги, амортизаторы, натяжные устройства и предохранительный башмак, известны.

Описываемая роликоопора отличается тем, что натяжные устройства выполнены в виде связанного с амортизаторами упора, установленного между щек рычага. В прорезь упора входит регулировочный винт, укрепленный шарнирно на предохранительном башмаке.

Это расширяет область применения роликоопоры, упрошает ее регулировку и уменьшает вес.

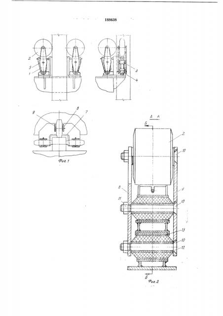
На фиг. 1 изображена роликоопора в трех проекциях; на фиг. 2 — 3 — разрез роликоопорыпоА — АиБ — Б, Роликоопора состоит из рычагов 1 с роликами 2, верхних подвижных амортизаторов 8 для регулировки, нижних амортизаторов 4, упора 5, в прорезь которого входит регулировочный винт б, укрепленный шарнирно на предохранительном башмаке.

Между правой 8 и левой 9 щеками рычага при помощи валиков 10 с гайками 11 установлены амортизаторы в виде резинового массива, соединяющего внутреннее стальное кольцо

12 и наружное 18 в единый узел.

Собирают роликоопоры следующим образом. В кольцо 14 предохранительного башмака 7 вставляют амортизатор 4, надевают щеки, смонтированные с деталями 2, 8, 5, и закрепляют их при помощи валика, после чего в прорезь упора вставляют и закрепляют регулировочный винт.

При замене ролика 2 вынимают валик и снимают ролик, двигая его вверх. При работе роликоопоры на нее воздействует сила Р, которая перемещает ось S колеса в точку S, сохраняя параллельность оси первоначальному положению.

Точки N u Q соответственно занимают положения N и Q за счет упругой деформации амортизаторов. Центр вращения в этом случае — точка Z.

Роликоопора упругих направляющих шахт20 ных подъемных сосудов, включающая рычаги, амортизаторы, натяжные устройства и предохранительный башмак, отличающаяся тем, что, с целью упрощения регулировки, уменьшения веса и расширения области примене25 ния, натяжные устройства выполнены в виде упора, установленного между щек рычага и связанного с амортизаторами, в прорезь которого входит регулировочный винт, укрепленьый шарнирно на предохранительном башмаЗО ке.

188638

Составитель В. Кондаков

Редактор Б. Б. Федотова Техред Л. Брнккер

Корректоры: Т. Н. Костикова и С H Соколова

Заказ 3736/8 Тираж 1550 Формат бум. 60X90 /ö Объем 0,3 изд, л. Подписное

ЦНИИПИ Комитета по делам изобретений и открытий при Совете Министров СССР

Москва, Центр, пр, Серова, д. 4

Типография пр. Сапунова, 2