Гидродинамический корректор потоков жидкостей
Иллюстрации
Показать всеИзобретение относится к устройствам для диспергирования, гомогенизации и перемешивания потоков жидкостей и может быть использовано для интенсификации технологических процессов в нефтеперерабатывающей, химической и других отраслях промышленности, а также для гомогенизационной обработки тяжелых нефтяных видов топлива, используемых в промышленности и теплоэнергетике. Гидродинамический корректор потоков жидкостей содержит корпус 1 с входным патрубком 2 и выходным патрубком 3. Внутри корпуса 1 установлены распределитель 4, выполненный в виде диска с отверстиями 5 и установленный с возможностью перекрытия рабочей камеры корпуса 1, и средства обеспечения ускорения обрабатываемого потока в виде диска 7 со сквозным коническим отверстием. Распределитель 4 выполнен с обтекателем 8. Внутри гидродинамического корректора, в зоне выходного патрубка 3, расположен излучатель 9 с серповидными лопатками 10, и диск 11 со сквозным отверстием, установленный в зоне выходного патрубка с возможностью образования цилиндрической камеры 12. Распределитель 4 с обтекателем 8 и диск 7 расположены друг относительно друга с возможностью образования кольцевого канала 13. Излучатель 9 закреплен на диске 11, с возможностью образования зоны 20 перемешивания. Через входной патрубок 2 обрабатываемый поток жидкости направляется внутрь корпуса 1 и через отверстия 5 распределителя 4 направляется в кольцевой канал 13. За счет сужения проходного сечения кольцевого канала 12 скорость потока возрастает, а давление падает. На выходе из канала поток натекает на отражатель 14. За счет этого в кольцевом пазе 16 формируется торроидальная кавитационная зона. После чего поток выбрасывается в камеру 6. Затем, перемещаясь в камере 6, поток попадает в коническое отверстие ускорителя 14. Из-за сужения проходного сечения скорость потока возрастает, а давление падает. Поток жидкости, выходящий из отверстия диска 14, натекает на отражательную поверхность 18 излучателя 9, выполненную в виде выемки сферической формы и, отражаясь от нее, снова образуется торроидальная кавитационная зона. После чего поток выбрасывается в камеру 19 и, перемещаясь по ней, попадает через межлопаточные каналы в зону 20 перемешивания, а затем под острым углом - на стенки лопаток 10, за счет чего обеспечивается преобразование энергии обрабатываемого потока в энергию акустических колебаний широкого спектра. Под действием акустических колебаний в потоке возникает зона акустической кавитации. В связи с этим из цилиндрического отверстия 20 диска 11 поток попадает в камеру 12. В камере 12 происходит торможение потока, за счет чего обеспечивается окончательная обработка потока, т.е. предотвращается попадание кавитационных пузырьков в выходной патрубок 3. Технический результат - увеличение степени диспергирования и гомогенизации обрабатываемого потока. 2 ил.
Реферат
Изобретение относится к устройствам для диспергирования, гомогенизации и перемешивания потоков жидкостей и может быть использовано для интенсификации различных технологических процессов в нефтеперерабатывающей, химической и других отраслях промышленности, а также для гомогенизационной обработки тяжелых нефтяных видов топлива, используемых в промышленности и теплоэнергетике.
Известен ультразвуковой смеситель, содержащий корпус с патрубками подвода и отвода, цилиндрическую камеру с излучателями, выполненными в виде последовательно установленных по спирали Архимеда лопаток, образующих каналы (авторское свидетельство СССР №316482, В 06 В 1/20, 1971 г.).
Известный ультразвуковой смеситель не обеспечивает требуемого качества перемешивания, диспергирования и гомогенизации обрабатываемых потоков, т.к. обрабатываемый поток подвергается одноразовому кавитационному воздействию.
Наиболее близким техническим решением по совокупности существенных признаков присущих изобретению, является гидродинамический излучатель, содержащий приемную камеру, первую резонирующую зону, вибрирующий клапан, вторую резонирующую зону и камеру для выхода обрабатываемого потока (авторское свидетельство СССР №147050, В 06 В 1/20, 1960 г.).
Известное устройство также не обеспечивает требуемого качества диспергирования и перемешивания, за счет отсутствия перемешивающего воздействия на поток, небольшой ресурс работы устройства, из-за быстрого износа виброклапана, помимо этого, известное устройство не позволяет обрабатывать потоки, подаваемые под большим давлением.
Сущность изобретения как технического решения заключается в обеспечении многоступенчатого кавитационного, акустического и перемешивающего воздействия на обрабатываемый поток, что позволяет увеличить степень диспергирования и гомогенизации обрабатываемого потока, подаваемого под различным давлением (как под небольшим, так и под большим давлением.
Поставленная техническая задача решается тем, что гидродинамический корректор потоков жидкостей, содержащий корпус с рабочей камерой и с входным и выходным патрубками и средства обеспечения ускорения потока, каждое из которых выполнено в виде диска со сквозным коническим отверстием и установлено с возможностью перекрытия рабочей камеры корпуса, отличающийся тем, что он содержит распределитель потока с отверстиями и средство обеспечения перемешивания потока в виде излучателя, при этом распределитель выполнен с цилиндрическим обтекателем и отражателем и установлен в зоне входного патрубка с возможностью перекрытия рабочей камеры корпуса и образования между цилиндрической поверхностью обтекателя и поверхностью конического отверстия одного из дисков кольцевого канала, а излучатель выполнен с серповидными лопатками, имеющими форму части Архимедовой спирали, и с отражательной поверхностью, и установлен на одном из дисков в зоне выходного патрубка, с возможностью образования камеры перемешивания потока, помимо этого отверстия распределителя расположены с возможностью обеспечения направления обрабатываемого потока в кольцевой канал.
Допустимо, обтекатель выполнить со средством турбулизации потока в виде кольцевого паза, расположенного в зоне сопряжения обтекателя с отражателем.
Целесообразно отражательную поверхность излучателя выполнить в виде выемки сферической формы.
Оптимально отражательную поверхность распределителя выполнить в виде выемки конической формы.
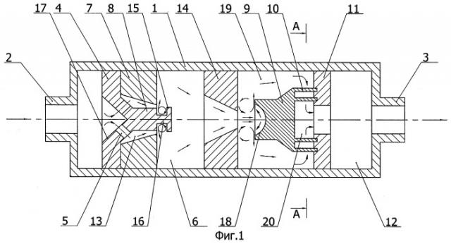
На фиг.1 изображен продольный разрез гидродинамического корректора. На фиг.2 - разрез А-А на фиг.1.
Гидродинамический корректор потоков жидкостей содержит корпус 1 с входным патрубком 2 и выходным патрубком 3 соответственно для подвода и отвода обрабатываемого потока. Внутри корпуса 1 установлены распределитель 4, выполненный в виде диска с отверстиями 5 и установленный с возможностью перекрытия рабочей камеры 6 корпуса 1, и средства обеспечения ускорения обрабатываемого потока в виде диска 7 со сквозным коническим отверстием. Распределитель 4 выполнен с обтекателем 8.
Внутри гидродинамического корректора, в зоне выходного патрубка 3, расположены излучатель 9 с серповидными лопатками 10, имеющими форму части Архимедовой спирали, который расположен на диске 11, выполненном со сквозным отверстием и установленным с возможностью перекрытия рабочей камеры 6 корпуса 1 и образования цилиндрической камеры 12.
Распределитель 4 с обтекателем 8 и диск 7 расположены друг относительно друга с возможностью образования кольцевого канала 13. Между ускорителем 7 и излучателем 9 расположено средство обеспечения ускорения потока, которое также выполнено в виде диска 14 со сквозным коническим отверстием, установленным с возможностью перекрытия рабочей камеры 6 корпуса 1, при этом его коническое отверстие расположено с возможностью обеспечения направления обрабатываемого потока на отражательную поверхность излучателя 9.
Обтекатель 8 с отражателем 15 можно снабдить средством турбулизации потока, выполненным в виде кольцевого паза 16.
Отражательная поверхность 17 распределителя может быть выполнена в виде конической выемки.
Отражательная поверхность 18 излучателя 9 может быть выполнена в виде сферической выемки.
Гидродинамический корректор потоков жидкостей работает следующим образом.
Обрабатываемый поток жидкости через входной патрубок 2 подается внутрь корпуса 1 и через отверстия 5 распределителя 4 направляется в кольцевой канал 13, образованный цилиндрической поверхностью обтекателя 8 и конической поверхностью диска 7.
За счет сужения проходного сечения кольцевого канала 13 скорость потока возрастает, а давление падает. На выходе из канала поток натекает на отражатель 15. За счет этого в пазе 16 формируется торроидальная кавитационная зона. В кавитационной зоне возникают мощные гидродинамические возмущения в виде сильных импульсов сжатия (микроударных волн) и микропотоков, возникающих из-за пульсации кавитационных пузырьков. Кроме того, при схлопывании пузырьков возникают сильные возмущения слоев обрабатываемой среды, распространяющиеся в виде акустических колебаний сложного спектрального состава. Из паза 16 поток выбрасывается в камеру 6, затем, перемещаясь в камере 6, поток попадает в коническое отверстие диска 14. Из-за сужения проходного сечения скорость потока возрастает, а давление падает. Поток жидкости, выходящий из отверстия диска 13, натекает на отражательную поверхность 18 излучателя 9, выполненную в виде выемки сферической формы, отражаясь от нее, формируется торроидальная кавитационная зона. После чего поток выбрасывается в камеру 19 и, перемещаясь по ней, попадает через межлопаточные каналы в зону 20 перемешивания, а затем под острым углом - на стенки лопаток 10, за счет чего обеспечивается преобразование энергии обрабатываемого потока в энергию акустических колебаний широкого спектра. Под действием акустических колебаний в потоке возникает зона акустической кавитации. В связи с этим из цилиндрического отверстия 21 диска 11 поток попадает в камеру 12, где и происходит схлопывание образовавшихся кавитационных пузырьков. В камере 12 происходит торможение потока, за счет чего обеспечивается окончательная обработка потока, т.е. предотвращается попадание кавитационных пузырьков в выходной патрубок 3.
Выполнение кольцевого паза в зоне сопряжения обтекателя 8 с отражателем 15 позволяет создать дополнительную зону кавитационной обработки.
Выполнение отражательной поверхности излучателя 9 в виде выемки сферической формы также позволяет создать дополнительную зону кавитационной обработки.
Выполнение отражательной поверхности распределителя 4 в виде выемки конической формы позволяет снизить потери на сопротивление при прохождении обрабатываемого потока в кольцевой канал.
Таким образом, при прохождении через гидродинамический корректор потоков жидкостей, обрабатываемый поток неоднократно подвергается кавитационному воздействию и воздействию акустических колебаний широкого спектра частот. За счет этого обеспечивается высокое качество однородности обрабатываемого потока, а также тонкое измельчение твердых, жидких и смолянистых тел и корректировка, т.е. дает возможность объединению простых молекул или ионов в более сложные, не изменяя при этом природы вещества. Кроме того, увеличивается срок службы топливных фильтров и насосов.
Теплотехнические испытания предложенного гидродинамического корректора при обработке мазута показали, что благодаря уменьшению размера капель и времени их пребывания в топке снижаются потери от химического недожога топлива. Мелкое распыление смолистых соединений и равномерное их распределение в мазуте обеспечивает более полное сгорание частиц углерода и тяжелых углеводородов без копоти и саже выделения, что позволяет уменьшить потери тепла от механического недожога топлива и увеличивает лучеиспускательную способность факела.
На основании проведенных испытаний можно утверждать, что предлагаемый гидротехнический корректор потоков жидкостей можно эффективно использовать для гомогенизационной обработки тяжелых видов нефтяного топлива, с целью улучшения их эксплуатационных качеств. А также, для интенсификации технологических процессов в нефтеперерабатывающей, химической, лакокрасочной и других областях промышленности.
Гидродинамический корректор потоков жидкостей, содержащий корпус с рабочей камерой и с входным и выходным патрубками и средства обеспечения ускорения потока, каждое из которых выполнено в виде диска со сквозным коническим отверстием и установлено с возможностью перекрытия рабочей камеры корпуса, отличающийся тем, что он содержит распределитель потока с отверстиями и средство обеспечения перемешивания потока в виде излучателя, при этом распределитель выполнен с цилиндрическим обтекателем и отражателем и установлен в зоне входного патрубка с возможностью перекрытия рабочей камеры корпуса и образования между цилиндрической поверхностью обтекателя и поверхностью конического отверстия одного из дисков кольцевого канала, а излучатель выполнен с серповидными лопатками, имеющими форму части Архимедовой спирали, и с отражательной поверхностью, и установлен на одном из дисков в зоне выходного патрубка, с возможностью образования камеры перемешивания потока, помимо этого, отверстия распределителя расположены с возможностью обеспечения направления обрабатываемого потока в кольцевой канал, а в зоне сопряжения обтекателя с отражателем выполнено средство турбулизации потока в виде кольцевого паза.

