Автономное устройство ограничения уровня налива в резервуар (варианты)

Иллюстрации

Показать все

Изобретение относится к трубопроводной запорной арматуре, а именно к устройствам мембранного типа, и предназначено для открывания и закрывания проходного сечения трубопровода, транспортирующего контролируемую среду, в качестве регулирующего или запорного органа в различных отраслях промышленности. Автономное устройство ограничения уровня налива в резервуар содержит корпус с входным и выходным отверстиями и с внутренней полостью, разделенной на две, входную и выходную, полости посредством ступенчатой перегородки с проходным отверстием, крышку, установленный через центральное отверстие крышки привод, расположенный во входной полости и закрепленный на крышке шпиндель с хвостовиком, верхняя часть шпинделя выполнена с радиальными отверстиями. На шпинделе установлены жестко кольцо и с возможностью относительного осевого перемещения затвор в виде стакана, разделяющий входную полость на верхнюю и нижнюю части, мембранный клапан с мембраной, расположенной с образованием надмембранной и подмембранной полостей. Автономное устройство содержит сливную трубку уровня налива с обратным клапаном, соединяющую надмембранную полость мембранного клапана с резервуаром через отверстие, выполненное на уровне заданного налива контролируемой среды, и с нижней частью входной полости, трубку с обратным клапаном, соединяющую верхнюю часть входной полости с выходной полостью. Подмембранная полость с прикрепленной к мембране тарелкой с пружиной и штоком соединена через отверстие с верхней частью входной полости. Размеры мембранного клапана связаны определенным соотношением. С внутренней стороны крышки установлена направляющая втулка с продольными боковыми прорезями для двух планок и с установленным на них кольцом. Затвор выполнен со ступенчатым дном с образованием заплечиков и расположен с фиксированным зазором относительно стенок. С внутренней стороны ступенчатого дна затвора выполнен с установочным отверстием под хвостовик вертикальный выступ. Последний соединяет затвор через шпиндель с приводом. Максимальная высота поднятия затвора зависит от диаметра проходного отверстия и определяется из определенного равенства. Если на трубопроводе уже смонтирована автономная задвижка “открыто/закрыто”, то применяется второй вариант выполнения автономного устройства для работы только в режиме автоматического ограничителя уровня налива без привода со шпинделем, без направляющей втулки, планок и кольца. Все остальные элементы устройства по первому варианту сохраняются. Изобретения направлены на упрощение конструкции автоматических устройств и повышение надежности их работы. 2 с. и 11 з.п. ф-лы, 5 ил.

Реферат

Изобретение относится к трубопроводной запорной арматуре, а именно к устройствам мембранного типа для открывания и закрывания проходного сечения трубопровода, транспортирующего контролируемую среду, и может найти применение в различных отраслях промышленности в качестве регулирующего или запорного органа.

Известно устройство [см. авторское свидетельство SU №175004, МПК: F 16 К 7/17, Е 03 В 7/08, G 05 D 9/02, F 16 К 21/16, опубликованное 07.09.1965 в Бюл. №18], содержащее корпус с входным и выходным отверстиями и внутренней полостью, разделенной на две полости посредством перегородки с проходным отверстием, трубку с регулятором и установленный на корпусе мембранный клапан со сливной трубкой уровня налива. Мембранный клапан состоит из мембраны, разделяющей клапан на надмембранную и подмембранную полости с прикрепленной к мембране тарелкой с пружиной и штоком с хвостовиком, являющимся затвором проходного отверстия. Посредством сливной трубки уровня налива надмембранная полость клапана соединена с резервуаром через отверстие, выполненное на уровне верхнего предела налива контролируемой среды. Сливная трубка сообщена также с входным объемом через дополнительную трубку с регулятором, из которого поступает контролируемая среда во входное отверстие. Затвор непосредственно связан со штоком и мембраной. Данное устройство автоматически перекрывает входной поток газообразной среды (пара) к насосу при достижении заданного уровня налива в резервуаре. Однако данная конструкция затвора не обеспечивает работу устройства при больших потоках и давлении подаваемой контролируемой среды. Известное устройство регулирует только подачу пара в насос, который подает контролируемую среду (жидкость) непосредственно в резервуар для поддержания в нем постоянного уровня, и не может быть установлено на проходном сечении трубопровода для заполнения резервуара жидкостью до заданного уровня и для работы в режиме откачки и задвижки ″ открыто/закрыто″ .

Известно устройство [см. авторское свидетельство SU №396519, МПК: F 16 К 21/18, опубликованное 29.08.1973 в Бюл. №36], принятое за прототип, содержащее корпус с входным и выходным отверстиями и внутренней полостью, разделенной на две, входную и выходную полости, посредством ступенчатой перегородки с проходным отверстием, установленный на крышке корпуса мембранный клапан, посредством гибкой трубки соединенный с датчиком уровня налива, установленным в резервуаре. Мембранный клапан состоит из мембраны, разделяющей клапан на надмембранную полость и подмембранную полость с приводом механизма ограничения уровня, который, воздействуя на мембрану, автоматически приводит в действие шарнирно-рычажную систему для перемещения шпинделя с хвостовиком, являющимся затвором, перекрывая проходное отверстие, через которое поступает контролируемая среда в резервуар. Также на шпинделе установлены с возможностью относительного осевого перемещения затвор в виде стакана, который плотно прилегает к стенкам входной полости, разделяя ее на верхнюю и нижнюю части, жестко установлено кольцо с пружиной для обеспечения запирания проходного отверстия. Верхняя часть шпинделя выполнена полой с радиальными отверстиями для перепуска контролируемой среды из верхней части в нижнюю. В полости шпинделя смонтированы перепускной шариковый клапан и толкатель, шарнирно-рычажной системой соединенный с приводом. Для подачи контролируемой среды в резервуар шпиндель с хвостовиком принудительно перемещают вверх с помощью рычага с рукояткой. Данное устройство автоматически перекрывает проходное отверстие при достижении заданного уровня налива и может быть установлено на проходном сечении трубопровода для заполнения резервуара контролируемой средой до заданного уровня, а также работать в режиме задвижки ″ открыто/закрыто″ , однако оно не может работать в режиме автоматического включения в работу при подаче/откачке контролируемой среды по трубопроводу. Также для его работы необходимы дополнительные сигнализаторы от предварительно установленных в резервуаре датчиков уровня налива, что усложняет его работу. Необходимо отметить сложность конструкции известного устройства, что уменьшает надежность его работы.

Задачей, на решение которой направленно изобретение, является упрощение конструкции устройства и повышение надежности работы.

Ожидаемый технический результат заключается в получении автономного устройства ограничения уровня налива в резервуар для работы на подсоединяемых к резервуарам трубопроводах любого диаметра, с возможностью безопасного, регулируемого по времени перекрытия проходного отверстия автоматически и без гидроудара при достижении заданного уровня налива, с возможностью автоматически открывать или закрывать проходное отверстие при подаче по трубопроводу контролируемой среды в резервуар под любым давлением, а также при необходимости работающего в режиме откачки и задвижки ″ открыто/закрыто″ .

Для этого автономное устройство ограничения уровня налива в резервуар, содержащее корпус с входным и выходным отверстиями и с внутренней полостью, разделенной на две, входную и выходную, полости посредством ступенчатой перегородки с проходным отверстием, крышку, установленный через центральное отверстие крышки привод, расположенный во входной полости и закрепленный на крышке шпиндель с хвостовиком, верхняя часть шпинделя выполнена с радиальными отверстиями, причем на шпинделе установлены жестко кольцо и с возможностью относительного осевого перемещения затвор в виде стакана, разделяющий входную полость на верхнюю и нижнюю части, мембранный клапан с мембраной с образованием надмембранной и подмембранной полостей. При этом устройство содержит сливную трубку уровня налива с обратным клапаном, соединяющую надмембранную полость мембранного клапана с резервуаром через отверстие, выполненное на уровне заданного налива контролируемой среды, и с нижней частью входной полости, трубку с обратным клапаном, соединяющую верхнюю часть входной полости с выходной полостью, при этом подмембранная полость с прикрепленной к мембране тарелкой с пружиной и штоком соединена через отверстие с верхней частью входной полости, размер мембранного клапана выбирается из соотношения:

Sм×рсл.тр>Sс.ш×рн+Qпр;

где: Sм - площадь мембраны, м2,

рсл.тр - давление, создаваемое столбом контролируемой среды в сливной трубке уровня налива, Н/м2,

Sс.ш - площадь сечения штока, м2,

рн - давление насоса для подачи контролируемой среды, Н/м2,

Qпр - усилие пружины, Н,

давление рсл.тр зависит от высоты hсл.тр (м) сливной трубки уровня налива и плотности γ k.с (кг/м3) контролируемой среды:

рсл.тр=hсл.тр×γ к.с,

причем с внутренней стороны крышки установлена направляющая втулка с продольными боковыми прорезями для двух планок и с установленным на них кольцом, а затвор выполнен со ступенчатым дном с образованием заплечиков и расположен с фиксированным зазором относительно стенок, с внутренней стороны ступенчатого дна затвора выполнен с установочным отверстием под хвостовик вертикальный выступ, соединяющий затвор через шпиндель с приводом, при этом максимальная высота поднятия затвора зависит от диаметра проходного отверстия и определяется из равенства:

откуда

где

h - максимальная высота поднятия затвора, м;

d - диаметр проходного отверстия, м.

Устройство содержит переливную трубку с регулятором, соединяющую верхнюю и нижнюю части входной полости, кольцо установлено таким образом, что при опускании шпинделя в крайнее нижнее положение перекрывается выполненное в верхней части входной полости отверстие, причем в верхней части затвора выполнена кольцевая проточка с радиальными отверстиями, площадь сечения кольцевой проточки не меньше площади сечения отверстия; выполненного в верхней части входной полости, в паз, выполненный в стенке затвора, установлено разрезное кольцо, а мембранный клапан может быть установлен на крышке, при этом корпус, крышка, затвор и корпус мембранного клапана с крышкой выполнены из конструкционной стали ст3.

Во втором варианте исполнения автономное устройство ограничения уровня налива в резервуар содержит корпус с входным и выходным отверстиями и с внутренней полостью, разделенной на две, входную вертикальную и выходную, полости посредством ступенчатой перегородки с проходным отверстием, крышку, затвор в виде стакана, разделяющий входную полость на верхнюю и нижнюю части, мембранный клапан с мембраной с образованием надмембранном и подмембранной полостей. При этом устройство содержит сливную трубку уровня налива с обратным клапаном, соединяющую надмембранную полость мембранного клапана с резервуаром через отверстие, выполненное на уровне заданного налива контролируемой среды, и с нижней частью входной полости, трубку с обратным клапаном, соединяющую верхнюю часть входной полости с выходной полостью, подмембранная полость с прикрепленной к мембране тарелкой с пружиной и штоком соединена через отверстие с верхней частью входной полости, причем размер мембранного клапана выбирается из соотношения:

Sм×рсл.тр>Sс.ш×рн+Qпр;

где: Sм - площадь мембраны, м2,

рсл.тр - давление, создаваемое столбом контролируемой среды в сливной трубке уровня налива, Н/м2,

Sс.ш - площадь сечения штока, м2,

рн - давление насоса для подачи контролируемой среды, Н/м2,

Qпр - усилие пружины, Н,

давление рсл.тр зависит от высоты hсл.тр (м) сливной трубки уровня налива и плотности γ к.с (кг/м3) контролируемой среды:

рсл.тр=hсл.тр×γ к.с,

при этом затвор выполнен в виде стакана со ступенчатым дном с образованием заплечиков и расположен с фиксированным зазором относительно стенок корпуса, при этом максимальная высота поднятия затвора зависит от диаметра проходного отверстия и определяется из равенства:

откуда

где

h - максимальная высота поднятия затвора, м;

d - диаметр проходного отверстия, м.

Устройство содержит переливную трубку с регулятором, соединяющую верхнюю и нижнюю части входной полости, причем в верхней части затвора выполнена кольцевая проточка с радиальными отверстиями, площадь сечения кольцевой проточки не меньше площади сечения отверстия, выполненного в верхней части входной полости, в паз, выполненный в стенке затвора, установлено разрезное кольцо, а мембранный клапан может быть установлен на крышке, при этом корпус, крышка, затвор и корпус мембранного клапана с крышкой выполнены из конструкционной стали ст3.

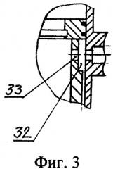
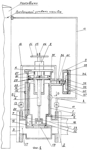
Сущность изобретения поясняется чертежами, где на фиг.1 изображено устройство в разрезе; работающее в режимах закачки, ограничителя уровня налива, откачки и задвижки ″ открыто/закрыто″ ; на фиг.2 - устройство в разрезе в режиме ограничитель уровня налива; на фиг.3 - фрагмент с кольцевой проточкой при верхнем положении затвора; на фиг.4 - выносной элемент зазора между корпусом и затвором с разрезным кольцом в увеличенном масштабе; на фиг.5 - сечение Б-Б на фиг.1.

Устройство состоит из корпуса 1 с входным 2 и выходным 3 отверстиями, крышки 4, затвора 5, шпинделя 6 с хвостовиком 7, привода 8, мембранного клапана 9, сливной трубки уровня налива 10 с обратным клапаном 11, трубки 12 с обратным клапаном 13 и переливной трубки 14 с регулятором 15. Внутренняя полость устройства разделена на две, входную 16 и выходную 17, полости посредством ступенчатой перегородки 18 с проходным отверстием 19 с образованием седла. В вертикальной, расположенной перпендикулярно к плоскости седла входной полости 16 размещен с фиксированным относительно стенок корпуса 1 зазором 20, равным 0,05-0,2 мм, и с возможностью относительного осевого перемещения затвор 5, выполненный в виде полого стакана со ступенчатым дном с образованием заплечиков 21, площадь которых зависит от диаметра трубопровода, давления подаваемой контролируемой среды, от веса затвора 5 и определяется опытным путем. С внутренней стороны ступенчатого дна затвора 5 выполнен вертикальный выступ 22 в виде соединительной втулки с фигурным установочным отверстием 23 под хвостовик 7 для подвижного соединения с приводом 8 через шпиндель 6. Через центральное отверстие крышки 4 установлен привод 8, содержащий штурвал 24 с меткой 25 и указателем 26, являющимся продолжением шпинделя 6. С внутренней стороны крышки 4 закреплена направляющая втулка 27 со шпинделем 6 и с четырьмя продольными, отстоящими друг от друга на угол 90° боковыми прорезями 28 для двух взаимно перпендикулярных планок 29 с установленным на них кольцом 30 с уплотнительными элементами для плотного прилегания к стенкам корпуса 1. Планки 29 с прорезями 28 предотвращают шпиндель 6 от прокручивания и обеспечивают его поступательное движение. Кольцо 30 установлено таким образом, чтобы при опускании шпинделя 6 в крайнее нижнее положение отверстие 31, выполненное на корпусе 1, перекрывалось. В верхней части затвора 5 выполняют кольцевую проточку 32 и сквозные отверстиями 33 (см. фиг.3) для перепуска контролируемой среды из внутренней полости затвора 5 к отверстию 31 при верхнем положении затвора 5. Причем площадь сечения кольцевой проточки 32 должна быть не меньше площади сечения отверстия 31. Для свободного прохода через устройство контролируемой среды максимальная высота поднятия затвора 5 зависит от диаметра проходного отверстия 19 и определяется из равенства:

откуда

где

h - максимальная высота поднятия затвора 5, м;

d - диаметр проходного отверстия 19, м.

Для обеспечения беспрепятственного прохода контролируемой среды из входной полости 16 в выходную полость 17 и далее в резервуар диаметр проходного отверстия 19 делают равным диаметру трубопровода d=dтр. Мембранный клапан 9 установлен снаружи в верхней части корпуса 1, соединен с входной полостью 16 через выполненное в корпусе отверстие 31 и состоит из корпуса 34 с крышкой 35, мембраны 36, разделяющей мембранный клапан 9 на надмембранную полость 37 и подмембранную полость 38 с установленными в ней и прикрепленными к мембране 36 тарелкой 39 с пружиной 40 и штоком 41. Надмембранная полость 37 через сливную трубку уровня налива 10 соединена с резервуаром через отверстие, выполненное на заданном уровне налива контролируемой среды и с входной полостью 16, а трубка 12 соединяет верхнюю часть входной полости 16 через отверстие 31 с выходной полостью 17. Площадь сечения трубки 12 и отверстия 31 больше площади сечения зазора 20 и переливной трубки 14 для создания пониженного давления в верхней части входной полости 16 на уровне отверстия 31, а значит, внутри затвора 5. Размер мембранного клапана 9 и, следовательно, мембраны 36 выбирается из соотношения:

Sм×рсл.тр>Sс.ш×рн+Qпр;

где: Sм - площадь мембраны 36, м2,

рсл.тр - давление, создаваемое столбом контролируемой среды в сливной трубке уровня налива 10, Н/м2,

Sс.ш - площадь сечения штока 41, м2

рн - давление насоса для подачи контролируемой среды, Н/м2,

Qпр - усилие пружины 40, Н;

Причем давление рсл.тр зависит от высоты hсл.тр (м) сливной трубки уровня налива 10 и плотности γ к.с (кг/м3) контролируемой среды:

рсл.тр=hсл.тр×γ к.с.

Для предотвращения заклинивания затвора 5 в корпусе 1 его высота сообразуется с его диаметром и определяется из неравенства:

L3 - высота затвора 5, м,

d3 - диаметр затвора 5,м.

Для регулирования времени закрытия затвора 5 и предотвращения гидроудара, предусмотрена регулировка площади сечения фиксированного зазора 20 с помощью установки разрезного кольца 42 в паз 43 (см. фиг.4), выполненный в стенке затвора 5, или установка переливной трубки 14 с регулятором 15, соединяющей верхнюю и нижнюю части входной полости 16.

Корпус 1, крышка 4, затвор 5, корпус 34 с крышкой 35 мембранного клапана выполнены из конструкционной стали ст3, а мембрана 36 из эластичного материала, например фторопласта или резинотканевая. Собирают устройство в следующей последовательности. К корпусу 1 жестко или при помощи разъемного соединения крепят мембранный клапан 5. Мембранный клапан можно установить на крышке 4. Через центральное отверстие направляющей втулки 27, приваренной к крышке 4, устанавливают шпиндель 6 с хвостовиком 7 и фиксируют планками 29 через продольные боковые прорези 28 и проделанные в шпинделе 6 сквозные и перпендикулярные продольной оси отверстия (не показано), далее устанавливают кольцо 30 снизу с уплотнительными элементами на планки 29 и фиксируют поворотом его в Г-образных пазах, выполненных в верхней части кольца 30 (не показано). Затвор 5 крепят на хвостовике 7, вставляя его в фигурное установочное отверстие 23, и все это монтируют в корпусе 1. Сверху на шпиндель 6 устанавливают штурвал 24. Далее через фланцевое соединение устройство устанавливается на трубопроводе.

Устройство в режимах автоматической закачки, автоматического ограничителя уровня налива и автоматической откачки находится в исходной состоянии: шпиндель 6 и указатель 26 подняты в крайнее верхнее положение, затвор 5 - на седле проходного отверстия 19 и работает следующим образом. Закачиваемую насосом в резервуар контролируемую среду, например нефтепродукт, подают через входное отверстие 2 во входную полость 16. Обратный клапан 11 при этом закрывается. Контролируемая среда через зазор 20 попадает в верхнюю часть входной полости 16, заполняет ее и через отверстие 31 начинает поступать по трубке 12 в выходную полость 17. Так как площадь сечения зазора 20 меньше площади сечения трубки 12 и отверстия 31, то давление в верхней части входной полости 16 меньше давления в ее нижней части, и под действием повышенного давления на заплечики 21 затвор 5 поднимается и проходное отверстие 19 открывается и происходит процесс закачки контролируемой среды в резервуар. При достижении заданного уровня налива в резервуаре контролируемая среда через сливную трубку 10 попадает в надмембранную полость 37 и под действием давления столба контролируемой среды в сливной трубке уровня налива 10, действующего на мембрану 36, шток 41 перекрывает поток контролируемой среды, проходящей через отверстие 31 в трубку 12. Давление в верхней части входной полости 16 начинает возрастать и затвор 5 перекрывает проходное отверстие 19 и поступление контролируемой среды в резервуар прекращается. Выбирая размер площади сечения зазора 20 и/или величину перетока жидкости через регулятор 15, регулируют время перекрытия потока закачиваемой контролируемой среды затвором 5 и тем самым предотвращают гидроудар. Устройство в режиме автоматической откачки контролируемой среды из резервуара работает следующим образом. Давление во входной полости 16 понижается при включении насоса для откачки и под действием большего давления в выходной полости 17, создаваемого столбом контролируемой среды в резервуаре, затвор 5 поднимается и открывает проходное отверстие 19, при этом обратный клапан 13 закрывается. Одновременно сливается контролируемая среда из сливной трубки уровня налива 10 и из надмембранной полости 37 через обратный клапан 11. Шток 41 возвращается в исходное положение под действием пружины 40.

Устройство в режиме откачки и задвижки ″ открыто/закрыто″ работает следующим образом. Исходное состояние: шпиндель 6 и указатель 28 подняты в крайнее верхнее положение, затвор 5 - на седле проходного отверстия 19. Для принудительного закрывания проходного отверстия 19 штурвалом 24 опускают шпиндель 6 с указателем 26 в крайнее нижнее положение. При этом шпиндель 6 прижимает затвор 5 к седлу проходного отверстия 19. Одновременно с перемещением шпинделя 6 перемещается кольцо 30 с уплотнительными элементами и перекрывает отверстие 31. Для принудительного открывания штурвалом 24 поднимают шпиндель 6 и указатель 26 в крайнее верхнее положение, при этом затвор 5, подвижно связанный через вертикальный выступ 22 со шпинделем 6, поднимается и открывает проходное отверстие 19.

Если на трубопроводе уже смонтирована автономная задвижка ″ открыто/закрыто″ , то устройство может использоваться только для работы в режиме автоматического ограничителя уровня налива. Во втором варианте исполнения (см. фиг.2) устройство состоит из корпуса 1 с входным 2 и выходным 3 отверстиями, крышки 4, затвора 5, мембранного клапана 9, сливной трубки уровня налива 10 с обратным клапаном 11, трубки 12 с обратным клапаном 13 и переливной трубки 14 с регулятором 15. Внутренняя полость устройства разделена на две, входную 16 и выходную 17, полости посредством ступенчатой перегородки 18 с проходным отверстием 19 с образованием седла. В вертикальной, расположенной перпендикулярно к плоскости седла входной полости 16 размещен с фиксированным относительно стенок корпуса 1 зазором 20, равным 0,05-0,2 мм, и с возможностью относительного осевого перемещения затвор 5, выполненный в виде полого стакана со ступенчатым дном с образованием заплечиков 21, площадь которых зависит от диаметра трубопровода, давления подаваемой контролируемой среды, от веса затвора 5 и определяется опытным путем. В верхней части затвора 5 выполняют кольцевую проточку 32 и сквозные отверстиями 33 (см. фиг.3) для перепуска контролируемой среды из внутренней полости затвора 5 к отверстию 31 при верхнем положении затвора 5. Причем площадь сечения кольцевой проточки 32 должна быть не меньше площади сечения отверстия 31. Для свободного прохода через устройство контролируемой среды максимальная высота поднятия затвора 5 зависит от диаметра проходного отверстия 19 и определяется из равенства;

откуда

где

h - максимальная высота поднятия затвора 5, м;

d - диаметр проходного отверстия 19, м.

Для обеспечения беспрепятственного прохода контролируемой среды из входной полости 16 в выходную полость 17 и далее в резервуар диаметр проходного отверстия 19 делают равным диаметру трубопровода d=dтр. Мембранный клапан 9 установлен снаружи в верхней части корпуса 1, соединен с входной полостью 16 через выполненное в корпусе отверстие 31 и состоит из корпуса 34 с крышкой 35, мембраны 36, разделяющей мембранный клапан 9 на надмембранную полость 37 и подмембранную полость 38 с установленными в ней и прикрепленными к мембране 36 тарелкой 39 с пружиной 40 и штоком 41. Надмембранная полость 37 через сливную трубку уровня налива 10 соединена с резервуаром через отверстие, выполненное на заданном уровне налива контролируемой среды, и с входной полостью 16, а трубка 12 соединяет верхнюю часть входной полости 16 через отверстие 31 с выходной полостью 17. Площадь сечения трубки 12 и отверстия 31 больше площади сечения зазора 20 и переливной трубки 14 для создания пониженного давления в верхней части входной полости 16 на уровне отверстия 31, а значит, внутри затвора 5. Размер мембранного клапана 9 и, следовательно, мембраны 36 выбирается из соотношения:

Sм×рсл.тр>Sс.ш×рн+Qпр;

где: Sм - площадь мембраны 36, м2,

рсл.тр - давление, создаваемое столбом контролируемой среды в сливной трубке уровня налива 10, Н/м2,

Sс.ш - площадь сечения штока 41, м2,

рн - давление насоса для подачи контролируемой среды, Н/м2,

Qпр - усилие пружины 40, Н.

Причем давление рсл.тр зависит от высоты hсл.тр (м) сливной трубки уровня налива 10 и плотности γ к.с (кг/м3) контролируемой среды:

рсл.тр=hсл.тр×γ к.с.

Для предотвращения заклинивания затвора 5 в корпусе 1 его высота сообразуется с его диаметром и определяется из неравенства:

L3 - высота затвора 5, м,

d3 - диаметр затвора 5, м.

Для регулирования времени закрытия затвора 5 и предотвращения гидроудара предусмотрена регулировка площади сечения фиксированного зазора 20 с помощью установки разрезного кольца 42 в паз 43 (см. фиг.4), выполненный в стенке затвора 5, или установка переливной трубки 14 с регулятором 15, соединяющей верхнюю и нижнюю части входной полости 16.

Корпус 1, крышка 4, затвор 5, корпус 34 с крышкой 35 мембранного клапана выполнены из конструкционной стали ст3, а мембрана 36 из эластичного материала, например фторопласта или резинотканевая. Собирают устройство в следующей последовательности. К корпусу 1 жестко или при помощи разъемного соединения крепят мембранный клапан 9. Мембранный клапан можно установить на крышке 4. Далее через фланцевое соединение устройство устанавливается на трубопроводе.

Устройство в режиме автоматического ограничителя уровня налива (например, с автономной открытой задвижкой ″ открыто/закрыто″ ) работает следующим образом. Закачиваемую насосом в резервуар контролируемую среду, например нефтепродукт, подают через входное отверстие 2 во входную полость 16. Обратный клапан 11 при этом закрывается. Контролируемая среда через зазор 20 попадает в верхнюю часть входной полости 16, заполняет ее и через отверстие 31 начинает поступать по трубке 12 в выходную полость 17. Так как площадь сечения зазора 20 меньше площади сечения трубки 12 и отверстия 31, то давление в верхней части входной полости 16 меньше давления в ее нижней части, и под действием повышенного давления на заплечики 21 затвор 5 поднимается и проходное отверстие 19 открывается и происходит процесс закачки контролируемой среды в резервуар. При достижении заданного уровня налива в резервуаре контролируемая среда через сливную трубку 10 попадает в надмембранную полость 37 и под действием давления столба контролируемой среды в сливной трубке уровня налива 10, действующего на мембрану 36, шток 41 перекрывает поток контролируемой среды, проходящей через отверстие 31 в трубку 12. Давление в верхней части входной полости 16 начинает возрастать и затвор 5 перекрывает проходное отверстие 19 и поступление контролируемой среды в резервуар прекращается. Выбирая размер площади сечения зазора 20 и/или величину перетока жидкости через регулятор 15, регулируют время перекрытия потока закачиваемой контролируемой среды затвором 5 и тем самым предотвращают гидроудар.

Таким образом, предлагаемая конструкция автономного устройства ограничения уровня налива позволяет производить закачку и откачку контролируемой среды в резервуары в автоматическом режиме, обеспечивая безопасное автоматическое перекрытие потока контролируемой среды при достижении заданного уровня налива в резервуарах по трубопроводам любого диаметра, а также при необходимости работающего в режиме задвижки ″ открыто/закрыто″ .

1. Автономное устройство ограничения уровня налива в резервуар, содержащее корпус с входным и выходным отверстиями и с внутренней полостью, разделенной на две - входную и выходную - полости посредством ступенчатой перегородки с проходным отверстием, крышку, установленный через центральное отверстие крышки привод, расположенный во входной полости и закрепленный на крышке шпиндель с хвостовиком, верхняя часть шпинделя выполнена с радиальными отверстиями, причем на шпинделе установлены жестко кольцо и с возможностью относительного осевого перемещения затвор в виде стакана, разделяющий входную полость на верхнюю и нижнюю части, мембранный клапан с мембраной с образованием надмембранной и подмембранной полостей, отличающееся тем, что содержит сливную трубку уровня налива с обратным клапаном, соединяющую надмембранную полость мембранного клапана с резервуаром через отверстие, выполненное на уровне заданного налива контролируемой среды, и с нижней частью входной полости, трубку с обратным клапаном, соединяющую верхнюю часть входной полости с выходной полостью, при этом подмембранная полость с прикрепленной к мембране тарелкой с пружиной и штоком соединена через отверстие с верхней частью входной полости, размер мембранного клапана выбирается из соотношения:

Sм·рсл.тр>Sс.ш·ρ н+Qпр,

где Sм - площадь мембраны, м2,

pсл.тр - давление, создаваемое столбом контролируемой среды в сливной трубке уровня налива, Н/м2;

Sс.ш - площадь сечения штока, м2;

pн - давление насоса для подачи контролируемой среды, Н/м2;

Qпр - усилие пружины, Н,

давление pсл.тр зависит от высоты hсл.тр (м) сливной трубки уровня налива и плотности γ к.с (кг/м3) контролируемой среды:

pсл.тр=hсл.тр·γ к.с,

причем с внутренней стороны крышки установлена направляющая втулка с продольными боковыми прорезями для двух планок и с установленным на них кольцом, а затвор выполнен со ступенчатым дном с образованием заплечиков и расположен с фиксированным зазором относительно стенок, с внутренней стороны ступенчатого дна затвора выполнен с установочным отверстием под хвостовик вертикальный выступ, соединяющий затвор через шпиндель с приводом, при этом максимальная высота поднятия затвора зависит от диаметра проходного отверстия и определяется из равенства:

откуда

где

h - максимальная высота поднятия затвора, м;

d - диаметр проходного отверстия, м.

2. Устройство по п.1, отличающееся тем, что содержит переливную трубку с регулятором, соединяющую верхнюю и нижнюю части входной полости.

3. Устройство по п.1, отличающееся тем, что кольцо установлено таким образом, что при опускании шпинделя в крайнее нижнее положение перекрывается выполненное в верхней части входной полости отверстие.

4. Устройство по п.1, отличающееся тем, что в верхней части затвора выполнена кольцевая проточка с радиальными отверстиями, площадь сечения кольцевой проточки не меньше площади сечения отверстия, выполненного в верхней части входной полости.

5. Устройство по п.1, отличающееся тем, что установлено разрезное кольцо в паз, выполненный в стенке затвора.

6. Устройство по п.1, отличающееся тем, что мембранный клапан установлен на крышке.

7. Устройство по п.1, отличающееся тем, что корпус, крышка, затвор и корпус мембранного клапана с крышкой выполнены из конструкционной стали ст3.

8. Автономное устройство ограничения уровня налива в резервуар, содержащее корпус с входным и выходным отверстиями и с внутренней полостью, разделенной на две - входную вертикальную и выходную - полости посредством ступенчатой перегородки с проходным отверстием, крышку, затвор в виде стакана, разделяющий входную полость на верхнюю и нижнюю части, мембранный клапан с мембраной с образованием надмембранной и подмембранной полостей, отличающееся тем, что содержит сливную трубку уровня налива с обратным клапаном, соединяющую надмембранную полость мембранного клапана с резервуаром через отверстие, выполненное на уровне заданного налива контролируемой среды, и с нижней частью входной полости, трубку с обратным клапаном, соединяющую верхнюю часть входной полости с выходной полостью, подмембранная полость с прикрепленной к мембране тарелкой с пружиной и штоком соединена через отверстие с верхней частью входной полости, причем размер мембранного клапана, выбирается из соотношения:

Sм·рсл.тр>Sс.ш·ρ н+Qпр,

где Sм - площадь мембраны, м2;

pсл.тр - давление, создаваемое столбом контролируемой среды в сливной трубке уровня налива, Н/м2;

Sс.ш - площадь сечения штока, м2;

pН - давление насоса для подачи контролируемой среды, Н/м2;

Qпр - усилие пружины, Н,

давление pсп.тр зависит от высоты hсл.тр (м) сливной трубки уровня налива и плотности γ к.с(кг/м3) контролируемой среды:

pсл.тр=hсл.тр·γ к.с,

при этом затвор выполнен в виде стакана со ступенчатым дном с образованием заплечиков и расположен с фиксированным зазором относительно стенок корпуса, при этом максимальная высота поднятия затвора зависит от диаметра проходного отверстия и определяется из равенства:

откуда

где

h - максимальная высота поднятия затвора, м;

d - диаметр проходного отверстия, м.

9. Устройство по п.8, отличающееся тем, что содержит переливную трубку с регулятором, соединяющую верхнюю и нижнюю части входной полости.

10. Устройство по п.8, отличающееся тем, что в верхней части затвора выполнена кольцевая проточка с радиальными отверстиями, площадь сечения кольцевой проточки не меньше площади сечения отверстия, выполненного в верхней части входной полости.

11. Устройство по п.8, отличающееся тем, что установлено разрезное кольцо в паз, выполненный в стенке затвора.

12. Устройство по п.8, отличающееся тем, что мембранный клапан установлен на крышке.

13. Устройство по п.8, отличающееся тем, что корпус, крышка, затвор и корпус мембранного клапана с крышкой выполнены из конструкционной стали ст3.