Способ поддержания движения батальона сухопутных войск реактивной системой залпового огня и реактивная установка для его осуществления

Иллюстрации

Показать все

Изобретение относится к военной технике, конкретно к реактивным артиллерийским установкам. Сущность способа заключается в том, что реактивным установкам первоначально выдают координаты по осям X, Y, дальности и направления стрельбы из контролируемых точек на всем пути выхода на огневой рубеж. Осуществляют открытие огня по команде, продолжая движение или делая короткие остановки. По результатам не менее двух прицельных выстрелов оценивают пристрелку и назначают новые координаты на поражение залпом одновременно со всех реактивных установок. В устройстве пакет направляющих цилиндров выполнен с возможностью поворота на 360° вокруг оси пускового устройства и снабжен уравновешивающим механизмом. Устройство заряжания состоит из основного и вспомогательного автоматических механизмов заряжания, снабженных системой двойной электромагнитной фиксации. Система наведения выполнена в виде сельсинов радиолокационной станции и дополнительно снабжена гироскопом и азимутальной насадкой. Центральные оси пакета направляющих цилиндров и прицела снабжены плавающими прицельными приспособлениями. Технический результат изобретения состоит в повышении надежности и эксплуатационных характеристик реактивной системы залпового огня. 2 н. и 6 з.п. ф-лы, 4 ил.

Реферат

Изобретение относится к реактивным артиллеристским установкам, стреляющим на ходу, для поддержания батальона сухопутных войск, а именно к механизмам заряжания, наведения, стабилизации, а также к способам ведения огня при помощи реактивных артиллерийских установок.

Известна система "Град" [1], в которой механизм автоматического заряжания отсутствует, наведение трубчатых направляющих осуществляют вручную, стабилизация пакета направляющих отсутствует, а стабилизация снаряда в полете осуществляется за счет хвостового оперения. Пакет направляющих металлических труб, установленный на боевую машину (БМ), заменен на два моноблока из композитных материалов. Перезаряжание БМ производится при помощи грузоподъемных средств за время до 5 мин.

Важным недостатком, системы "Град" является длительное время на подготовку к выполнению боевой задачи по поддержке сухопутных войск из-за низкой мобильности и большого количества подготовительных действий по разворачиванию орудий, обработки данных привязки и ведения огня.

Известен переносной комплекс "Град-П" [2], смонтированный на основе ПУ 9П132, представляющий собой трубчатую направляющую. В боекомплект комплекса входит несколько снарядов. Механизмы заряжания и наведения ручные, стабилизация направляющей трубы отсутствует.

Переносной комплекс "Град-П", весящий 35 кг, более мобилен для поддержания действий пехоты, однако из-за небольшого размера боекомплекта не обладает достаточной ударной огневой мощностью для ведения залпового огня, так как ведение огня производится с треноги, установленной на земле. Он также не позволяет выполнять задачу по огневой поддержке движения батальона сухопутных войск в движении (наступление, отход).

Целью изобретения является создание мобильной и надежной реактивной системы залпового огня, поддерживающей движение батальона сухопутных войск как при наступлении, так и отходе.

Указанная цель достигается тем, что в реактивной системе залпового огня, поддерживающей движение батальона сухопутных войск, реактивным установкам, следующим на удалении 2-4 км от боевых порядков батальона, командиром батареи первоначально выдаются координаты по осям X, Y; дальности и направления стрельбы из контролируемых точек на всем пути выхода на огневой рубеж. При прохождении реактивными установками контролируемых точек они открывают огонь по команде, продолжая движение или делая короткие остановки, по результатам не менее 2-х прицельных выстрелов оценивают пристрелку и назначают новые координаты на поражение залпом одновременно со всех ракетных установок.

В реактивной установке залпового огня для поддержания движения батальона сухопутных войск пакет направляющих пускового устройства выполнен с возможностью поворота на 360° вокруг оси пускового устройства и снабжен уравновешивающим механизмом. Устройство заряжания состоит из основного и вспомогательного автоматических механизмов заряжания, снабженных системой двойной электромагнитной фиксации. Управление системой наведения осуществляется сельсинами радиолокационной станции, и дополнительно система наведения снабжена гироскопом и азимутальной насадкой, а центральные оси пакета направляющих пускового устройства и перископа снабжены плавающими прицельными приспособлениями.

Плавающие прицельные приспособления выполнены в виде шкал, свободно висящих под действием силы тяжести, и шарнирно закрепленных стрелок на осях пускового устройства и прицела.

Основной механизм заряжания реактивной установки состоит из: расположенной на вертикальных винтовых опорах платформы для подъема пакета снарядов с металлическими прутками, образующих в направлении вертикальной и горизонтальной оси платформы ряды цилиндрических направляющих длиной не менее длины снаряда; расположенной на горизонтальных винтовых опорах штанги с рядом толкателей для подачи снарядов в пакет направляющих.

Вспомогательный механизм заряжения реактивной установки состоит из: расположенной на горизонтальных винтовых опорах платформы для подачи снарядов с металлическими прутками, образующих в направлении вертикальной и горизонтальной оси платформы ряды цилиндрических направляющих длиной не менее длины снаряда; расположенной на горизонтальных винтовых опорах штанги с рядом толкателей для подачи снарядов в пакет направляющих.

Цилиндрические направляющие на платформах для пакетов снарядов основного, вспомогательного механизма заряжания и толкатели на штангах этих механизмов расположены соосно.

Платформа для подъема пакета снарядов основного механизма заряжания, платформа для подачи пакета снарядов вспомогательного механизма заряжания, штанги с рядом толкателей приводятся в движение двигателем постоянного тока через металлические цепи при помощи передающих звездочек, расположенных на винтовых опорах. Кроме того, каждый из толкателей выполнен в виде двух металлических стаканов, вложенных друг в друга соосно, причем внутренний стакан выступает из внешнего со стороны подачи снаряда, а между ними расположена пружина.

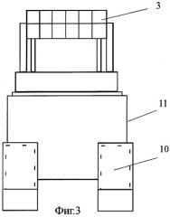
На фиг.1 изображена реактивная установка залпового огня, вид сбоку. На фиг.2 - вид сверху, на фиг.3 - вид спереди, где цифрами обозначены 1 - кабина пускового устройства (ПУ), в которой размещаются командир, механик-водитель, пулеметчик-заряжающий; 2 - кабина наводчика, 3 - пакет направляющих ПУ, 4 - уравновешивающее устройство, 5 - механизм привода пакета направляющих ПУ по горизонтали и вертикали, 6 - основной механизм заряжания, 7 - вспомогательный механизм заряжания, 8 - люк основного механизма заряжания, 9 - двигатель внутреннего сгорания, 10 - шасси БМП, 11 - кузов реактивной установки.

На фиг.4 изображена схема выдвижения реактивных установок на огневые рубежи, где а, b, с, d - контролируемые точки пути выхода на огневой рубеж, треугольниками со стрелками обозначен огневой рубеж реактивных установок, НП - наблюдательный пункт командира батареи реактивных установок, треугольниками без стрелок и кривыми со штрихами обозначена диспозиция противника.

Приведение в боевую готовность реактивной установки (РУ) осуществляют следующим образом:

- проверяют внешним осмотром исправность всех механизмов вручную;

- производят выверку прицельных приспособлений и пакета направляющих ПУ 3 на параллельность осей (соосность) при "0" угла возвышения по уровню;

- запускают генератор постоянного тока;

- загружают пакеты направляющих ПУ 3 боеприпасами (60 снарядов);

- запускают систему горизонтального и вертикального наведения;

- запускают навигационное оборудование для определения координат движения батареи на машине старшего офицера на батарее (СОБ).

Предлагаемое изобретение в боевых условиях работает следующим образом. Управление огнем реактивной системы ведется командиром батареи с НП, находящегося на командном пункте командира батальона, на который передаются сведения от разведчиков. Командир батареи определяет координаты цели при помощи буссоли и дальномера, на приборе управления огнем наносит цель, огневую позицию, определяет дальность и направление стрельбы, которые передаются затем СОБ и командирам РУ. При этом учитывается тот фактор, что скорость движения РУ в момент ведения огня - 250 м/мин, а подготовка и передача распоряжений командира батареи происходит в течение 1-2 мин.

Координаты цели определяют известным методом, а координаты ведения огня назначают по маршрутам движения РУ через определенные интервалы. Заранее готовятся данные для наводчиков РУ в контролируемых точках пуска а, b, с, d (дальность и направление стрельбы), и осуществляют их передачу до выхода РУ на огневые рубежи.

Получив данные, наводчик РУ на пульте управления с помощью системы наведения вводит данные прицелов и совмещает стрелку горизонтального наведения со шкалой на заданный дирекционный (азимутальный) угол. При прохождении заданных по карте точек а, b, с, d наводчик по команде командира РУ открывает огонь одиночными снарядами (пристрелка) или производит залповый огонь с помощью автоматического ПУ. По результатам не менее 2-х прицельных выстрелов оценивают пристрелку каждой РУ и назначают новые координаты на поражение залпом одновременно со всех РУ.

В отличие от существующей наземной артиллерии, которая стреляет из закрытой огневой позиции стационарно, предлагаемая реактивная установка ведет огонь по закрытым целям в движении или делая короткие остановки. Огонь батарея РУ может вести как при движении в колонне, так и при развертывании во фронт.

Благодаря уравновешивающему механизму 4 положение пакета направляющих ПУ 3 остается независимым от качания и изменений направления движения РУ, т.е. углы возвышения и наведения находятся в стабилизированном состоянии.

Угол наведения пакета направляющих ПУ 3 находится в интервале от -10° до 46° по вертикали и от 0° до 360° по горизонтали. При отходе батальона огонь РУ ведется в тыл и во фланги, а при наступлений - во фронт и во фланги.

При стрельбе прямой наводкой в РУ обеспечена двойная фиксация снаряда в цилиндрической направляющей ПУ, гарантирующая от его выпадения при отрицательном угле наклона, такая же фиксация снаряда предусмотрена при угле возвышения.

При отключении первого контура системы фиксации срабатывает второй контур, а при отключении второго контура уже возможен пуск снаряда. Система двойной электромагнитной фиксации обеспечивает ведение одиночного и залпового огня при прямой наводке. В РУ использована известная электрическая система пуска снарядов, включающая пульт пуска, на котором размещены пускатели с номерами каждой цилиндрической направляющей.

Заряжающий-пулеметчик автоматически заполняет освободившийся пакет направляющих ПУ 3 снарядами с помощью основного механизма заряжания 6, а освободившийся от снарядов основной механизм заряжания 6 автоматически заполняется с помощью вспомогательного механизма заряжания 7. Пополнение боезапасов РУ обеспечивается взводом подвоза боеприпасов.

При выходе на огневой рубеж, производя пристрелку, РУ подвергается воздействию со стороны противника, но благодаря ее движению вероятность попадания снарядов противника снижена по сравнению с известными стационарными артиллерийскими установками. В сравнении с известными движущимися наземными средствами ведения огня (танк, “Оса”, “Тор” [3]), ведущим в основном прицельный огонь, предлагаемая реактивная система позволяет осуществить залповый огонь по закрытым целям, накрывающий площадь в 6 га, что снижает вероятность их уничтожения до выхода РУ на пристреленные противником огневые рубежи.

Если установка не вышла в заданную точку пуска, то СОБ сообщает об этом командиру батареи, назначаются новые контрольные точки а', b', с', d', удобные для ведения огня. Эффективность ведения огня по закрытым целям в движении не снижается благодаря тому, что данные стрельбы заранее подготовлены на КП и сообщаются РУ до их выхода в контрольные точки а, b, с, d. При этом время на поражение цели существенно ниже, чем в существующих артиллерийских системах.

Для обеспечения выполнения современных задач по уничтожению противника может быть использована доработанная автоматизированная система управления (АСУ) наземной артиллерией, расположенная у СОБ, командира батареи и обеспечивающая существенное снижение времени выполнения боевой задачи.

Предлагаемая реактивная система ведения залпового огня для поддержания движения сухопутных войск позволяет выполнять боевые задачи на дальность до 11 км. Осуществляет залповый огонь 60 снарядами (одновременно по 20 в каждом из трех залпов), может осуществлять стрельбу прямой наводкой в стабилизированном режиме по ходу своего движения одиночными или залпом 122 мм реактивными снарядами 9М22М, круговой сектор обстрела равен 360°. Эти признаки создают следующие преимущества предлагаемого изобретения: существенно повышается неуязвимость батареи РУ сухопутных войск, так как она постоянно находится в движении, имеется возможность оперативного изменения направления ведения огня при ее движении, что позволяет эффективно использовать реактивную систему как при наступлении (фронт, фланги), так и при отходе (тыл, фланги). Боевой расчет РУ сокращен до 4 человек. Автоматическая система заряжания РУ позволяет сократить время выполнения боевой задачи на порядок.

Источники, принятые во внимание

1. Реактивные системы залпового огня. http://www.military.vtsnet/military/reaczalp.htm.

2. 122-мм система “Град”. Энциклопедия вооружений. Наземные войска. http://www.megakm.../encyclop.asp?topic= War_Cont_PZP_2955&rubr=Wаr_Cont_PZP_295 (прототип).

3. Боевая машина 9А330 автономного ракетного комплекса "ТОР". http://izhevsk.iemz.ru/tor/html.

1. Способ поддержания движения батальона сухопутных войск реактивной системой залпового огня, включающий подготовку координат контролируемых точек для огневой позиции реактивных установок, выдвижение войск на заданные позиции и открытие огня по команде, отличающийся тем, что реактивным установкам первоначально выдают координаты по осям X, Y, дальности и направления стрельбы из контролируемых точек на всем пути выхода на огневой рубеж, осуществляют открытие огня по команде при прохождении реактивными установками контролируемых точек, продолжая движение или делая короткие остановки, по результатам не менее двух прицельных выстрелов оценивают пристрелку и назначают новые координаты на поражение залпом одновременно со всех реактивных установок.

2. Реактивная установка залпового огня для поддержания движения батальона сухопутных войск, включающая кузов, пакет направляющих цилиндров на кузове пускового устройства, устройство заряжания и систему наведения, отличающаяся тем, что пакет направляющих цилиндров пускового устройства выполнен с возможностью поворота на 360° вокруг оси пускового устройства и снабжен уравновешивающим механизмом, устройство заряжания состоит из основного и вспомогательного автоматических механизмов заряжания, снабженных системой двойной электромагнитной фиксации, система наведения выполнена в виде сельсинов радиолокационной станции и дополнительно снабжена гироскопом и азимутальной насадкой, а центральные оси пакета направляющих цилиндров и прицела снабжены плавающими прицельными приспособлениями.

3. Реактивная установка по п.2, отличающаяся тем, что плавающие прицельные приспособления выполнены в виде шкал, свободно висящих под действием силы тяжести и стрелок, шарнирно закрепленных на осях пакета направляющих цилиндров пускового устройства и прицела.

4. Реактивная установка по п.2, отличающаяся тем, что основной механизм заряжания состоит из расположенной на вертикальных винтовых опорах основной платформы для пакета снарядов и расположенной на горизонтальных винтовых опорах штанги с рядом толкателей для подачи снарядов в пакет направляющих цилиндров пускового устройства.

5. Реактивная установка по п.2, отличающаяся тем, что вспомогательный механизм заряжания состоит из расположенной на горизонтальных винтовых опорах вспомогательной платформы для подачи пакета снарядов и расположенной на горизонтальных винтовых опорах штанги с рядом толкателей для подачи снарядов в пакет направляющих цилиндров.

6. Реактивная установка по п.4 или 5, отличающаяся тем, что на основной и вспомогательной платформах для пакетов снарядов расположены металлические прутки с образованием в направлении вертикальных и горизонтальных осей платформ рядов направляющих цилиндров длиной не менее длины снаряда, а толкатели на штангах расположены соосно с направляющими цилиндрами для снарядов.

7. Реактивная установка по любому из пп.4-6, отличающаяся тем, что платформы для пакетов снарядов и штанги с рядами толкателей основного и вспомогательного механизмов заряжания приводят в движение двигателями постоянного тока через металлические цепи при помощи передающих звездочек, расположенных на винтовых опорах.

8. Реактивная установка по п.6, отличающаяся тем, что каждый из толкателей выполнен в виде двух металлических стаканов, вложенных друг в друга соосно, причем внутренний стакан выступает из внешнего со стороны подачи снаряда, а между ними расположена пружина.