Способ эксплуатации скважины погружным электронасосом с частотно-регулируемым приводом

Иллюстрации

Показать все

Изобретение относится к способам для добычи нефти из скважин, оснащенных электропогружными насосами, и может быть использовано для повышения эффективности эксплуатации скважины, увеличения добычи нефти и обеспечения оптимальных условий работы погружного насоса путем обеспечения ограничений по вибрациям и температуре с дополнительным учетом влияющих контролируемых параметров. Обеспечивает повышение эффективности эксплуатации скважины, коэффициента нефтеотдачи и межремонтного периода. Сущность изобретения: по способу осуществляют регулирование работы насосной установки путем управления частотно-регулируемым приводом давления и подачей, измерения температуры скважинной жидкости на приеме насоса, измерения и ограничения температуры внутри корпуса приводного электродвигателя. Осуществляют измерения виброускорения в двух плоскостях корпуса и давления в компенсаторе гидрозащиты приводного электродвигателя. При этом предварительно определяют фактическую индикаторную диаграмму скважины. Пересчитывают измеренное давление на приеме насоса в соответствующие значения забойного давления. Выбирают рабочую точку на фактической индикаторной диаграмме. Находят требуемую величину забойного давления. Устанавливают и поддерживают ее путем управления частотно-регулируемым приводом, обеспечивая монотонность переходного процесса с учетом динамических характеристик скважины. Управление частотно-регулируемым приводом осуществляют с учетом ограничения по предельно допускаемым величинам виброускорений в двух плоскостях корпуса погружного приводного электродвигателя. Ограничение температуры внутри корпуса электродвигателя корректируют с учетом температуры скважинной жидкости на приеме насоса, давления в компенсаторе гидрозащиты погружного приводного электродвигателя и скоростей их изменения. 2 з. п. ф-лы, 4 ил.

Реферат

Способ эксплуатации скважины погружным электронасосом с частотно-регулируемым приводом относится к области добычи нефти и может быть использован для повышения эффективности работы скважины.

Известен способ автоматического регулирования режима работы скважины, оборудованной погружным центробежным электронасосом, путем изменения частоты питающей его сети, поддержания с помощью регулируемого штуцера в заданных пределах давления на приеме насоса и давления на устье скважины при максимально-возможной производительности насоса, задания и измерения температуры внутри корпуса погружного приводного электродвигателя для поддержания ее в заданных пределах путем дополнительного регулирования частоты вращения электродвигателя (см. патент RU 2140523).

К причинам, препятствующим достижению указанного ниже технического результата при использовании известного способа, относится то, что этот способ при эксплуатации скважины не позволяет оперативно учитывать фактические характеристики и прямые параметры системы “пласт - скважина - погружной электронасос”. Кроме того, дросселирование на устье скважины исключает максимально-возможную производительность насоса вследствие избыточных затрат электроэнергии приводного электродвигателя и его повышенной нагрузки.

Наиболее близким по совокупности признаков способом к заявляемому способу является способ эксплуатации скважины с погружным электронасосом, который предусматривает измерение и регулирование давления и подачи, измерение температуры скважинной жидкости на приеме насоса, измерение и ограничение температуры внутри корпуса приводного электродвигателя, измерение виброускорений в двух плоскостях корпуса и давления в компенсаторе гидрозащиты погружного приводного электродвигателя (см. Руководство по эксплуатации блока погружного БП для отслеживания текущих параметров в забое скважины ЦВИЯ.468154.002 РЭ. - ОАО “Ижевский радиозавод”, 2001). Этот способ принят за прототип. К причинам, препятствующим достижению указанного ниже технического результата при использовании известного способа, относится то, что измерение и регулирование параметров ведут без привязки к фактической индикаторной диаграмме скважины (выбору рабочей точки) и ее управляющему фактору - забойному давлению, а также без учета обеспечения требуемой монотонности процесса (без бросков и колебаний).

Сущность изобретения заключается в следующем. Режим работы скважины задают с помощью частотно-регулируемого привода, выбирая рабочую точку (коэффициент продуктивности скважины) на фактической индикаторной диаграмме скважины, предварительно снятой, например, при ее запуске, по соответствующей величине забойного давления, которое находят по измеренному давлению на приеме насоса. При этом при установке и поддержании забойного давления обеспечивают монотонный (апериодический) переходный процесс, дополнительно осуществляют непрерывное ограничение вибраций корпуса приводного электродвигателя, а также поддержание температуры внутри корпуса приводного электродвигателя с учетом изменения температуры скважинной жидкости на приеме насоса и давления в компенсаторе гидрозащиты приводного электродвигателя и скоростей их изменения.

Достигаемый технический результат - повышение эффективности эксплуатации скважины, увеличение добычи нефти, коэффициента нефтеотдачи и межремонтного периода, снижение производственных издержек за счет использования технологии автоматической настройки и поддержания оптимального значения забойного давления по предварительно определенной фактической индикаторной диаграмме с обеспечением качества переходных процессов и оптимальных условий работы погружного насоса путем обеспечения ограничений по вибрациям и температуре с дополнительным учетом влияющих контролируемых параметров.

Указанный технический результат при осуществлении способа достигается тем, что в способе эксплуатации скважины погружным электронасосом с частотно-регулируемым приводом, включающем измерение и регулирование давления и подачи, измерение температуры скважинной жидкости на приеме насоса, измерение и ограничение температуры внутри корпуса, измерение виброускорений в двух плоскостях корпуса, давления в компенсаторе гидрозащиты погружного приводного электродвигателя, отличительная особенность заключается в том, что предварительно, например в процессе запуска и вывода скважины на режим, определяют ее фактическую индикаторную диаграмму, пересчитывая измеренное давление на приеме насоса в соответствующее значение забойного давления, выбирают рабочую точку на фактической индикаторной диаграмме и находят требуемую величину забойного давления, устанавливают и поддерживают ее путем управления частотно-регулируемым приводом, обеспечивая монотонный переходный процесс по забойному давлению с учетом динамических характеристик скважины. Дополнительно управление частотно-регулируемым приводом ведут с учетом ограничений по предельно допустимым величинам виброускорений в двух плоскостях корпуса погружного приводного электродвигателя. Кроме того, дополнительно ограничение температуры внутри корпуса погружного приводного электродвигателя проводят с учетом температуры скважинной жидкости на приеме насоса и давления в компенсаторе гидрозащиты приводного электродвигателя, а также скоростей их изменения.

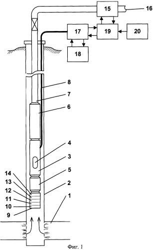
На фиг.1 представлена структурная схема скважины, оборудованной погружным электронасосом с частотно-регулируемым приводом; на фиг.2 - индикаторная диаграмма скважины и обобщенные характеристики погружного электронасоса в скважине при разных частотах тока, питающего приводной электродвигатель; на фиг.3 - блок-схема алгоритма осуществления способа, на фиг.4 - графики регулирования забойного давления.

Скважина, оснащенная погружным электронасосом с частотно-регулируемым приводом (фиг.1), содержит продуктивный пласт 1, эксплуатационную колонну 2, погружной приводной электродвигатель 3 с датчиком 4 температуры внутри его корпуса, например обмотки статора электродвигателя, и компенсатором 5 гидрозащиты, насос 6, насосно-компрессорную трубу 7, силовой токоподводящий кабель 8, блок 9 погружной телеметрии с датчиками 10 давления и 11 температуры скважинной жидкости на приеме насоса 6, датчиками 12 и 13 виброускорений в двух плоскостях корпуса электродвигателя 3, датчиком 14 давления в компенсаторе 5 гидрозащиты электродвигателя 3, расходомер 15 скважинной жидкости, например автоматическую групповую замерную установку, объемную или весовую, в выкидной линии 16 скважины, станцию 17 управления приводным электродвигателем с силовым трансформатором (на фиг.1 условно не показан), частотный преобразователь 18, контроллер 19 контроля и управления скважиной, задатчик 20 у ставок режима эксплуатации скважины.

Источником скважинной жидкости является продуктивный пласт 1, сообщение с которым осуществляется через перфорационные отверстия в обсадной колонне 2 скважины. Основными параметрами погружного электронасоса, состоящего из собственного насоса 6, например центробежного, и приводного электродвигателя 3, образующего совместно с частотным преобразователем 18, станцией 17 управления и контроллером 19 частотно-регулируемый привод, является производительность QЖ3/сут), развиваемый напор Н (м вод. ст.), а также наличие на приеме насоса 6 давления не ниже заданного значения при различных частотах fI тока на выходе частотного преобразователя 18, то есть частоте n вращения ротора электродвигателя 3 и, соответственно, насоса 6 (фиг.2). В качестве приводного электродвигателя 3 применяют асинхронный электродвигатель с компенсатором 5 гидрозащиты, предназначенным для выравнивания давления, измеряемого датчиком 14, и пополнения компенсатора маслом.

Силовой токопроводящий кабель 8 служит для подвода электроэнергии к приводному электродвигателю 3 и передачи сигналов от блока 9 погружной телеметрии, включающего датчики 10-14, на поверхность.

Расходомер 15 скважинной жидкости осуществляет измерение текущего дебита скважины, в том числе с разделением по продукту и воде.

Станция 17 управления (совместно с силовым трансформатором) предназначена для управления, питания и защиты приводного электродвигателя 3 в совокупности с частотным преобразователем 18, устанавливающим частоту fI питающего тока на зажимах приводного электродвигателя 3 с целью регулирования скорости вращения его ротора и, соответственно, ротора насоса 6.

Погружной приводной электродвигатель 3 с компенсатором 5 гидрозащиты, блоком 9 погружной телеметрии, насос 6, станция 17 управления (с силовым трансформатором), частотный преобразователь 18 образуют комплектную регулируемую насосную установку.

Контроллер 19 осуществляет функции контроля и управления ходом технологического процесса эксплуатации скважины по данным погружного блока 9 телеметрии и расходомера 15 скважинной жидкости путем регулирования настроек станции 17 управления, частотного преобразователя 18 и расходомера 15. Задатчик 20 уставок режима эксплуатации скважины, обычно установленный в диспетчерском пункте цеха добычи нефти, служит для ввода в контроллер 19 уставок (данных) о требуемых величинах параметров и ограничениях, обеспечивающих заданный режим эксплуатации скважины.

Способ эксплуатации скважины погружным электронасосом с частотно-регулируемым приводом реализуют следующим образом.

Жидкость из пласта 1 притекает через перфорационные отверстия в эксплуатационную колонну 2 скважины. Погружной приводной электродвигатель 3, снабженный датчиком 4 температуры внутри его корпуса и компенсатором 5 гидрозащиты, вращает ротор насоса 6. Далее жидкость по насосно-компрессорной трубе 7 подают на поверхность. Электропитание приводного электродвигателя осуществляют по силовому токоподводящему кабелю 8. С помощью блока 9 погружной телеметрии, состыкованного с приводным электродвигателем 3, измеряют датчиками 10 и 11 давление РПР и температуру ТПР на приеме насоса, датчиками 12 и 13 - виброускорения α X и α Y в двух плоскостях корпуса электродвигателя 3, а также и насоса 6 с учетом их жесткого соединения и наличия общего ротора (вала), датчиком 14 давления - давление РK в компенсаторе 5 гидрозащиты электродвигателя 3. Информационные сигналы от блока 9 погружной телеметрии, включающего датчики 10-14, подают в модулированной форме по силовому токоподводящему кабелю 8 на поверхность. Текущий дебит скважины измеряют с помощью расходомера 15 скважинной жидкости, установленного в выкидной линии 16. Управление электропитанием с обеспечением необходимых защит от нештатных режимов по току, напряжению, температуре Тд внутри корпуса и виброускорениям α X и α y приводного электродвигателя 3 осуществляет станция 17 управления по командам контроллера 19.

Режим работы динамической системы “пласт - скважина - насосная установка” устанавливают и регулируют (поддерживают) путем изменения производительности насосной установки с помощью частотного преобразователя 18 в функции забойного давления скважины, соответствующей условию согласования характеристики истечения, определяемой производительностью насоса 3, и характеристики притока (реальной индикаторной диаграммой скважины) в заданной рабочей точке (фиг.2). Установка, регулирование, поддержание режимов работы производят скважинным контроллером 19 с обеспечением монотонности переходных процессов (без колебаний и бросков) и ограничений по предельным виброускорениям и температуре внутри корпуса приводного электродвигателя 3 с учетом температуры скважинной жидкости и давления в компенсаторе 5 гидрозащиты электродвигателя. Контроллер 19 получает и обрабатывает информацию от блока 9 погружной телеметрии, станции 17 управления, расходомера 15 и выдает команды управления на станцию 17 управления с частотным преобразователем 18, задавая и регулируя скорость вращения ротора электродвигателя 3 и тем самым подачу насоса 6 и требуемую рабочую точку на индикаторной диаграмме.

С помощью задатчика 20 контроллер 19 предварительно формирует и задает требуемые режимы: снятие индикаторной диаграммы (характеристики притока) при запуске скважины; вывод на заданное забойное давление; поддержание (автоматическое регулирование) установленной величины забойного давления по требуемому закону регулирования для обеспечения монотонности процесса; а также установка предельных допускаемых значений электрических параметров, температур ТПР на приеме насоса и Тд внутри электродвигателя, виброускорений α X и α Y его корпуса в двух плоскостях, давления РK масла в компенсаторе 5 гидрозащиты электродвигателя.

На фиг.2 представлены кривые притока и истечения жидкости в скважине, оснащенной погружным электронасосом с частотно-регулируемым приводом, в координатах “дебит жидкости QЖ - забойное давление РЗ”.

Линия 1 представляет характеристику притока - индикаторную диаграмму скважины. Линии 2, 3, 4 обозначают характеристики истечения жидкости при разных частотах fI (f2, f3, f4), регулируемых частотным преобразователем 18, тока, питающего приводной электродвигатель 3, причем f4>f3>f2. При этом частота n вращения насоса 6 и, соответственно, его производительность, изменяются пропорционально частоте fI тока. Точки пересечения 5, 6 и 7 кривых истечения с индикаторной диаграммой характеризуют равновесные режимы работы системы “пласт - скважина - насосная установка”, при которых истечение (производительность насоса) равна притоку из пласта 1 в забой скважины.

Например, для обеспечения необходимого дебита в точке 8 оси QЖ необходимо выбрать рабочую равновесную точку 7, для чего следует задать забойное давление в точке 9 оси PЗ за счет установки частоты f4. Кривые притока и истечения удобно считать и строить (моделировать) с использованием специализированных программных пакетов, например WELLFLO-ESP (моделирование и подбор ЭЦН) фирмы Edinburgh Petroleum Services или PIPESIME 2000 (модуль моделирования “Анализ поведения скважины”) фирмы Schlumberger.

На фиг.3 приведена блок-схема вычислительного алгоритма, поясняющего реализацию технологического процесса эксплуатации (контроля и управления) скважины.

Вначале, например, с использованием указанных программных пакетов, с учетом предыдущих данных по эксплуатации скважины и априорных данных погружного электронасоса расчетным методом (методом моделирования) определяют динамические характеристики скважины, точнее системы “пласт - скважина - насосная установка”.

Упрощенные расчетные зависимости могут быть представлены в следующем виде:

QС=QП-QЖ,

где QС - суммарный мгновенный расход жидкости в скважине;

QП - приток жидкости из пласта;

QЖ - отбор жидкости насосной установкой (дебит скважины).

В свою очередь QП=kПР ×Δ Р,

где kПР - коэффициент продуктивности пласта (определяют из индикаторной диаграммы);

Δ Р - депрессия на пласт.

Δ Р=РПЗ,

где PП - пластовое давление;

PЗ - забойное давление.

Отбор жидкости

где QНН - подача насоса 6 при номинальной частоте вращения его вала;

n - фактическая частота вращения вала насоса 6;

nН - номинальная частота вращения вала насоса 6.

QHH=f(H),

где Н - напор, развиваемый насосом 6;

f(H) - напорная характеристика насоса 6, берут из паспортных данных и задают в табличном виде с использованием линейной интерполяции.

где V - объем жидкости в затрубном пространстве;

t - время.

где НЗ - высота столба жидкости относительно забоя;

Δ S - разница площадей сечения эксплуатационной колонны 2 и насосно-компрессорной трубы 7.

РЗ=ρ × g × HЗ

где ρ - плотность жидкости;

g=9,8 м/с2.

Динамический уровень над приемом насоса 6

НПЗ-(НСН),

где НН - глубина спуска погружного насоса;

НС - глубина скважины.

Давление на приеме насоса 6

PПР=ρ × g × НП.

По полученным данным для режимов установки и поддержания забойного давления обеспечивают требуемую частоту fI питающего тока приводного электродвигателя 3, определяющую частоту n вращения вала насоса 6:

fI=FPЗ),

где FР - функция регулирования, обеспечивающая качество (монотонность) переходного процесса при любых возмущениях параметров скважины.

В качестве критерия настройки функции регулирования FР может быть выбран квадратичный минимизируемый функционал, обеспечивающий линейное оптимальное управление.

С помощью задатчика 20 выбирают режим работы контроля и управления скважиной.

Для построения фактической индикаторной диаграммы скважины, например, в процессе вывода скважины на режимную работу с помощью задатчика 20 и контроллера 19 задают несколько значений частоты fI питающего тока, пропорциональной частоте n вращения приводного электродвигателя 3, регулируют контроллером 19 переходный процесс, обеспечивая его монотонность, согласно функции регулирования FP, с учетом ранее определенных динамических характеристик (во избежание нештатных условий эксплуатации приводного электродвигателя 3 и насоса 6), с помощью датчика 10 и расходомера 15 измеряют давление РПР на приеме погружного насоса и дебит QЖ скважины, с помощью контроллера 19 по измеренному давлению РПР на приеме по заранее вычисленной для данной скважины функции РЗЗПР), например, с использованием вышеуказанных программных пакетов, определяют забойное давление РЗ и строят по найденным точкам “QЖЗ” фактическую индикаторную диаграмму РЗЗ(QЖ), запоминаемую контроллером 19.

На режиме установки забойного давления РЗ задатчиком 20 выбирают необходимую рабочую точку на индикаторной диаграмме (фиг.2). Далее контроллером 19 и частотным преобразователем 18 задают частоту fI питающего тока, регулируя переходный процесс с обеспечением его монотонности, в соответствии с заранее определенной, введенной в контроллер 19, функцией регулирования FР. При этом электродвигатель 3 отрабатывает выходной сигнал частотного преобразователя 18, устанавливая частоту n вращения насоса 6, изменяющего свою производительность. В результате в соответствии с динамическими характеристиками системы “пласт - скважина - насосная установка” устанавливается значение давления РПР на приеме, соответствующее заданному забойному давлению РЗ.

В режиме поддержания требуемого забойного давления РЗ (основном режиме работы скважины) в контроллере 19 происходит сравнение текущего измеренного забойного давления РЗ с установленным на предыдущем режиме. При наличии их рассогласования в соответствии с функцией регулирования FР с помощью контроллера 19 автоматически меняется частота fI питающего тока, регулируя переходный процесс для установления нового значения частоты n вращения вала погружного насоса и, соответственно, давления на примере РПР и предыдущего забойного давления РЗ.

На фиг.4 показано изменение регулируемого забойного давления РЗ во временном интервале, где линия А представляет собой обеспечиваемый монотонный переходный процесс на режиме установки забойного давления РЗ, линия Б - изменение забойного давления РЗ под действием возмущающих факторов, например изменения пластового давления, на режиме поддержания РЗ. В результате обеспечено требуемое качество регулирования переходного процесса.

Для предупреждения аварийной ситуации при появлении недопустимых вибраций электродвигателя 3 и (или) насоса 6 скважинный контроллер 19 осуществляет дополнительное регулирование (ограничение) частоты fI питающего тока (частоты n вращения приводного электродвигателя 3 или насоса 6). С этой целью с помощью датчиков 12 и 13 блока 9 погружной телеметрии измеряют виброускорения α Х и α Y корпуса электродвигателя 3 в двух плоскостях, по которым контроллер 19 выполняет ограничение частоты n вращения приводного электродвигателя 3 путем корректировки задания и регулирования частотным преобразователем 18 частоты fI питающего тока до момента возвращения значений α X и α Y в допустимую область, установленную задатчиком 20 режимов.

В целях повышения качества поддержания для приводного электродвигателя 3 оптимального температурного режима, который во многом определяет надежность и долговечность электродвигателя, в контроллер 19 с помощью датчиков 11 и 14 блока 9 погружной телеметрии дополнительно к сигналу датчика 4 температуры внутри корпуса приводного электродвигателя 3 вводят сигналы температуры ТПР на приеме насоса и давления РК в компенсаторе 5 виброзащиты.

Контроллер 19 определяет корректирующие сигналы по предельным значениям ТПР, РК и скорости их изменения (при возрастании ТПР) и (при уменьшении РК). Вычисленные корректирующие сигналы добавляют к сигналам ограничений по температуре Тд. Тем самым за счет дополнительного учета температуры ТПР скважинной жидкости на приеме насоса 6, давления РК в компенсаторе 5 гидрозащиты приводного электродвигателя 3 и скоростей их изменения обеспечена полная и надежная защита электродвигателя от перегрева, поддержание его оптимального температурного режима.

Достоинством предлагаемого способа эксплуатации скважины является оптимизация ее работы, что обеспечивает рост добычи нефти, коэффициента нефтеотдачи и межремонтного периода путем определения и регулирования по фактической индикаторной диаграмме оптимальной для требуемого дебита рабочей точки по забойному давлению с заданным качеством переходных процессов. При этом также обеспечены оптимальные условия эксплуатации приводного электродвигателя за счет ограничений по его вибрациям и температуре с дополнительным учетом влияния контролируемых параметров - температуры скважинной жидкости на приеме насоса и давления в компенсаторе гидрозащиты электродвигателя.

Литература

1. Руководство по эксплуатации ЦВИЯ.468154.002 РЭ. Блок погружной БП для отслеживания текущих параметров в забое скважины. - Ижевск: ОАО "Ижевский радиозавод", 2001.

2. Руководство по эксплуатации ЦВИЯ.456427.002 РЭ. Устройство низковольтное комплектное серии ШНК6501 для управления и защиты погружных электродвигателей. - Ижевск: ОАО “Ижевский радиозавод”, 2001.

3. Руководство по эксплуатации ЦВИЯ.468214.150 РЭ. Преобразователь частоты ПЧ-СЗОО. - Ижевск: ОАО “Ижевский радиозавод”, 2001.

4. Пат. 2016252 RU, МПК F 04 D 15/00, F 04 D 13/10, Е 21 В 43/00. Способ управления работой насосной установки в скважине / В.О.Кричке (RU). - 4913070/29; Заявл. 20.02.91; Опубл. 15.07.94.

5. Пат. 2140523 RU, МПК Е 21 В 43/00. Способ автоматического регулирования режима работы скважины, оборудованной погружным центробежным насосом / В.О.Кричке (RU). - 97110564/03; Заявл. 24.06.99; Опубл. 10.04.01.

1. Способ эксплуатации скважины погружным электронасосом с частотно-регулируемым приводом, включающий измерение и регулирование путем управления частотно-регулируемым приводом давления и подачи, измерение температуры скважинной жидкости на приеме насоса, измерение и ограничение температуры внутри корпуса приводного электродвигателя, измерение виброускорения в двух плоскостях корпуса и давления в компенсаторе гидрозащиты приводного электродвигателя, отличающийся тем, что предварительно, например в процессе вывода скважины на режим, определяют фактическую индикаторную диаграмму скважины, пересчитывая измеренное давление на приеме насоса в соответствующие значения забойного давления, выбирают рабочую точку на фактической индикаторной диаграмме, находят требуемую величину забойного давления, устанавливают и поддерживают ее путем управления частотно-регулируемым приводом, при этом обеспечивают монотонность переходного процесса с учетом динамической характеристики системы “пласт – скважина – электронасос”, определяемой параметрами притока жидкости из пласта и отбора жидкости из скважины электронасосом.

2. Способ по п. 1, отличающийся тем, что управление частотно-регулируемым приводом осуществляют с учетом ограничения по предельно допускаемым величинам виброускорений в двух плоскостях корпуса погружного приводного электродвигателя.

3. Способ по п. 1, отличающийся тем, что ограничение температуры внутри корпуса погружного электродвигателя корректируют с учетом температуры скважинной жидкости на приеме насоса, давления в компенсаторе гидрозащиты погружного приводного электродвигателя и скоростей их изменения.