Пуля

Иллюстрации

Показать все

Предлагаемая пуля может быть использована в боеприпасах для нарезного стрелкового оружия. Пуля, приобретающая при выстреле поступательную скорость и вращательное движение вокруг своей оси, содержит головную и хвостовую части. В хвостовой части пули выполнены пересекающиеся продольные вырезы, в которых размещены дополнительные убойные элементы цилиндрической формы с возможностью их некоторого параллельного перемещения относительно оси пули, совместного вращения с ней и вокруг своей оси и освобождения от пули при вылете из канала ствола за счет центробежной силы. Головная часть пули соответствует калибру оружия по нарезам, а хвостовая - калибру по полям. Использование изобретения позволяет увеличить площадь поражения. 5 ил.

Реферат

Предлагаемая пуля, совмещающая эффект нарезного и гладкоствольного оружия, может быть использована в боеприпасах для ведения ближнего боя антитеррористическими подразделениями, войсками специального назначения.

Известно, что основное назначение боевого стрелкового оружия - надежное поражение живой цели. При этом главным и наиболее распространенным убойным элементом является пуля.

В нарезном оружии используются продолговатые пули, стабилизируемые на внешней траектории за счет нарезов в канале ствола, а в гладкоствольном - используются пули преимущественно шарообразной формы. Однако эффективность стрелкового оружия оставляет желать лучшего. Так, недостаточная меткость стрелка, обусловленная конструкцией оружия и личными навыками ведущего огонь из автоматического оружия, компенсируется большим числом выстрелов, увеличивая тем самым поражаемую площадь и вероятность попадания в цель.

Решение проблемы увеличения поражаемой площади одним выстрелом находит подтверждение в боевом гладкоствольном оружии. Так, стрельба из ружей "Протекта" и "Протекта Бульдог" с длиной стволов соответственно 300 и 170 мм, в сравнении с ружьем "Ремингтон-870", имеющего относительно короткий ствол - 508 мм показало: ружье "Ремингтон-870" дало круг рассеивания картечин 30 и 35 см на расстояниях 10 и 15 м, модель "Протекта" на той же дистанции - соответственно 54 и 85 см, а "Протекта Бульдог" - еще больше - 78 и 115 см (Шокарев Ю. - "Ружье-Револьвер," ж. "Мастер-Ружье", №2/14, М., 1997, стр.26).

При этом утверждают, что один выстрел дробью по эффективности может превзойти очередь из пистолета-пулемета (Мураховский В.П., Федосеев С.А. - "Оружие пехоты". М., Арсенал-Пресс, 1997, стр.255), а широкий разброс дроби, присущий короткоствольному оружию, гарантирует надежное поражение цели на короткой дистанции (Полозов В. - "Вариации на тему обреза" - ж. "Мастер-ружье", №2/14, М., 1997, стр.58). Учитывая назначение гладкоствольного оружия с дробовым зарядом, есть сторонники более широкого рассева убойных элементов и более концентрированного потока их. В последнем случае на дульную часть ствола крепится пламегаситель - концентратор дроби (Мураховский В.И., Федосеев С.Л., "Оружие пехоты", М., Арсенал-Пресс, 1997, стр.249), а в нарезном оружии для изменения направления полета пули применялись даже кривоствольное оружие, а также кривостволыше насадки к стволу, выполненные в виде открытого желоба (Болотин Д.Н. - "Советское стрелковое оружие". М., Воениздат, 1990 г. третье издание, стр.308, 309).

Кроме выше названных пуль, в практику гладкоствольного оружия входят убойные элементы в виде картечин квадратной формы, которые не рикошетируют от стен и эффективны на дистанциях ближнего боя (Скрылев И. - "Как выбрать револьвер" - ж. "Солдат удачи" №4, М., 1995 стр.62-64), а также оперенные подкалиберные пули с ведущими отделяющимися элементами (Ширяев Д.И., Шипилов В.В., Терехов Н.В. - "Охотничий патрон". АС. СССР №324468, Бюллетень №2, 1972).

Различные свойства, присущие нарезному и гладкоствольному оружию, неодинаковые боеприпасы к ним, различная площадь поражения цели, привело к созданию комбинированных систем, включающих нарезной и гладкий стволы (Полозов В. - "Вариации на тему обреза", ж. "Мастер ружье", №2/14, М., 1997, стр.56, 57; Мартино К. - "Трехстволка", ж. "Мастер Ружье", №45/46, М., 2000, стр.69, 70). Однако это усложняет их, создает неудобства в снабжении боеприпасами, особенно в экстремальных условиях.

Выход из подобной ситуации можно решить путем создания пули к распространенному в вооруженных силах России боеприпасу стрелкового нарезного оружия, включающей дополнительные убойные элементы, отделяющиеся от нее действием центробежной сапы, как только она покинет канал ствола и стабилизируемые на внешней траектории за счет гироскопического эффекта, приобретенного в канале ствола. В этом случае к цели устремится поток - в центре пуля, а на некотором отдалении от нее - дополнительные убойные элементы, обуславливающие увеличение поражаемой площади. Таким образом, одним выстрелом будет совмещен эффект нарезного и гладкоствольного оружия.

В литературе мы не встречали сведений о боеприпасе дня нарезного оружия с пулей, несущей дополнительные убойные элементы. Вместе с тем имеется сообщение о созданном в СССР патроне калибра 7.62Х108 мм к станковому пулемету, где два убойных элемента одного размера размещены в одной гильзе - так называемая дуплексная пуля (Экспертная оценка редакции SOF секретных боеприпасов Российского производства - "Черные пули для черных операций" ж. "Солдат удачи" №5 М., 1995, стр.41). Судя по гильзе увеличенных линейных размеров очевидно, что убойные элементы в ней размещены последовательно. Поэтому одним выстрелом они будут направлены к цели друг за другом практически по одной траектории.

Некоторая аналогия усматривается и в описании таблеточного патрона, где в качестве убойного элемента предлагается кольцевая пуля. Внутри нее, по замыслу авторов, размещается гильза-пыж, в которой находится заряд и капсюль. При выстреле гильза-пыж разгоняет кольцевую пулю в канале нарезного ствола, а вылетев наружу быстро теряет скорость за счет лобового сопротивления воздуха, отделяется от кольца-пули и в цель летит только кольцо - пуля. По мнению авторов, эффективность одного выстрела таблеточным патроном можно будет повысить, увеличив на гильзе-пыже число колец-пуль (Сагаков С., Царьков А. - "Таблеточный патрон" - г."Красная Звезда" №96 (23151) от 27.05.2000 г., стр.6). Однако и здесь, как в случае с дуплексной пулей, кольца-пули пойдут к цели по одной траектории, возможно незначительно изменив ее относительно друг друга за счет внешних факторов.

Аналогами пули, которые позволяли бы одним выстрелом совместить эффект нарезного и гладкоствольного оружия, мы не располагаем. Характеристика нижеприведенного патрона, в котором размещена подкалиберная "стрелка" с отделяемым, после вылета из канала ствола, от нее поддоном под действием центробежной силы, приобретенной за счет вращения в канале ствола, в некоторой его части напоминает предлагаемое. Поэтому мы взяли его за прототип. Он включает гильзу, в которой размещены подкалиберная "стрелка" весом 0,64 г с отделяемым от нее поддоном. Ствол имеет пологие нарезы с шагом 2540 мм. Поскольку "стрелка" имеет аэродинамическую стабилизацию, вращение снаряда необходимо только для отделения поддона после его выпета из канала ствола (Мураховский В.П., Федосеев С.Л. - "Оружие пехоты", М., Арсенал - Пресс, 1997, стр.377, 378).

По-видимому, возможно обобщение - прототип включает пулю, выполненную в виде "стрелки", и дополнительный элемент, не обладающий убойной силой, составляющий поддон, отделяемый от нее действием центробежной силы после вылета из канала ствола.

Прототип обладает недостатком, так как ему не свойственно совмещение эффекта нарезного и гладкоствольного оружия и увеличение поражаемой площади одним выстрелом вследствие наличия лишь одного убойного элемента.

Поставленная нами цель - увеличения поражаемой площади при совмещении эффекта нарезного и гладкоствольного оружия достигается тем, что хвостовая часть пули имеет пересекающиеся продольные вырезы, в которых размещены дополнительные убойные элементы цилиндрической формы, с возможностью некоторого параллельного перемещения относительно оси пули, совместного вращения с нею и вокруг своей оси. При этом, во избежание деформации вырезов при движении пули по каналу ствола, ведущая головная часть ее соответствует калибру оружия по нарезам, а хвостовая - калибру по полям. После вылета пули из канала ствола и отделения от нее дополнительных убойных элементов она приобретает еще и аэродинамическую стабилизацию.

Дополнительные убойные элементы в канале ствола приобретают убойную силу и гироскопическую стабилизацию с числом оборотов в обратной зависимости своего диаметра по отношению к диаметру пули при противоположной направленности вращения по отношению к ней и центробежной силе, ослабляющей отклоняющее действие последней вследствие деривации.

Сущность предлагаемой пули поясняется чертежами.

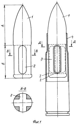
На Фиг.1 пуля - 1, где - А - ведущая головная часть и - Б - хвостовая часть с продольными пересекающимися вырезами - 2;

На Фиг.2 дополнительный убойный элемент - 3;

На Фиг.3 один из возможных вариантов патрона, состоящего из гильзы - 4, включающий пулю - 1 с помещенными в ее пересекающихся продольных вырезах - 2 дополнительными убойными элементами - 3, в положении до стрельбы.

Здесь и далее поперечный разрез пули - 1 показан по ее хвостовой части - Б - по ходу движения в канале ствола и за его пределами.

На Фиг.4 положение пули - 1 и дополнительных убойных элементов - 3 в канале ствола при выстреле;

На Фиг.5 положение пули - 1 и дополнительных убойных элементов - 3 после вылета из канала ствола.

Дугообразными стрелками показаны направления вращения пули - 1 и дополнительных убойных элементов -3, прямыми стрелками - направление центробежной силы, а знаком х - направление движения пули в канале ствола и за его пределами.

Пуля - 1 с размещенными в ней дополнительными убойными элементами - 3 помещается в гильзу - 4, имеющую пороховой и воспламенительный составы. При выстреле пуля - 1, перемещаясь по каналу ствола и врезаясь в его нарезы своей головной частью - А, приобретает и вращательное движение. При этом сообщает дополнительным убойным элементом - 3 не только поступательную скорость, обуславливающую убойную силу, но и силу, направленную от центра к стенкам канала ствола, где они контактируют с ним в зоне, обладающей большей круговой скоростью. Вследствие образовавшегося контакта дополнительных убойных элементов - 3 с внутренней поверхностью ствола и сообщенного им пулей - 1 совместного вращения создаются условия для их оборачивания вокруг своей оси, направленной в противоположную сторону от вращения пули - 1. При этом число оборотов дополнительных убойных элементов - 3 будет значительно превышать обороты самой пули - 1. Это обусловлено тем, что длина окружности каждого отдельно взятого дополнительного убойного элемента - 3 значительно меньше этого показателя пули - 1, а также внутренней поверхности ствола. Поэтому при одном обороте пули - 1 вокруг своей оси каждый дополнительный убойный элемент - 3 оборачивается вокруг своей оси столько раз, во сколько его длина окружности меньше длины окружности пули - 1, а также внутренней поверхности ствола равно, как и по соотношению их диаметров. Следовательно, не только пуля - 1, но и ее дополнительные убойные элементы - 3, помимо поступательной скорости, будут обладать еще и гироскопический стабильностью.

После вылета из канала ствола дополнительные убойные элементы -3 действием центробежной силы отделяются от пули - 1 по касательной к пути кругового вращения ее и они направляются к цели соориентированным потоком - в центре пуля - 1, а на некотором отдалении от нее - дополнительные убойные элементы - 3, создавая повышенную площадь поражения. При этом величина отклонения дополнительных убойных элементов - 3 от траектории пули - 1 будет зависеть от крутизны нарезов в канале ствола. Так, при уменьшении крутизны их (при большем шаге нарезов) отклонение будет уменьшаться и, наоборот, создавая различную площадь поражения. Очевидно отклоняющее действие центробежной силы на дополнительные убойные элементы - 3 будет тормозиться тем, что они вращаются в направлении, противоположном направлению вращения пули - 1 и действию центробежной силы, обусловленное деревацией.

Пуля - 1, обладая гироскопической стабилизацией, приобретает еще и аэродинамическую стабилизацию после отделения от нее дополнительных убойных элементов - 3 в связи с облегчением хвостовой части ее - Б. Последнее обусловлено наличием вырезов - 2 в ней.

Учитывая повышенную гироскопическую стабилизацию дополнительных убойных элементов - 3 по сравнению с пулей - 1 и приобретаемую пулей - 1 аэродинамическую стабилизацию, создается возможность увеличения шага нарезов в стволе оружия на величину, достаточную для стабилизации дополнительных убойных элементов - 3 на траектории. Это будет способствовать повышению начальной скорости пули - 1 и ее дополнительных убойных элементов - 3, а также живучести ствола.

Таким образом, одним выстрелом из нарезного оружия, используя, например, патрон - Фиг.3 с предлагаемой пулей - 1, в оснастке которой дополнительные убойные элементы - 3, совмещаются свойства присущие боеприпасу как для нарезного, так и для гладкоствольного оружия.

Пуля, содержащая головную и хвостовую части, приобретающая при выстреле поступательную скорость и вращательное движение вокруг своей оси, отличающаяся тем, что в ее хвостовой части выполнены пересекающиеся продольные вырезы, в которых размещены дополнительные убойные элементы цилиндрической формы с возможностью их некоторого параллельного перемещения относительно оси пули, совместного вращения с ней и вокруг своей оси и освобождения от пули при вылете из канала ствола за счет центробежной силы, при этом головная часть пули соответствует калибру оружия по нарезам, а хвостовая - калибру по полям.