Вертолет

Иллюстрации

Показать все

Изобретение относится к авиационной технике. Вертолет содержит корпус, двигатель, расположенный на раме, редуктор и несущий винт, вал которого связан с редуктором и двигателем. Рама установлена в корпусе с возможностью наклона плоскости несущего винта вперед и назад на угол до 20 градусов, а также наклона плоскости несущего винта вправо и влево на угол до 35 градусов в двух вертикальных перпендикулярных друг к другу плоскостях, одна из которых расположена в направлении полета. Технический результат - уменьшение мощности, необходимой для выполнения маневров. 6 ил.

Реферат

Изобретение относится к авиационной технике.

Известен вертолет, содержащий корпус, двигатель, расположенный на раме, редуктор и несущий винт, вал которого связан с редуктором и двигателем /Заявка Японии №902600, В 64 С 27/08, 1997/.

Известный вертолет имеет ограниченные возможности по выполнению маневров, обусловленные поворотом двигателя с несущим винтом только относительно одной оси.

Технический результат, на достижение которого направлено изобретение, заключается в повышении маневренности вертолета.

Другой технический результат - уменьшение мощности, необходимой для выполнения маневров.

Для достижения этого результата предложен вертолет, содержащий корпус, двигатель, расположенный на раме, редуктор и несущий винт, вал которого связан с редуктором и двигателем, рама установлена в корпусе с возможностью наклона плоскости несущего винта вперед и назад на угол до 20 градусов, а наклона плоскости несущего винта вправо и влево на угол до 35 градусов в двух вертикальных перпендикулярных друг к другу плоскостях, одна из которых расположена в направлении полета.

Изобретение поясняется чертежами.

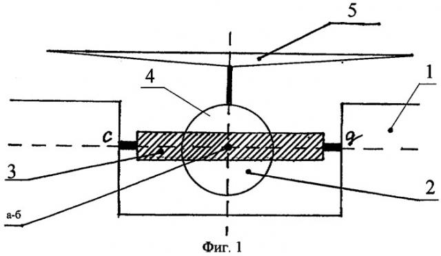
Фиг.1. Расположение двигателя на раме в корпусе вертолета.

Фиг.2. Расположение двигателя на раме (вид сверху на фиг.1).

Фиг.3. Схема действия сил при полете вперед.

Фиг.4. Схема действия сил при полете назад.

Фиг.5. Схема действия сил при развороте влево.

Фиг.6. Схема действия сил при развороте вправо.

Вертолет содержит (фиг.1, 2) корпус 1, двигатель 2, расположенный на раме 3, редуктор 4 и несущий винт 5, вал 6 которого связан через редуктор 4 с двигателем 2.

Для компенсации реактивного момента на корпусе 1 предусмотрены несущие поверхности (на чертежах не показаны), предназначенные для взаимодействия с потоком воздуха от несущего винта 5.

Двигатель 2 установлен на оси а-б в раме 3 с возможностью наклона плоскости несущего винта 5 вперед и назад на угол до 20 градусов в продольном направлении.

Рама 3 установлена на оси с-д в корпусе 1 вертолета с возможностью наклона плоскости несущего винта 5 вправо и влево на угол до 35 градусов в плоскости, расположенной перпендикулярно к направлению полета.

Для наклона рамы 3 относительно корпуса 1 и для наклона двигателя 2 относительно рамы 3 предусмотрены соответствующие гидравлические приводы (на чертежах не показаны).

Создание подъемной силы несущим винтом 5.

Вертикальный полет достигается вращением лопастей винта 5 под углом атаки, что вызывает возникновение подъемной силы тяги.

Горизонтальный полет вертолета вперед достигается наклоном вперед рамы 3 в корпусе 1, что вызывает соответственно наклон плоскости вращения несущего винта 5, а следовательно, и возникновение горизонтальной составляющей подъемной силы тяги.

При необходимости изменить направление полета, когда вертолет летит с большой горизонтальной скоростью, принципиально возможно после энергичного торможения перейти к режиму висения и выполнить разворот в необходимую сторону, а затем после разгона продолжить полет в новом направлении. Такой маневр может потребоваться при полете в горах, при крутом изгибе ущелья. Однако в большинстве случаев целесообразнее выполнять развороты или виражи без потери скорости или при небольшом изменении ее.

При переходе с прямолинейного горизонтального полета на вираж к центру тяжести вертолета необходимо приложить силу путем наклона рамы 3 с двигателем 2 относительно корпуса, направленную перпендикулярно к первоначальной траектории полета.

Необходимо принимать во внимание при выполнении маневров то, что чем больше угол крена несущего винта 5, тем сильнее уменьшается вертикальная составляющая тяги, тем интенсивнее снижение при вираже.

Чтобы вираж был выполнен без потери высоты и скорости, т.е. без расхода кинетической и потенциальной энергии вертолета, в полете необходимо в процессе его выполнения увеличивать мощность двигателя 2.

Условные обозначения на фиг.3-6:

У - подъемная сила,

Уг - вектор подъемной силы в горизонтальном направлении,

Ув - вектор подъемной силы в вертикальном направлении.

Вертолет, содержащий корпус, двигатель, расположенный на раме, редуктор и несущий винт, вал которого связан с редуктором и двигателем, рама установлена в корпусе с возможностью наклона плоскости несущего винта вперед и назад на угол до 20°, а наклона плоскости несущего винта вправо и влево на угол до 35° в двух вертикальных перпендикулярных друг к другу плоскостях, одна из которых расположена в направлении полета.