Демпфирующий элемент

Иллюстрации

Показать все

Демпфирующий элемент для повышения удобства в эксплуатации содержит держатель для фиксации микрофона, установленный на верхней стороне демпфирующего элемента. 1 с. и 14 з.п. ф-лы, 3 ил.

Реферат

Изобретение относится к демпфирующему элементу, выполненному и предназначенному для вкладывания во внутреннее пространство ударного инструмента, особенно бас-барабана, причем демпфирующий элемент выполнен в форме подушки и имеет верхнюю сторону и нижнюю сторону, при этом между верхней стороной и нижней стороной размещены один или несколько материалов со свойствами ослабления звука.

Музыканты, играющие на ударных инструментах, вкладывают подобные демпфирующие элементы в бас-барабаны, в частности на их нижнее основание. За счет этого бас-барабан демпфируется, и звук становится короче.

Съем звука производится в бас-барабанах посредством микрофона. Последний обычно устанавливается перед бас-барабаном с помощью держателя и подставки. Проблемой при этом является то, что, вследствие такой установки микрофона, существует опасность того, что кто-либо из музыкантов споткнется о микрофон или его подставку и опрокинет его. Эта проблема усугубляется тем, что многие сцены, на которых выступают музыкальные группы с ударными инструментами, весьма малы, и пространство перемещения для музыкантов с передней стороны довольно ограничено.

В качестве альтернативы установке перед бас-барабаном микрофон просто располагают на демпфирующем элементе внутри барабана. Микрофон, расположенный на демпфирующих элементах, например, на подушках или крышках, в общем случае, по сравнению со «свободно висящим», то есть без прямого контакта между головкой микрофона и демпфирующим элементом или барабаном, закрепленным в держателе микрофоном, обуславливает дефекты звучания.

В основе изобретения лежит задача создания держателя для микрофона, который обеспечивает хороший съем звука, не требуя места для своего размещения на сцене.

Эта задача решается, согласно изобретению, с помощью демпфирующего элемента с признаками пункта 1 формулы изобретения. Предпочтительные формы выполнения и дальнейшие развития отражены в пунктах, зависимых от пункта 1 формулы изобретения.

Изобретение основывается на идее, состоящей в том, что в случае демпфирующего элемента, выполненного и предназначенного для вложения во внутреннее пространство ударного инструмента, на верхней стороне демпфирующего элемента размещен держатель для фиксации микрофона.

Настоящее изобретение обеспечивает возможность «свободно висящего» расположения микрофона во внутреннем пространстве барабана. Такое решение объединяет, таким образом, преимущества «свободно висящего» крепления микрофона над держателем с преимуществами расположения микрофона внутри ударного инструмента. В частности, микрофон и его держатель теперь не располагаются перед инструментом и не подвергаются опасности опрокидывания кем-либо из музыкантов. Одновременно устраняются недостатки при съеме звука, свойственные микрофону, лежащему на демпфирующем элементе.

В дальнейшем развитии данной формы выполнения микрофон зафиксирован или способен фиксироваться в держателе постоянным образом. Согласно предпочтительному альтернативному варианту, предусмотрено, что микрофон зафиксирован или способен фиксироваться в держателе с возможностью разъема. Тем самым обеспечивается быстрая установка и соответственно снятие микрофона.

Предпочтительный вариант выполнения изобретения предусматривает, что размещенный в держателе микрофон имеет возможность вращения в плоскости, по существу параллельной верхней стороне демпфирующего элемента, и/или имеет возможность поворота в плоскости, по существу перпендикулярной верхней стороне демпфирующего элемента. Тем самым обеспечивается возможность ориентации микрофона по желанию музыканта или звукооператора.

Согласно другому варианту выполнения, держатель смонтирован на демпфирующем элемента постоянным образом. Предпочтительный альтернативный вариант предусматривает, что держатель смонтирован на демпфирующем элементе с возможностью разъема. Тем самым демпфирующий элемент может, при необходимости, применяться и без держателя микрофона.

Еще одна форма выполнения предусматривает, что положение держателя определено на верхней стороне демпфирующего элемента. Согласно предпочтительному альтернативному варианту выполнения, положение для монтажа держателя на верхней стороне демпфирующего элемента является переменным. Тем самым музыкантам или звукооператорам предоставляется возможность согласовывать размещение микрофона во внутреннем пространстве барабана с соответствующими потребностями.

Предпочтительный дальнейший вариант осуществления изобретения состоит в том, что держатель содержит плиту основания, стержнеобразный элемент и удерживающий элемент с установочным элементом для микрофона, в частности, по существу цилиндрическим установочным элементом для микрофона. Предпочтительным образом, плита основания и/или стержнеобразный элемент выполнены в основном из металла. На плиту основания может быть нанесен пенопласт для обеспечения ослабления звука.

Предпочтительным образом, может быть предусмотрено, что стержнеобразный элемент закреплен на плите основания, в частности закреплен постоянным образом, например, посредством сварочного соединения.

Кроме того, может быть предусмотрено, что удерживающий элемент смонтирован на стержнеобразном элементе, в частности смонтирован разъемным образом. Такая установка может быть осуществлена, например, с помощью штекерного соединения и/или соединения с защелкой или винтового соединения.

В дальнейшем предпочтительном варианте осуществления изобретения удерживающий элемент держателя содержит первую деталь для установки удерживающего элемента в стержневом элементе и вторую деталь для фиксации микрофона, причем вторая деталь установлена на первой детали с возможностью поворота. Поворотное движение может быть реализовано, например, посредством шарнира. При соответствующей установке удерживающего элемента на стержнеобразном элементе или на демпфирующем элементе такая форма выполнения обеспечивает возможность изменения ориентации микрофона, вставленного в держатель микрофона, в частности ориентации в вертикальной плоскости.

Другая предпочтительная форма выполнения изобретения состоит в том, что на верхней стороне демпфирующего элемента размещена или закреплена пластина жесткости. Эта пластина жесткости ориентирована параллельно верхней стороне демпфирующего элемента. Она может быть выполнена, например, из синтетического материала. Преимущество, обеспечиваемое такой пластиной жесткости, заключается, в частности, в том, что она особенно пригодна для установки держателя микрофона.

Согласно другому варианту осуществления, держатель смонтирован, в частности, закреплен на пластине жесткости. Для этого может быть использовано, например, винтовое соединение.

Альтернативный вариант осуществления предусматривает, что на верхней стороне демпфирующего элемента, над пластиной жесткости, отделенный от нее пустым пространством, размещен проходящий по существу параллельно верхней стороне демпфирующего элемента внешний слой, в частности, из резиноподобного материала, который, по меньшей мере в свой краевой области, связан с пластиной жесткости и/или с демпфирующим элементом и который имеет по меньшей мере одно проходящее сквозь внешний слой отверстие, в частности щель.

Согласно предпочтительной форме этого варианта осуществления, плита основания держателя в пустом пространстве между пластиной жесткости и внешним слоем размещена или может быть размещена таким образом, что стержнеобразный элемент выступает наружу через по меньшей мере одно отверстие во внешнем слое. Предпочтительным образом, дополнительно может быть предусмотрено, что стержнеобразный элемент внутри отверстия, через которое он выступает наружу, может занимать любое положение, и/или положение стержнеобразного элемента внутри отверстия является фиксируемым, в частности фиксируемым с возможностью разъема.

Альтернативно или дополнительно может быть предусмотрено, что стержнеобразный элемент имеет по меньшей мере один участок внешней резьбы. Тем самым держатель может с помощью первой накрученной на стержнеобразный элемент гайки, внутренняя резьба которой согласована с внешней резьбой стержнеобразного элемента, фиксироваться в отверстии с возможностью разъема. Кроме того, альтернативно или дополнительно удерживающий элемент может иметь внутреннюю резьбу, с помощью которой он может устанавливаться на снабженном внешней резьбой участке стержнеобразного элемента в любом повернутом положении и фиксироваться с возможностью разъема посредством размещенной на стержнеобразном элементе второй гайки, внутренняя резьба которой согласована с внешней резьбой стержнеобразного элемента.

Эти формы выполнения обеспечивают возможность позиционирования держателя микрофона внутри отверстий во внешнем слое, которые выполнены, в частности, в виде щелей и таким образом представляют собой направляющие щели для держателя. Фиксация в выбранном положении может осуществляться, например, посредством первой гайки, навинчиваемой на резьбу стержнеобразного элемента и закручиваемой относительно плиты основания. Тем самым может регулироваться горизонтальное положение микрофона. Кроме того, горизонтальная ориентация микрофона устанавливается выбором соответствующего поворотного положения держателя на стержнеобразном элементе и фиксируется затягиванием второй гайки, навинчиваемой также на резьбу стержнеобразного элемента, относительно удерживающего элемента. Первая и вторая гайки предпочтительным образом выполнены таким образом и с такими размерами, что возможно простое манипулирование ими на резьбовой штанге вручную, без использования дополнительного инструмента.

Изобретение описано ниже более подробно также в отношении других признаков и преимуществ на примерах выполнения и со ссылками на прилагаемые чертежи, на которых показано следующее.

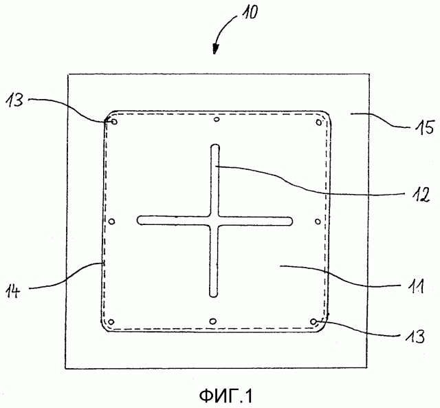
Фиг.1 - вид в плане возможного варианта выполнения демпфирующего элемента.

Фиг.2 - вертикальный разрез через демпфирующий элемент по фиг.1 с держателем микрофона, размещенным на верхней стороне.

Фиг.3 - вертикальный разрез варианта выполнения держателя микрофона, альтернативного варианту по фиг.1 и 2, размещенного на демпфирующем элементе.

На фиг.1 показан вид в плане верхней стороны 15 демпфирующего элемента 10, выполненного в форме подушки. На верхней стороне 15 демпфирующего элемента 10 над пластиной жесткости (на фиг.1 не показана) размещен внешний слой 11. Этот внешний слой может состоять, например, из устойчивого резинового материала. Посредством соединения 14 в виде сварного шва внешний слой 11 связан с демпфирующим элементом 10 и посредством крепежных винтов 13 закреплен на пластине 17 жесткости (на фиг.1 не показана). Во внешнем слое 11 выполнено отверстие 12 в форме двух пересекающихся щелей. Эти щели образуют направляющие щели для перемещения держателя 18 (на фиг.1 не показан).

Конкретная установка держателя 18 для микрофона показана на фиг.2 в форме вертикального сечения. В нижней части фиг.2 можно видеть вертикальное сечение через частичную область демпфирующего элемента 10. Заполнитель 19 внутренности демпфирующего элемента 10 состоит из материала, ослабляющего звук. Этот заполнитель 19 обтянут материалом 20. Согласно фиг.2, этот материал образует верхнюю сторону 15 и нижнюю сторону 16 демпфирующего элемента 10. На верхней стороне 15 демпфирующего элемента 10 установлена пластина 17 жесткости. Над ней находится внешний слой 11, отделенный от пластины 17 жесткости пустым пространством 21. В этом внешнем слое 11 находится отверстие 12 в форме щели, изображенное на фиг.2 в сечении.

Держатель 18 для микрофона включает в себя плиту 22 основания, которая выполнена, например, из металла. На нижней стороне плиты 22 основания для обеспечения демпфирования может быть нанесен пенопласт (не показан). Кроме того, держатель 18 включает в себя закрепленный на плите 22 основания стержнеобразный элемент 23, снабженный, по меньшей мере на участках, внешней резьбой 32, а также первую гайку 24 и вторую гайку 25, внутренняя резьба которых согласована с внешней резьбой 32 стержнеобразного элемента 23. Кроме того, держатель 18 включает в себя удерживающий элемент 26. Удерживающий элемент 26 состоит из первой детали 27 и второй детали 28. Первая деталь 27 имеет внутреннюю резьбу 29, посредством которой он может закрепляться на внешней резьбе 32 стержнеобразного элемента 23. Вторая деталь 28 посредством шарнира 30 закреплена с возможностью поворота в вертикальном направлении на первой детали 27. Составной частью второй детали 28 является цилиндрический установочный элемент 31 для микрофона.

На фиг.2 держатель 18 закреплен на демпфирующем элементе 10. Для этого плита 22 основания вставлена в пустое пространство 21 между пластиной 17 жесткости и внешним слоем 11. Закрепленный на плите 22 основания стержнеобразный элемент 23 выступает через отверстие 12 наружу. Таким образом, плита 22 основания и тем самым весь держатель 18 сдвигается вдоль отверстия 12, выполненного в виде направляющей щели (см. фиг.1). Фиксация держателя 18 осуществляется путем закручивания первой гайки 24 на внешней резьбе 32 стержнеобразного элемента 23, как показано на фиг.2.

На верхнем конце стержнеобразного элемента 23, как показано на фиг.2, навинчен удерживающий элемент 26. Точное положение поворота удерживающего элемента 26 может при этом фиксироваться относительно первой детали 27 удерживающего элемента 26, как показано на фиг.2, путем закручивания второй гайки 25 на внешней резьбе 32 стержнеобразного элемента 23.

В целом, показанный пример выполнения обеспечивает возможность следующих перемещений для микрофона, установленного в установочном элементе 31 держателя 18:

- перемещение в горизонтальном направлении путем смещения плиты 22 основания держателя 18 вдоль направляющих щелей 12,

- горизонтальная ориентация посредством поворота первого компонента 27 удерживающего элемента 26, установленного посредством внутренней резьбы 29 на внешней резьбе 32 стержнеобразного элемента 23, относительно стержнеобразного элемента 23,

- вертикальная ориентация посредством перемещения второй детали 28 относительно первой детали 27 удерживающего элемента 26 посредством шарнира 30.

На фиг.3 показан альтернативный пример выполнения держателя 18 на верхней стороне 15 демпфирующего элемента 10. При этом элементы, сопоставимые с аналогичными элементами на фиг.1 и 2, обозначены теми же ссылочными позициями.

Демпфирующий элемент 10 на фиг.3 идентичен демпфирующему элементу 10 на фиг.2 и имеет верхнюю сторону 15 и нижнюю сторону 16. Заполнитель 19 вновь обтянут материалом 20. На верхней стороне 15 демпфирующего элемента 10 размещена пластина жесткости 17.

Держатель 18 на фиг.3 включает в себя плиту 22 основания, на одной стороне которой установлен стержнеобразный элемент 23. Плита 22 основания и стержнеобразный элемент 23 могут быть выполнены из металла. Соединение между ними может представлять собой сварное соединение. Стержнеобразный элемент 23 на фиг.3 выполнен круглым и имеет на своей внешней половине кольцеобразную канавку 36. Держатель 18 также имеет удерживающий элемент 26. Удерживающий элемент 26 опять же включает в себя первую деталь 27 и вторую деталь 28. В противоположность примеру выполнения по фиг.2, первая деталь 27 и вторая деталь 28, согласно фиг.3, жестко связаны между собой или изготовлены в виде единого элемента. Вторая деталь 28 включает в себя цилиндрический установочный элемент 31 для микрофона.

Первая деталь 27 удерживающего элемента 26 содержит канал 33, размеры которого согласованы с размерами стержнеобразного элемента 23 таким образом, что удерживающий элемент 26 может надеваться на стержнеобразный элемент 23. Между стержнеобразным элементом 23 и удерживающим элементом 26 имеет место, таким образом, штекерное соединение. Канал 33 образует установочное отверстие для стержнеобразного элемента 23. Для фиксации такого штекерного соединения предусмотрено специальное соединение с защелкой. Два противолежащих, расположенных в выемках в канале 33 в первой детали 27 удерживающего элемента 26 шарика 35 посредством пружин 34 поджимаются к каналу 33. Когда стержнеобразный элемент 23 вставляется туда, эти шарики фиксируются в канавке 36 стержнеобразного элемента 23. Тем самым удерживающий элемент 26 фиксируется в плоскости, вертикальной по отношению к плите 22 основания, но под действием соответствующего тягового усилия может быть вновь удален. При его удалении шарики 35 надавливают назад на пружины 34. Так как канавка 36 размещена кольцеобразно вокруг стержнеобразного элемента 23, удерживающий элемент 26 имеет возможность поворота вокруг стержнеобразного элемента 23 и тем самым в плоскости, параллельной плите 22 основания.

Плита 22 основания и совместно с ней весь держатель 18, согласно фиг.3, закреплены непосредственно на пластине 17 жесткости демпфирующего элемента 10. Крепление осуществляется посредством винтовых соединений. На фиг.3 для иллюстрации такого винтового соединения показаны два винта 37 в разрезе. Чтобы обеспечить возможность гибкого позиционирования держателя 18 на пластине 17 жесткости, в пластине 17 жесткости может быть предусмотрено несколько подходящих резьбовых отверстий для винтов 37 (не показаны).

Формы выполнения отдельных компонентов и соединений в различных примерах выполнения по фиг.1, 2 и 3, могут различным образом комбинироваться друг с другом. Так, например, показанные на фиг.3 первая деталь 27 и вторая деталь 28 удерживающего элемента 26 могут соединяться друг с другом шарниром 30, по аналогии с фиг.2. И наоборот, соответствующее соединение, показанное на фиг.2, может быть выполнено неподвижным, согласно показанному на фиг.3. Аналогичным образом, штыревое соединение и соединение с защелкой по фиг.3 и соответствующее винтовое соединение по фиг.2 могут взаимозаменяемым образом использоваться в соответствующем другом примере выполнения. То же самое справедливо для фиксации плиты 22 основания на пластине 17 жесткости демпфирующего элемента 10.

Перечень обозначений ссылочных позиций

1 - демпфирующий элемент

11 - внешний слой

12 - отверстие в форме щелей

13 - крепежный винт

14 - соединение в виде сварного шва

15 - верхняя сторона демпфирующего элемента 10

16 - нижняя сторона демпфирующего элемента 10

17 - пластина жесткости

18 - держатель

19 - заполнитель

20 - материал

21 - полое пространство

22 - плита основания

23 - стержнеобразный элемент

24 - первая гайка

25 - вторая гайка

26 - удерживающий элемент

27 - первая деталь

28 - вторая деталь

29 - внутренняя резьба

30 - шарнир

31 - установочный элемент для микрофона

32 - внешняя резьба

33 - канал

34 - пружина

35 - шарик

36 - канавка

37 - винт

1. Демпфирующий элемент, выполненный и предназначенный для вкладывания во внутреннее пространство ударного инструмента, в особенности бас-барабана, причем а) демпфирующий элемент (10) выполнен в форме подушки и имеет верхнюю сторону (15) и нижнюю сторону (16), и б) между верхней стороной (15) и нижней стороной (16) размещены один или несколько материалов (19) со свойствами ослабления звука, отличающийся тем, что на верхней стороне (15) демпфирующего элемента (10) установлен держатель (18) для фиксации микрофона.

2. Демпфирующий элемент по п.1, отличающийся тем, что микрофон постоянно или с возможностью разъема зафиксирован или способен фиксироваться в держателе (18).

3. Демпфирующий элемент по п.1 или 2, отличающийся тем, что установленный в держателе (18) микрофон имеет возможность вращения в плоскости, по существу, параллельной верхней стороне (15) демпфирующего элемента (10), и/или имеет возможность поворота в плоскости, по существу, перпендикулярной верхней стороне (15) демпфирующего элемента (10).

4. Демпфирующий элемент по п.1 или 2, отличающийся тем, что держатель (18) постоянно или с возможностью разъема установлен на демпфирующем элементе (10).

5. Демпфирующий элемент по п.1 или 2, отличающийся тем, что положение для установки держателя (18) на верхней стороне демпфирующего элемента (10) является установленным или переменным.

6. Демпфирующий элемент по п.1, отличающийся тем, что держатель (18) содержит плиту (22) основания, в частности, в основном из металла, стержнеобразный элемент (23), в частности, в основном из металла, и удерживающий элемент (26) с установочным элементом (31) для микрофона, в частности, по существу, с цилиндрическим установочным элементом для микрофона.

7. Демпфирующий элемент по п.6, отличающийся тем, что стержнеобразный элемент (23) закреплен на плате (22) основания, в частности закреплен постоянным образом.

8. Демпфирующий элемент по п.6 или 7, отличающийся тем, что удерживающий элемент (26) установлен на стержнеобразном элементе (23), в частности, посредством штекерного соединения, и/или соединения с защелкой, или винтового соединения.

9. Демпфирующий элемент по из п.6 или 7, отличающийся тем, что удерживающий элемент (26) держателя (18) включает в себя а) первую деталь (27) для установки удерживающего элемента (26) на стержнеобразном элементе (23) и б) вторую деталь (28) для фиксации микрофона, причем в) вторая деталь (28) установлена на первой детали (27) с возможностью поворота.

10. Демпфирующий элемент по п.1, отличающийся тем, что на верхней стороне (15) демпфирующего элемента (10) размещена, в частности закреплена, пластина (17) жесткости, в частности, из синтетического материала, по существу, параллельно верхней стороне (15).

11. Демпфирующий элемент по п.10, отличающийся тем, что держатель (18) установлен на пластине (17) жесткости, в частности закреплен, предпочтительно посредством по меньшей мере винтового соединения (37).

12. Демпфирующий элемент по п.10, отличающийся тем, что на верхней стороне (15) демпфирующего элемента (10) над пластиной жесткости (17), отделенный от нее полым пространством (21), размещен внешний слой (11), проходящий, по существу, параллельно верхней стороне (15) демпфирующего элемента (10), выполненный, в частности, из резиноподобного материала, который а) по меньшей мере в своей краевой области связан с пластиной (17) жесткости и/или с демпфирующим элементом (10) и б) имеет по меньшей мере одно проходящее через внешний слой (11) отверстие (12), в частности щель (12).

13. Демпфирующий элемент по п.12 и 6, отличающийся тем, что плита (22) основания держателя (18) в полом пространстве (21) между пластиной (17) жесткости и внешним слоем (11) размещена или способна размещаться таким образом, что стержнеобразный элемент (23) выступает наружу по меньшей мере через одно отверстие (12) во внешнем слое (11).

14. Демпфирующий элемент по п.13, отличающийся тем, что стержнеобразный элемент (23) внутри отверстия (12), через которое он выступает наружу, способен занимать любое положение и/или положение стержнеобразного элемента (23) внутри отверстия (12) способно фиксироваться, в частности фиксироваться с возможностью разъема.

15. Демпфирующий элемент по п.13, отличающийся тем, что а) стержнеобразный элемент (23) имеет по меньшей мере один участок внешней резьбы (32) и б) держатель (18) способен фиксироваться с возможностью разъема в отверстии с помощью накрученной на стержнеобразный элемент (23) первой гайки (24), внутренняя резьба которой согласована с внешней резьбой (32) стержнеобразного элемента (23), и/или в) удерживающий элемент (26) имеет внутреннюю резьбу (29), с помощью которой он способен устанавливаться на стержнеобразном элементе (23) в любом положении поворота и закрепляться с возможностью разъема посредством размещенной на стержнеобразном элементе (23) второй гайки (25), внутренняя резьба которой согласована с внешней резьбой (32) стержнеобразного элемента (23).