Маска для игры с перекрыванием зрения игрока

Иллюстрации

Показать все

Изобретение относится к области театрального искусства, а именно к изготовлению театральных масок, масок, используемых в групповых играх и в телевизионных представлениях. Маска для игры с перекрыванием зрения игрока включает оболочку маски, выполненную полностью непрозрачной. Маска снабжена взаимно связанными по крайней мере одним датчиком полного погружения лица игрока в полость оболочки маски и по крайней мере одним внешним визуальным индикатором полного перекрытия зрения игрока оболочкой маски. Изобретение обеспечивает повышение степени контроля полного и непрерывного перекрытия зрения игрока. 12 з.п. ф-лы, 4 ил.

Реферат

Изобретение относится к области театрального искусства, а именно к изготовлению театральных масок, масок, используемых в групповых играх и в телевизионных представлениях, когда в процессе действия или игры необходимо части играющих закрыть на некоторое время глаза. В этом случае для надежного закрытия глаз игрока может служить полностью непрозрачная маска.

Известен защитный щиток для электросварщика по авторскому свидетельству СССР №1797885, кл. А 42 В 3/18, содержащий жесткий элемент крепления маски на лице, съемный откидывающийся экран из прозрачного материала.

Известный защитный щиток не может быть применен для надежного закрытия зрения игрока, так как он выполнен прозрачным.

Также известна маска театральная по авторскому свидетельству СССР №1784189, кл. A 41 G 7/02. Известная маска содержит жесткую основу в виде каркаса, выполненного из металлической проволоки, на котором закреплен покровный материал, выполненный в виде металлической сетки с размером ячеек 2-3 мм, покрытой двумя слоями тонкого тканевого полотна, например тюля. При этом оболочка маски выполнена по форме лица с лобной частью, углублением для носа, областью нижней челюсти лица, щеками и т.д. Так как оболочка маски выполнена сетчатой, актер получает “широкий обзор, широкое поле зрения”, что обеспечивает более свободное общение с партнером.

Основным недостатком изобретения “Маска театральная” является то, что оболочка маски выполнена из сетчатых материалов, прозрачна для широкого обзора и не может быть применена для перекрытия зрения игрока в ситуации, когда это необходимо.

В качестве ближайшего аналога принята маска для борца, описанная в патенте US 5123116, кл. А 63 В 71/00 от 23.06.1992 г., с помощью которой осуществляют перекрывание зрения игрока в процессе тренировки, при этом оболочка маски выполнена полностью непрозрачной.

Основным недостатком маски для борца является то, что нет степени контроля перекрытия зрения игрока.

Перед изобретением поставлена задача - повышение степени контроля полного и непрерывного перекрытия зрения игрока.

Поставленная задача решена за счет того, что маска для игры с перекрыванием зрения игрока, включающая оболочку маски, выполненную полностью непрозрачной, снабжена взаимно связанными по крайней мере одним датчиком полного погружения лица игрока в полость оболочки маски и по крайней мере одним внешним визуальным индикатором полного перекрытия зрения игрока оболочкой маски.

Внешний визуальный индикатор полного перекрытия зрения игрока может быть расположен на внешней передней поверхности оболочки маски.

Внешний визуальный индикатор полного перекрытия зрения игрока может быть расположен на выносном табло.

Внешний визуальный индикатор может быть выполнен в виде светодиода, подключенного к источнику электропитания.

Светодиод может быть электрически связан с источником электропитания по крайней мере через один датчик полного погружения лица игрока в полость оболочки маски.

Датчик полного погружения лица игрока в полость оболочки маски может быть выполнен в виде установленных один против другого в углублении оболочки маски для носа инфракрасного светодиода и фотодиода, включенных в электрическую цепь внешнего визуального индикатора, выполненного в виде светодиода, и источника электропитания через дополнительно введенное устройство обработки сигналов.

Внешний визуальный индикатор может быть выполнен в виде сигнальной электрической лампы, подключенной к источнику электропитания через датчик полного погружения лица игрока в полость оболочки маски.

Датчик полного погружения лица игрока в полость оболочки маски может быть выполнен в виде по крайней мере одной контактной кнопки, расположенной на внутренней поверхности оболочки маски.

Датчик полного погружения лица игрока в полость оболочки маски может быть выполнен в виде двух контактных кнопок, которые в цепь включены последовательно, при этом одна из контактных кнопок расположена в верхней лобной части оболочки маски, а вторая расположена в области оболочки маски у нижней челюсти лица.

Контакты контактной кнопки в сети: “сигнальная лампа - источник электропитания” могут быть нормально разомкнуты. Оболочка маски может быть снабжена рукояткой.

Источник электропитания может быть выполнен в виде аккумулятора, который может быть вмонтирован в один из элементов маски. Аккумулятор может быть расположен в рукоятке.

Благодаря тому, что маска снабжена взаимно связанными по крайней мере одним датчиком полного погружения лица игрока в полость оболочки маски и по крайней мере одним внешним визуальным индикатором полного перекрытия зрения игрока оболочкой маски, получен технический результат, а именно повышена степень контроля полного и непрерывного перекрытия зрения игрока в заданном интервале времени.

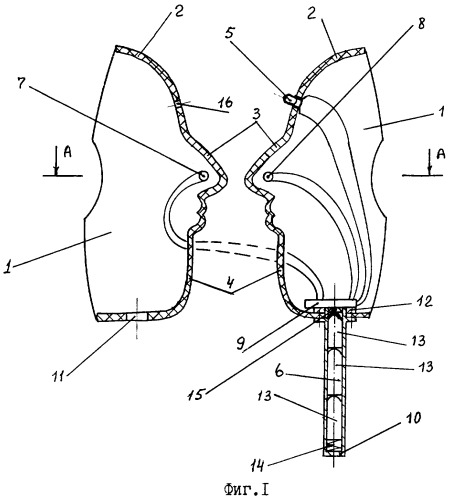
На фиг.1 приведена маска в развернутом виде по плоскости симметрии, пример исполнения 1-й. На фиг.2 приведено сечение А-А фиг.1. На фиг.3 показана маска в разрезе, пример исполнения 2-й. На фиг.4 показана маска в разрезе, пример исполнения 3-й.

Маска для игры с перекрыванием зрения игрока содержит жесткую вогнутую по форме лица оболочку 1 с лобной частью 2, с углублением 3 для носа и с областью 4 нижней челюсти лица, оболочка 1 маски выполнена полностью непрозрачной (см. фиг.1, 3 и 4). Для контроля полного перекрытия зрения игрока маска снабжена взаимно связанными по крайней мере одним датчиком полного погружения лица игрока в полость оболочки маски и по крайней мере одним внешним визуальным индикатором полного перекрытия зрения игрока оболочкой маски. При этом внешний визуальный индикатор полного перекрытия зрения игрока (фиг.1, 3 и 4) расположен на внешней передней поверхности оболочки маски. Внешний визуальный индикатор полного перекрытия зрения игрока может быть расположен на выносном табло (на чертежах не показан).

Конкретные исполнения указанных средств контроля полного перекрытия зрения игрока маской приведены в примерах 1, 2 и 3.

Пример 1-й (см. фиг.1 и 2). Внешний визуальный индикатор полного перекрытия зрения игрока выполнен в виде светодиода 5 и расположен на внешней передней поверхности оболочки 1, на ее лобной части 2 и подключен к источнику 6 электропитания по крайней мере через один датчик полного погружения лица игрока в полость оболочки 1 маски. Датчик полного погружения лица игрока в полость оболочки 1 выполнен в виде установленных один против другого в углублении 3 оболочки 1 для носа инфракрасного светодиода 7 и фотодиода 8, включенных в электрическую цепь внешнего визуального индикатора, выполненного в виде светодиода 5, и источника 6 электропитания через дополнительно введенное устройство 9 обработки сигналов. Оболочка 1 маски снабжена пустотелой рукояткой 10, закрепленной в отверстии 11 у ее основания посредством кольца 12. Источник 6 электропитания выполнен в виде ряда аккумуляторов 13, которые вмонтированы в рукоятку 10.

Аккумуляторы 13, расположенные в рукоятке 10, пружиной 14 поджаты к устройству 9 обработки сигналов через диэлектрический размыкатель 15. Светодиод 5, расположенный в лобной части 2, закреплен в отверстии 16. Во время подготовки маски к применению в игре диэлектрический размыкатель 15 выводят из промежутка между устройством 9 обработки сигналов и аккумуляторами 13. Маска готова к использованию для перекрывания зрения игрока, когда это необходимо в процессе игры. Инфракрасный светодиод 7 беспрепятственно освещает фотодиод 8, устройство 9 обработки сигналов включило светодиод 5, расположенный на внешней поверхности оболочки 1. По соответствующей команде “ведущего” игры игрок закрывает свое лицо маской, углубляет лицо в полость оболочки 1 до тех пор, когда его нос перекроет оптический просвет между инфракрасным светодиодом 7 и фотодиодом 8, в результате устройство 9 обработки сигналов выключает светодиод 5. Выключенный светодиод 5 свидетельствует о том, что игрок полностью погрузил свое лицо в оболочку 1 маски и перекрыл свое зрение, “ведущий” может переходить к следующему этапу игры.

2-й пример исполнения изобретения.

Внешний визуальный индикатор полного перекрытия зрения игрока выполнен в виде сигнальной электрической лампы 17 (фиг.3), которая подключена к источнику электропитания, выполненному в виде аккумулятора 18, через датчик полного погружения лица игрока в полость оболочки 1 маски. Сигнальная электрическая лампа 17 расположена на внешней поверхности оболочки 1 маски в лобной части 2, а аккумулятор 18 закреплен на внутренней поверхности оболочки 1. Датчик полного погружения лица игрока в полость оболочки 1 маски выполнен в виде одной контактной кнопки 19, расположенной на внутренней поверхности оболочки 1 в ее лобной части 2. При погружении лица в оболочку 1 игрок лбом замыкает контакты кнопки 19 и тем самым подключает сигнальную электрическую лампу 17 к аккумулятору 18, сигнальная электрическая лампа 17 загорается, это означает, что игрок полностью перекрыл свое зрение маской.

В 3-м примере маски (см. фиг.4) в дополнение к признакам, совпадающим с маской по 2-му примеру, датчик полного погружения лица игрока в полость оболочки 1 маски выполнен в виде двух контактных кнопок 20 и 21, которые в электрическую цепь сигнальной электрической лампы 17 и аккумулятора 18 включены последовательно, при этом одна из контактных кнопок 20 расположена в лобной части 2 оболочки 1 маски, а кнопка 21 - расположена в области 4 оболочки 1 у нижней челюсти лица. При этом контакты контактных кнопок 20 и 21 в сети “сигнальная лампа 17 - аккумулятор 18” нормально разомкнуты. Оболочка 1 маски снабжена рукояткой 22.

При погружении лица в оболочку 1 игрок лбом замыкает контакты кнопки 20, но для того чтобы электрическая цепь сигнальной электрической лампы 17 и аккумулятора 18 была замкнута, необходимо соединить контакты кнопки 21, для чего игрок должен нижней челюстью своего лица выполнить это включение. Когда замкнуты контакты обеих кнопок 20 и 21 и загорается сигнальная электрическая лампа 17, значит игрок полностью перекрыл свое зрение маской и “ведущий” может переходить к следующему действию в игре.

1. Маска для игры с перекрыванием зрения игрока, включающая оболочку маски, выполненную полностью непрозрачной, отличающаяся тем, что она снабжена взаимно связанными по крайней мере одним датчиком полного погружения лица игрока в полость оболочки маски и по крайней мере одним внешним визуальным индикатором полного перекрытия зрения игрока оболочкой маски.

2. Маска по п.1, отличающаяся тем, что внешний визуальный индикатор полного перекрытия зрения игрока расположен на внешней передней поверхности оболочки маски.

3. Маска по п.1, отличающаяся тем, что внешний визуальный индикатор полного перекрытия зрения игрока расположен на выносном табло.

4. Маска по любому из пп.2 и 3, отличающаяся тем, что внешний визуальный индикатор выполнен в виде светодиода, подключенного к источнику электропитания.

5. Маска по п.4, отличающаяся тем, что светодиод электрически связан с источником электропитания по крайней мере через один датчик полного погружения лица игрока в полость оболочки маски.

6. Маска по п.5, отличающаяся тем, что оболочка маски выполнена жесткой, вогнутой по форме лица с углублением для носа, а датчик полного погружения лица игрока в полость оболочки маски выполнен в виде установленных один против другого в углублении оболочки маски для носа инфракрасного светодиода и фотодиода, включенных в электрическую цепь светодиода и источника электропитания через дополнительно введенное устройство обработки сигналов.

7. Маска по любому из пп.2 и 3, отличающаяся тем, что внешний визуальный индикатор выполнен в виде сигнальной электрической лампы, подключенной к источнику электропитания через датчик полного погружения лица игрока в полость оболочки маски.

8. Маска по п.7, отличающаяся тем, что оболочка маски выполнена жесткой и вогнутой по форме лица с лобной частью, а датчик полного погружения лица игрока в полость оболочки маски выполнен в виде по крайней мере одной контактной кнопки, расположенной в лобной части на внутренней поверхности оболочки маски.

9. Маска по п.7, отличающаяся тем, что оболочка маски выполнена жесткой, вогнутой по форме лица с лобной частью и областью нижней челюсти лица, а датчик полного погружения лица игрока в полость оболочки маски выполнен в виде двух контактных кнопок, которые в цепь включены последовательно, при этом одна из контактных кнопок расположена в верхней лобной части оболочки маски, а вторая расположена в области оболочки маски у нижней челюсти лица.

10. Маска по любому из пп.8 и 9, отличающаяся тем, что контакты контактной кнопки в сети: "сигнальная лампа - источник электропитания" нормально разомкнуты.

11. Маска по п.1, отличающаяся тем, что оболочка маски снабжена рукояткой.

12. Маска по любому из пп.4 и 7, отличающаяся тем, что источник электропитания выполнен в виде аккумулятора, который вмонтирован в один из элементов маски.

13. Маска по п.12, отличающаяся тем, что аккумулятор расположен в рукоятке.