Устройство торможения шпули инерционных, в том числе мультипликаторных, катушек и инерционная рыболовная катушка
Иллюстрации
Показать всеУстройство торможения шпули инерционных, в том числе мультипликаторных, катушек и инерционная рыболовная катушка для повышения эффективности в пользовании включает связанные между собой элемент, приводимый во вращение при вращении шпули и создающий при вращении воздушный поток, и средства создания регулируемого сопротивления указанному воздушному потоку. 2 н. и 6 с.п. ф-лы. 7 ил.
Реферат
Изобретение относится к устройствам для ужения рыбы, более конкретно к инерционным, в том числе мультипликаторным, рыболовным катушкам и более точно к устройствам для торможения шпули указанных катушек при забросе приманок.
В рыболовной практике широко используются инерционные, в том числе мультипликаторные, катушки. Мультипликаторные катушки относятся к типу инерционных, т.к. содержат шпулю, вращающуюся при забросе. В начальный момент заброса приманка сообщает шпуле инерционной катушки вращательное движение с частотой до 500 об/сек, причем линейная скорость обода шпули примерно равна скорости приманки. В процессе полета на приманку действует сила сопротивления воздуха, пропорциональная квадрату скорости движения. Шпуля обладает инерцией и, не испытывая торможения, сбрасывает леску быстрее, чем ее вытягивает приманка, и леска запутывается. Образуется так называемый «парик » или «борода». Для того чтобы согласовать скорости движения шпули и приманки на всем участке траектории заброса, катушку оснащают устройствами торможения шпули, в том числе такими, у которых сила торможения зависит от скорости вращения шпули. Наиболее распространенными являются два типа таких тормозов: центробежный и магнитный.
Центробежный тормоз выполнен в виде нескольких (от двух до шести) грузиков, которые во время вращения шпули прижимаются к внутренней поверхности цилиндра и создают тормозной момент, величина которого имеет квадратичную зависимость от скорости вращения шпули.
Величина тормозного усилия должна соответствовать весу забрасываемой приманки, что усиливает необходимость его регулировки при переходе на другую приманку.
Достигаемый при этом одинаковый (квадратичный) характер изменения силы торможения шпули исключает или, по меньшей мере, уменьшает вероятность запутывания лески и позволяет забрасывать приманку на большее расстояние.
На практике такое регулирование осуществляется путем подключения определенного количества грузиков, для чего большинство типов катушек приходится разбирать на водоеме, что весьма неудобно. Существуют катушки, у которых такая регулировка выполняется без разборки катушки, но широкого распространения они пока не получили.
Кроме указанного, центробежный тормоз обладает следующими недостатками: ступенчатое регулирование силы торможения, что не позволяет точно отрегулировать ее при забросе приманок в широком диапазоне весов и оказываемого ими при забросе аэродинамического сопротивления; зависимость силы трения от состояния трущихся поверхностей.
Попадание воды или смазки на эти поверхности временно выводит из строя такой тормоз, что приводит к запутыванию лески.
Магнитный тормоз выполнен в виде одного или нескольких магнитов, размещенных вблизи боковой поверхности шпули. В процессе вращения шпули в ней наводится электрический ток, который, взаимодействуя с магнитным полем, осуществляет торможение шпули. Величину торможения шпули регулируют, изменяя расстояние между шпулей и магнитами.
Сила торможения, создаваемая магнитным тормозом, линейно зависит от скорости вращения шпули. Именно поэтому при всем удобстве в использовании магнитный тормоз не смог вытеснить центробежный, который создает квадратичную зависимость, и применяется только в некоторых моделях катушек легкого класса.
Техническим результатом настоящего изобретения является создание инерционной рыболовной катушки с устройством торможения шпули, лишенным указанных выше недостатков центробежного и магнитного тормозов. Более конкретно задачей изобретения является создание инерционной катушки с устройством торможения шпули, которое позволило бы создавать тормозное усилие, зависящее от скорости вращения шпули и регулировать указанное усилие в зависимости от веса приманок и внешних факторов без разбора катушки.
Другим техническим результатом изобретения является создание устройства торможения шпули инерционной рыболовной катушки, которое бы обеспечило плавное (не дискретное) регулирование величины тормозного усилия.
Еще одним техническим результатом изобретения является создание устройства торможения шпули рыболовной катушки, на работу которого не влияли бы условия использования.
Перечисленные технические результаты достигаются благодаря созданию устройства, реализующего новый принцип торможения шпули инерционной рыболовной катушки, заключающийся в обеспечении регулируемого сопротивления воздушному потоку, создаваемому элементом, приводимым во вращение при вращении шпули инерционных катушек.
Устройство торможения шпули инерционных, в том числе мультипликаторных, рыболовных катушек согласно настоящему изобретению включает связанные между собой элемент, приводимый во вращение при вращении шпули и создающий при вращении воздушный поток, и средства создания регулируемого сопротивления указанному воздушному потоку.
Указанный элемент, создающий при вращении воздушный поток, выполнен в виде крыльчатки и средства создания регулируемого сопротивления этому потоку включают в себя заслонку, установленную на пути указанного воздушного потока.
Указанный элемент, создающий воздушный поток, выполнен в виде винта.
Крыльчатка расположена в цилиндрическом стакане с прорезями для прохода воздушного потока, а к указанному стакану примыкает поворотный элемент, перекрывающий при повороте прорези в стакане.
Прорези выполнены на цилиндрической поверхности стакана, а поворотный элемент выполнен в виде кольца с окнами, расположенными концентрично стакану, снаружи него.
Прорези выполнены по торцевой поверхности стакана, а поворотный элемент выполнен в виде диска с окнами, примыкающего к указанной торцевой поверхности стакана.
Устройство торможения имеет дополнительный кожух, а воздушный поток, создаваемый указанным элементом создания воздушного потока, циркулирует внутри этого кожуха.
Инерционная рыболовная катушка снабжена устройством торможения шпули, охарактеризованным в пунктах 1-7 формулы.
Примеры осуществления изобретения.
Детальное описание изобретения приводится со ссылкой на чертежи, на которых изображены:
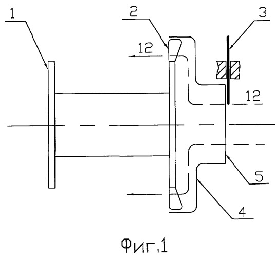
Фиг.1 иллюстрирует новый принцип торможения шпули инерционной рыболовной катушки согласно данному изобретению.
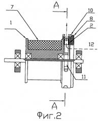
Фиг.2 - первый вариант выполнения устройства торможения шпули инерционной рыболовной катушки.
Фиг.3 - сечение фиг.2 по линии А-А.
Фиг.4 - второй вариант выполнения устройства торможения шпули инерционной рыболовной катушки.
Фиг.5 - вид на фиг.4 по стрелке В.
Фиг.6 - третий вариант выполнения устройства торможения шпули инерционной рыболовной катушки.
Фиг.7 - сечение фиг.6 по линии С-С.
Обратимся к фиг.1 для уяснения общего принципа действия устройства торможения шпули инерционных катушек в соответствии с настоящим изобретением. На ней схематично изображены шпуля инерционной рыболовной катушки 1, связанный с ней элемент, создающий воздушный поток 2, выполненный в виде винта, воздушный поток 12 и средство создания регулируемого сопротивления воздушному потоку 3, выполненное в виде задвижки. На схеме показан также дополнительный кожух 4 с воздуховодом 5, однако наличие кожуха 4 и воздуховода 5 не является необходимым во всех случаях.
Работа инерционных катушек происходит следующим образом. При забросе приманки шпуля инерционной катушки 1 приводится во вращение и приводит во вращение элемент, создающий воздушный поток 2, выполненный в виде винта. Кинетическая энергия, сообщаемая воздушному потоку 12, отнимается у шпули инерционной катушки 1, вследствие чего шпуля инерционной катушки 1 тормозится. Величина силы торможения зависит от скорости вращения шпули инерционной катушки 1 и величины массового расхода воздушного потока 12. Изменяя положение заслонки 3, изменяют сопротивление воздушному потоку 12, тем самым регулируют величину массового расхода воздушного потока 12 и величину силы торможения шпули инерционной катушки 1, причем плавное перемещение заслонки 3 приводит к плавному изменению силы торможения шпули инерционной катушки 1.
Изображенный на фиг.2 и 3 вариант устройства торможения шпули инерционных рыболовных катушек выполнен следующим образом. Элемент, создающий воздушный поток, выполнен в виде центробежной крыльчатки 2, закрепленной на общем валу (оси) со шпулей инерционной катушки 1, на которую навита леска 7. Средство создания сопротивления воздушному потоку выполнено в виде цилиндрического стакана 8 с прорезями 9 и поворачиваемого кольца 10 с окнами 11. Поворотом кольца 10 относительно стакана 8 изменяют площадь перекрытия прорезей 9 и окон 11, вследствие чего обеспечивается изменение сопротивления воздушному потоку 12.
На фиг.4 и 5 изображено устройство торможения шпули инерционных рыболовных катушек, состоящее из элемента, создающего воздушный поток, выполненного в виде винта 2, соединенного общим валом со шпулей инерционной катушки 1, и средства создания сопротивления воздушному потоку, выполненного в виде стакана 8 с прорезями 15 и поворачиваемого вокруг оси диска 13 с окнами 14. Поворотом диска 13 относительно стакана 8 изменяют площадь перекрытия окон 14 и прорезей 15, вследствие чего обеспечивается изменение сопротивления воздушному потоку 12.
На фиг.6 и 7 изображено устройство торможения шпули инерционных катушек, подобное изображенному на фиг.2 и 3, отличающееся тем, что содержит кожух 4. Воздушный поток 12 циркулирует преимущественно внутри кожуха 4.
Описанные выше примеры осуществления изобретения не носят ограничительного характера. Могут быть предложены и другие модификации заявленного устройства, реализующие тот же самый принцип торможения шпули, который и определяет сущность и объем настоящего изобретения.
Таким образом, предлагаемое устройство торможения шпули инерционных рыболовных катушек позволяет плавно регулировать усилие, необходимое для оптимального заброса приманки, без разбора катушки. Попадание влаги или смазочных материалов на поверхности деталей предлагаемого устройства торможения шпули инерционных рыболовных катушек не влияет на стабильность и надежность работы указанного устройства.
1. Устройство торможения шпули инерционных, в том числе мультипликаторных, рыболовных катушек, включающее связанные между собой элемент, приводимый во вращение при вращении шпули и создающий при вращении воздушный поток, и средства создания регулируемого сопротивления указанному воздушному потоку.
2. Устройство торможения по п.1, отличающееся тем, что указанный элемент, создающий воздушный поток, выполнен в виде крыльчатки, а средства создания регулируемого сопротивления указанному потоку включают в себя заслонку, установленную на пути указанного воздушного потока.
3. Устройство торможения по п.1, отличающееся тем, что указанный элемент, создающий воздушный поток, выполнен в виде винта.
4. Устройство торможения по п.2, отличающееся тем, что крыльчатка расположена в цилиндрическом стакане с прорезями для прохода воздушного потока, а к указанному стакану примыкает поворотный элемент, перекрывающий при повороте прорези в стакане.
5. Устройство торможения по п.4, отличающееся тем, что прорези выполнены на цилиндрической поверхности стакана, а поворотный элемент выполнен в виде кольца с окнами, расположенного концентрично стакану, снаружи его.
6. Устройство торможения по п.4, отличающееся тем, что прорези выполнены по торцевой поверхности стакана, а поворотный элемент выполнен в виде диска с окнами, примыкающего к указанной торцевой поверхности стакана.
7. Устройство торможения по п.1, отличающееся тем, что оно имеет дополнительный кожух, а воздушный поток, создаваемый указанным элементом создания воздушного потока, циркулирует внутри этого кожуха.
8. Инерционная рыболовная катушка, характеризующаяся тем, что она снабжена устройством торможения шпули, охарактеризованным в пп.1-7.



