Завихритель
Иллюстрации
Показать всеИспользование: для диспергации и гомогенизации многокомпонентного потока жидкости, а также для создания звуковых и ультразвуковых колебаний в потоке жидкости. Сущность заключается в том, что завихритель состоит из корпуса, серповидных лопаток, имеющих форму части архимедовой спирали, которые расположены с возможностью образования между собой каналов спиралевидной формы, при этом их длина составляет 0,05-0,25 от длины лопатки. На концах лопаток установлены конфузорные насадки, которые выполнены из эрозионно-износостойкого материала, например из нитрида или карбида титана. Технический результат: обеспечение получения однородных (гомогенных) частиц мелкодисперсной фракции многокомпонентного потока и увеличение ресурса работы завихрителя. 1 з.п. ф-лы, 2 ил.
Реферат
Изобретение относится к области создания звуковых и ультразвуковых колебаний в потоках многокомпонентной жидкости и может быть использовано при диспергации и гомогенизации многокомпонентных потоков жидкости.
Известен завихритель, расположенный в ультразвуковом устройстве и выполненный в виде корпуса с расположенными на нем серповидными лопатками, имеющими форму части архимедовой спирали, образующие между собой каналы спиралевидной формы (патент полезной модели РФ №32005, В 06 В 1/20, 2003 г.).
Однако известный завихритель не обеспечивает эффективное диспергирование и гомогенизацию обрабатываемого потока за счет произвольного расположения между собой серповидных лопаток и кавитационного износа серповидных концов лопаток, что влечет за собой уменьшение зоны кавитации, а при малом давлении обрабатываемого потока ее отсутствие, и снижает ресурс работы устройства в целом
В основу заявленного изобретения положена задача обеспечить качество обработки, т.е. обеспечить получение однородных (гомогенных) частиц мелкодисперсной фракции многокомпонентного потока и увеличить ресурс работы завихрителя.
Поставленная техническая задача решается тем, что завихритель, содержащий корпус с расположенными на нем серповидными лопатками, имеющими форму части архимедовой спирали, с возможностью образования между собой каналов спиралевидной формы, содержит конфузорные насадки, расположенные на концах серповидных лопаток и выполненные из эррозионно-, износостойкого материала, при этом длина каналов составляет 0,05-0,25 от длины лопатки.
Целесообразно конфузорные насадки выполнять из нитрида или карбида металлов.
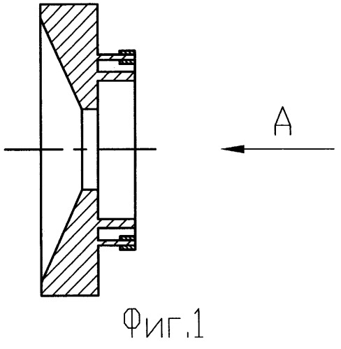
На фиг.1 изображен продольный разрез вида в плане завихрителя.
На фиг.2 - вид А на фиг.1.
Завихритель состоит из корпуса 1, серповидных лопаток 2, имеющих форму части архимедовой спирали, которые расположены с возможностью образования между собой каналов 3 спиралевидной формы, при этом длина каналов составляет 0,05-0,25 от длины лопатки.
На концах лопаток 2 установлены конфузорные насадки 4, которые выполнены из эррозионно-, износостойкого материала, например из нитрида или карбида титана. Насадки расположены с возможностью сужения серповидных каналов 3. Серповидные лопатки образуют также вихревую камеру 5.
Завихритель работает следующим образом.
Многокомпонентный поток жидкости по каналам 3 спиралевидной формы подается в вихревую камеру 5. При достаточной скорости потока в зоне щелей 3 возбуждается кавитация, кавитационные пузырьки выносятся в вихревую камеру 5, схлопываются, генерируя колебания давления. Кроме этого, колебания давления возникают при набегании друг на друга двух потоков из щелей 3 и периодическом удалении потока из вихревой камеры 5.
При определенной длине каналов 3, которая составляет 0,05-0,25 от длины лопатки 2, и наличии конфузорных насадок на концах лопаток создается стабильная, устойчивая зона кавитации практически при любом давлении потока. При выходе из интервала заявленных границ создается или большое гидравлическое сопротивление, или не обеспечивается устойчивая зона кавитации при малых давлениях подачи обрабатываемого потока.
Теплотехнические испытания предложенного завихрителя при обработке мазута показали, что благодаря созданию стабильной зоны кавитации обеспечивается получение частиц однородной (гомогенной) мелкодисперсной фракции при различных давлениях потока, что в конечном итоге ведет к уменьшению времени их пребывания в топке, а также снижению потерь от химического недожога топлива. Мелкое и гомогенное распыление смолистых соединений и равномерное их распределение в мазуте обеспечивает более полное сгорание частиц углерода и тяжелых углеводородов без копоти и сажевыделения, что позволяет уменьшить потери тепла от механического недожога топлива и увеличивает лучеиспускательную способность факела.
Выполнение конфузорных насадок из эррозионно-, износостойкого материала, например из нитрида или карбида титана, позволяет значительно увеличить ресурс работы завихрителя, а значит и всего устройства в целом.
На основании проведенных испытаний можно утверждать, что предлагаемый завихритель потоков жидкостей можно эффективно использовать для диспергации и гомогенизации многокомпонентных видов жидкостей с целью улучшения их эксплуатационных качеств. А также для интенсификации технологических процессов в нефтеперерабатывающей, химической, лакокрасочной и других областях промышленности.
1. Завихритель, содержащий корпус с расположенными на нем серповидными лопатками, имеющими форму части Архимедовой спирали, с возможностью образования между собой каналов спиралевидной формы, отличающийся тем, что завихритель содержит конфузорные насадки, расположенные на концах серповидных лопаток и выполненные из эрозионно-износостойкого материала, при этом длина каналов составляет 0,05-0,25 от длины лопатки.
2. Завихритель по п.1, отличающийся тем, что конфузорные насадки выполнены из нитрида или карбида металлов.

