Самолет вертикального взлета и посадки

Иллюстрации

Показать все

Изобретение относится к авиации. Самолет вертикального взлета и посадки имеет фюзеляж, вертикальное и горизонтальное оперения, двигатели, крыло и установленные на его концах воздушные винты изменяемого шага с противоположным направлением вращения, соединенные между собой и с двигателями трансмиссией. Ось вала каждого воздушного винта выполнена поворотной и в другой плоскости, проходящей через две оси: через ось поворота оси вала воздушного винта в плоскости, параллельной продольной плоскости симметрии самолета, и через ось вала воздушного винта. Техническим результатом изобретения является способность самолета взлетать и садиться на неподготовленных негоризонтальных площадках в условиях ветра переменного направления. 2 ил.

Реферат

Изобретение относится к области авиационной техники и может быть использовано в самолетах вертикального взлета и посадки.

Известен самолет вертикального взлета и посадки Кертис Х-19, описанный в книге Ф.П.Курочкина "Проектирование и конструирование самолетов с вертикальным взлетом и посадкой", М., Машиностроение, 1977 г. стр.13.

В данном самолете вертикального взлета и посадки имеются фюзеляж, вертикальное оперение, шасси, переднее и заднее крылья и установленные на их концах воздушные винты изменяемого шага с противоположным направлением вращения, оси которых выполнены поворотными в плоскостях параллельных продольной плоскости симметрии самолета, причем винты соединены трансмиссией между собой и двигателями. При взлете, висении и посадке тяга винтов направлена вертикально вверх, а на марше направлена горизонтально вперед. Данный самолет способен висеть с наклонным положением фюзеляжа, а следовательно, осуществлять взлет и посадку с негоризонтальной поверхности.

Недостатком данного самолета вертикального взлета и посадки является невысокая экономичность вследствие применения двух крыльев малого относительного удлинения.

Отмеченный недостаток устранен в самолете вертикального взлета и посадки Белл XV-15, описанном в книге Ф.П.Курочкина "Проектирование и конструирование самолетов с вертикальным взлетом и посадкой", М.: Машиностроение, 1977 г. стр.107, наиболее близком к изобретению и принятом за прототип.

В данном самолете вертикального взлета и посадки имеются фюзеляж, вертикальное и горизонтальное оперение, шасси, крыло и два установленных в гондолах на концах крыла двигателя с соединенными с ними воздушными винтами изменяемого шага с противоположным направлением вращения, оси которых выполнены поворотными в плоскостях, параллельных продольной плоскости симметрии самолета. Использование одного крыла с более высоким относительным удлинением позволяет получить более высокое аэродинамическое качество в горизонтальном полете, а значит улучшить экономичность.

Недостатком известного решения является то, что на режиме висения, взлета и посадки управление осуществляется: по курсу - дифференпиальным отклонением осей валов воздушных винтов вперед-назад, по крену - дифференциальным изменением шага винтов, по тангажу - синхронным отклонением осей валов воздушных винтов вперед-назад. Такое управление не позволяет висеть самолету в случае наклонного положения фюзеляжа и, следовательно, совершать взлет и посадку с негоризонтальных поверхностей. К недостаткам относится и то, что для парирования боковых порывов ветра самолет сначала должен развернуть свою продольную ось против или вдоль направления ветра. Это приводит также ухудшению точности посадки, поскольку маневрирование возможно только в продольном направлении самолета. Перемещение в боковом направлении возможно только при наличии крена, который недопустим в момент посадки, следовательно, точное поперечное перемещение контролировать практически невозможно.

Задачей изобретения является создание экономичного самолета вертикального взлета и посадки, способного взлетать и садиться с высокой точностью на неподготовленных негоризонтальных площадках в условиях ветра пересменного направления.

Указанная задача достигается тем, что в самолете вертикального взлета и посадки имеющем фюзеляж, вертикальное и горизонтальное оперения, шасси, двигатели, крыло и установленные на его концах воздушные винты изменяемого шага с противоположным направлением вращения, соединенные между собой и с двигателями трансмиссией, причем ось вала каждого воздушного винта выполнена поворотной в плоскости, параллельной продольной плоскости симметрии самолета, согласно изобретению ось вала каждого воздушного винта выполнена поворотной и в другой плоскости, проходящей через две оси: через ось поворота оси вала воздушного винта в плоскости, параллельной продольной плоскости симметрии самолета, и через ось вала воздушного винта.

Выполнение оси вала каждого воздушного винта поворотной и в другой плоскости, проходящей через две оси: через ось поворота оси вала воздушного винта в плоскости, параллельной продольной плоскости симметрии самолета, и через ось вала воздушного винта позволяет наклонять воздушные винты, кроме продольного, еще и в поперечном направлении, то есть создать горизонтальную составляющую тяги в боковом направлении. Это позволяет самолету висеть в наклонном положении, с креном, когда дифференциальным изменением шага винтов задается крен, и координировано отклонением осей винтов в плоскости, перпендикулярной продольной оси самолета, задается боковая составляющая тяги. При наличии боковой составляющей тяги винтов появляется возможность совершать взлет и посадку с негоризонтальных площадок. Появляется также возможность парировать боковые порывы ветра и управлять точным положением точки посадки не только в продольном, но и в поперечном направлении самолета.

Необходимый эффект обеспечивает поворот оси каждого воздушного винта в поперечном направлении на угол 6...8 градусов. Боковая составляющая тяги F при этом составит F=P·Sinϕ, где Р - вертикальная составляющая тяги, ϕ - угол отклонения оси винта. При ϕ=6...8 градусов F=10...14% от Р, что достаточно для управления.

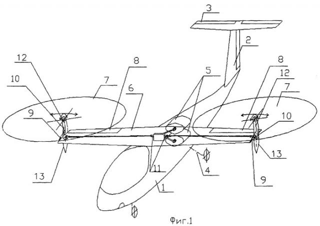
Изобретение поясняется чертежами, где на фиг.1 показана схема самолета вертикального взлета и посадки, на фиг.2 показаны поворотная ось вала воздушного винта и возможное устройство для реализации ее поворота.

На фиг.1 обозначены: фюзеляж 1, вертикальное и горизонтальное оперения с рулевыми поверхностями, соответственно 2 и 3, шасси 4, двигатели 5, крыло 6, воздушные винты изменяемого шага 7. Там же показаны элероны 8, гидравлические приводы продольного поворота осей валов воздушных винтов 9, гидравлические приводы поперечного поворота осей валов воздушных винтов 10, трансмиссия 11. Оси валов воздушных винтов обозначены 12, гондолы воздушных винтов обозначены 13.

На фиг.2 схематически показана гондола воздушного винта. Поворотная ось воздушного винта обозначена 1, вал воздушного винта - 2, передняя часть гондолы воздушного винта - 3, задняя часть гондолы воздушного винта - 4, вал - 5 и ось поворота передней части гондолы - 6, вал - 7 и ось поворота задней части гондолы - 8, карданный шарнир - 9, зубчатая передача - 10, гидропривод поперечного поворота оси винта - 11.

Предлагаемое устройство работает следующим образом. На участке взлета, висения и посадки оси 12 воздушных винтов вместе с гондолами 13 (см. фиг.1) поворачиваются гидравлическими приводами продольного поворота осей валов воздушных винтов 9 в вертикальное положение так, что тяга воздушных винтов 7 (см.фиг.1) направлена вверх. Вся мощность двигателей 5 через трансмиссию 11 (см. фиг.1) передается на воздушные винты. Величина вертикальной тяги регулируется оборотами двигателей и общим шагом воздушных винтов. Управление по крену на этом режиме осуществляется дифференциальным изменением шага винтов, управляющий момент создается увеличением шага одного винта и таким же уменьшением шага другого винта.

Управление по курсу при этом осуществляется дифференциальным отклонением от вертикали осей 12 (см. фиг.1) воздушных винтов вместе с гондолами 13 (см. фиг.1). При отклонении оси одного из винтов вперед, а другого назад возникают горизонтальные составляющие тяги, создающие момент, разворачивающий самолет по курсу.

Управление по тангажу осуществляется синхронным отклонением вперед-назад от вертикали осей 12 (см. фиг.1) воздушных винтов.

Для совершения точной посадки на негоризонтальную поверхность в условиях ветра переменного направления ось вала каждого воздушного винта выполнена поворотной и в другой плоскости, проходящей через две оси: через ось поворота оси вала воздушного винта в плоскости, параллельной продольной плоскости симметрии самолета, и через ось вала воздушного винта.

Как показано на фиг.2, задняя часть гондолы воздушного винта 4 поворачивается на валу 7 вокруг оси 8 в плоскости, параллельной продольной плоскости симметрии самолета, обеспечивая поворот оси винта 1 и вала 2 в этой же плоскости, причем ось 8 перпендикулярна указанной плоскости. Этот поворот обозначен стрелками в продольном направлении на фиг.1. Передняя часть гондолы винта 3 (см. фиг.2) может поворачиваться на валу 5 вокруг оси 6 относительно задней части гондолы 4, причем ось поворота 6 перпендикулярна плоскости, проходящей через ось 8. Тогда любой поворот передней части гондолы 3 вокруг оси 6 вызывает поворот оси воздушного винта 1 и его вала 2 в плоскости, проходящей через ось поворота оси вала воздушного винта в плоскости, параллельной продольной плоскости симметрии самолета, и проходящей через ось вала воздушного винта. Такой поворот показан стрелками в поперечном направлении на фиг.1. На фиг.2 показано, как мощность двигателей передается через коническую зубчатую передачу 10 и карданный шарнир 9 на вал воздушного винта, а поворот передней части гондолы 3 относительно задней части гондолы 4 производится гидроприводом 11, соединенным с обеими частями. Поворот осей винтов в поперечном направлении создает боковую составляющую вектора тяги и позволяет висеть с креном, садиться и взлетать с негоризонтальных площадок.

Перед переходом в горизонтальный полет поворот осей воздушных винтов в поперечном направлении приводится в нейтральное положение.

Переход в горизонтальный полет производится путем координированного, по мере набора горизонтальной скорости, поворота осей 13 (см. фиг.1) воздушных винтов вперед, в горизонтальное положение. Управление в горизонтальном полете осуществляется вертикальными и горизонтальными рулями, а так же элеронами, как в обычном самолете. Горизонтальный полет осуществляется с повышенной экономичностью вследствие высокого относительного удлинения крыла.

Переход в режим висения осуществляется в обратном порядке.

Использование предлагаемого технического решения обеспечивает расширение возможностей взлета и посадки на негоризонтальные площадки при ветре переменного направления для самолета вертикального взлета и посадки повышенной экономичности.

Самолет вертикального взлета и посадки, имеющий фюзеляж, вертикальное и горизонтальное оперения, шасси, двигатели, крыло и установленные на его концах воздушные винты изменяемого шага с противоположным направлением вращения, соединенные между собой и с двигателями трансмиссией, причем ось вала каждого воздушного винта выполнена поворотной в плоскости, параллельной продольной плоскости симметрии самолета, отличающийся тем, что ось вала каждого воздушного винта выполнена поворотной и в другой плоскости, проходящей через две оси: через ось поворота оси каждого вала воздушного винта в плоскости, параллельной продольной плоскости симметрии самолета, и через ось вала воздушного винта.