Строительный модульный блок
Иллюстрации
Показать всеИзобретение предназначено для изготовления каркасов стен и внутренних перегородок зданий и сооружений, дверных блоков, подвесных потолков, полов, решеток, заборов и т.п. В строительном модульном блоке, выполненном из древесины в виде прямоугольного параллелепипеда с элементами связи в виде выступов и пазов, выполненных на сопрягаемых гранях, на боковых гранях блока выполнены чередующиеся между собой гребни и впадины, высота hг гребней составляет 0,5-1,5 мм, при этом ширина bбл блока превышает ширину bп паза на 0,3-1,7 мм. Гребни и впадины могут быть ориентированы параллельно продольной оси блока, перпендикулярно продольной оси блока или под углом к продольной оси блока. Поперечное сечение гребня может представлять собой треугольник или трапецию. Изобретение позволяет компенсировать неточности изготовления деревянных строительных модульных блоков. 5 з.п. ф-лы, 6 ил.
Реферат
Изобретение относится к строительству и может быть использовано для изготовления каркасов стен и внутренних перегородок зданий и сооружений, дверных блоков, подвесных потолков, полов, решеток, заборов и т.п.
Известен строительный модульный блок, представляющий собой деревянный брус со сквозными отверстиями, в которых расположены нагели; каждый брус имеет различную длину с одинаковым шагом, а отверстия расположены на расстоянии: два отверстия 0,5 и два отверстия 1,5 ширины бруса от концов короткого бруса, RU 2155840.
Недостатком этого технического решения является необходимость изготовления разных по размерам элементов, которые затем объединяются между собой. Неодинаковость отдельных блоков обусловливает сложность реализации технического решения; соединение блоков между собой требует довольно сложных действий, связанных с необходимостью совмещения сквозных отверстий, введения нагелей и т.д.
Известны также деревянные строительные модули в виде брусьев; брусья образуют панель и скреплены между собой стяжками, пропущенными через совмещенные отверстия в брусьях; отношение диаметра нагеля к ширине бруса составляет 0,1-0,8; деревянные нагели могут чередоваться с металлическими стержнями с резьбой и гайками, RU 2103455.
В этом техническом решении все модули (брусья) одинаковы, поэтому оно свободно от части недостатков описанного выше аналога. Однако крепление брусьев между собой столь же сложно, как и в предыдущем устройстве.
Следует также отметить, что в устройствах по патентам RU 2155840 и RU 2103455 отдельные модульные элементы при их соединении между собой образуют сплошные панели (стены), что в ряде случаев нерационально, так как приводит к излишнему расходу материалов и неоправданным трудозатратам. Изготовление решетчатых конструкций из таких элементов невозможно.
Известен строительный модульный блок, выполненный в виде прямоугольного параллелепипеда с выступами и пазами; все блоки имеют кратные размеры и объединяются между собой без дополнительных крепежных деталей: анкеров, стяжек и т.п.; элементами связи являются стыковочные выступы и пазы, при этом выступы выполнены на верхней поверхности блока, а пазы - на нижней поверхности. Типовой блок имеет размеры 2а·а·(h+0,15a), а поперечное сечение выступов и пазов блоков имеет высоту и глубину 0,15а, где а=175-225 мм, a h=220 (в случае бетонной конструкции), RU 2140494.
Модульные блоки могут объединяться в единую конструкцию за счет стыковочных выступов и пазов, имеют одинаковые размеры. Однако из них невозможно изготовить решетчатую конструкцию. Вместе с тем в ряде случаев нет необходимости изготовления сплошных стен, перегородок и т.п. Вполне достаточно изготовить решетчатый каркас, который потом может быть снабжен покрытием, например "вагонкой", в случае стен и перегородок, шпунтовой доской или плитами при изготовлении полов, декоративными панелями при сооружении потолков и т.д. Кроме того, отсутствует возможность варьировать в зависимости от нагрузки несущую способность получаемой из отдельных блоков стенки (панели) в разных местах по ее площади, т.к. стенка - сплошная, а блоки - все одинаковые. Это обстоятельство также обусловливает нерациональный расход модульных строительных блоков.
Известен деревянный строительный модульный блок, выполненный в виде прямоугольного параллелепипеда с элементами связи в виде выступов и пазов, имеет высоту h, равную 2b, где b - ширина параллелепипеда, при этом крайние выступы имеют длину, равную 2b, смежные с ними пазы имеют длину, равную b, следующие выступы имеют длину 2b, следующие за ними пазы имеют длину, равную b, следующие за ними выступы имеют длину от 2 до 300b, затем следующие по направлению от торцов к середине параллелепипеда пазы и смежные с ними выступы образуют группы, в каждой из которых имеется последовательность: паз-выступ-паз-выступ, длины которых соответственно составляют: b, 2b, b, 2-300b, группы циклически повторяются n раз по направлению к середине параллелепипеда, при этом 1≤n≤500; к продольной грани блока, свободной от выступов и пазов, может быть прикреплен такой же блок своей свободной от выступов и пазов гранью, RU 2182206.
Это техническое решение позволяет образовывать решетчатые конструкции, при этом обеспечивается возможность варьирования плотности решетчатой конструкции в разных местах по ее площади и соответственно обеспечивается неодинаковая несущая способность с учетом нагрузки в этих местах.
Данное техническое решение принято за прототип настоящего изобретения.
Однако для реализации прототипа необходимо весьма точное изготовление модульного блока. Даже при незначительном отклонении формы и размеров как самих блоков, так и выступов и пазов сопряжение блоков становится или вообще невозможным, или происходит с образованием люфтов (зазоров) между ними, либо, напротив, их сопряжение происходит с чрезмерным натягом, что может вызвать раскалывание деревянных блоков или перекосы образуемой из них конструкции.
В основу настоящего изобретения положено решение задачи компенсации возможных и, практически, неизбежных неточностей изготовления деревянных строительных модульных блоков.
Согласно изобретению эта задача решается за счет того, что в строительном модульном блоке, выполненном из древесины в виде прямоугольного параллелепипеда с элементами связи в виде выступов и пазов, выполненных на сопрягаемых гранях, на боковых гранях блока выполнены чередующиеся между собой гребни и впадины, высота hг гребней составляет 0,5-1,5 мм, при этом ширина bбл блока превышает ширину bп паза на 0,3-1,7 мм.; гребни и впадины могут быть ориентированы параллельно продольной оси блока; гребни и впадины могут быть ориентированы перпендикулярно продольной оси блока; гребни и впадины могут быть ориентированы под углом к продольной оси блока; поперечное сечение гребня может представлять собой треугольник; поперечное сечение гребня может представлять собой трапецию.
Заявителем не выявлены источники, содержащие информацию о технических решениях, идентичных настоящему изобретению, что позволяет сделать вывод о его соответствии критерию «новизна».
Реализация отличительных признаков изобретения обусловливает важное новое свойство объекта, которое состоит в том, что блок в зоне выполнения гребней и впадин имеет большую деформативность, чем его сплошной массив. Гребни обладают в определенных пределах большей податливостью и упругостью, чем тело блока, что позволяет при сопряжении блоков в определенных пределах выбирать зазоры между ними или предотвращать чрезмерный натяг; кроме того, гребни одного блока могут частично врезаться в массив сопрягаемого с ним блока. Таким образом, обеспечивается возможность изготовления строительных модульных блоков со значительно большими допусками. Это существенно удешевляет стоимость блоков, снижает процент брака, упрощает сборку конструкций из блоков, увеличивает надежность соединения.
Заявителем не обнаружены какие-либо источники информации, содержащие сведения о влиянии заявленных отличительных признаков на достигаемый вследствие их реализации технический результат. Это, по мнению заявителя, свидетельствует о соответствии данного технического решения критерию «изобретательский уровень».
Сущность изобретения поясняется чертежами, где изображено:
на фиг.1 - строительный модульный блок, вид спереди; гребни и впадины ориентированы параллельно продольной оси блока;
на фиг.2 - фрагмент блока в аксонометрии;
на фиг.3 - вид слева в процессе ввода одного блока в паз другого блока;
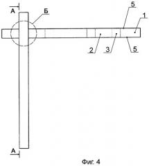
на фиг.4 - сопряженные между собой модульные блоки;
на фиг.5 - разрез А-А на фиг.4 в аксонометрии;
на фиг.6 - узел Б по фиг.4 в увеличенном масштабе, гребни и впадины перпендикулярны продольной оси блока.
Строительный модульный блок выполнен из древесины строительных пород, в конкретном примере из сосны, в виде прямоугольного параллелепипеда 1 с элементами связи в виде выступов 2 и пазов 3, выполненных на сопрягаемых гранях 4. На боковых гранях 5 блока выполнены чередующиеся между собой гребни 6 и впадины 7. Поверхности 8 (внутренние поверхности пазов 3, они же - наружные поверхности выступов 2) выполнены гладкими.
Высота hг гребней составляет 0,5-1,5 мм. При hг<0,5 мм компенсация неточности изготовления недостаточная; при hг>1,5 мм сопряжение блоков слишком затрудняется, гребни могут откалываться.
Ширина bбл блока (включая гребни) превышает ширину bп паза на 0,3-1,7 мм. Если (bбл-bп)<0,3, то не обеспечивается достаточный натяг при соединении блоков, что снижает прочность и надежность соединения, при (bбл-bп)>1,7 - посадка чрезмерно тугая, что может вызвать появление трещин.
Гребни и впадины могут быть ориентированы параллельно продольной оси блока или перпендикулярно ей, или под некоторым углом. Параллельное расположение гребней относительно продольной оси наиболее целесообразно при небольших размерах поперечных сечений блоков, а при относительно больших размерах этих сечений целесообразнее ориентировать гребни перпендикулярно этой оси, поскольку при параллельных гребнях в большей степени имеет место сдавливание и изгиб гребней, а при перпендикулярных - преобладает прорезание торцами гребней смежных поверхностей. Поперечное сечение гребня может представлять собой треугольник или трапецию.
При сопряжении блоков гребни на боковых поверхностях одного блока взаимодействуют с гладкими поверхностями 8 другого блока. Если бы обе сопрягаемые поверхности были гладкими, для обеспечения требуемой посадки и прочности соединения требовался бы достаточно строгий допуск и весьма точное выдерживание размеров. Благодаря наличию гребней и заявленному диапазону соотношения ширины блока и ширины пазов возможны применение значительно больших допусков и, соответственно, меньшая точность изготовления, что существенно удешевляет как стоимость изготовления блоков, так и стоимость монтажа из них сборных конструкций; уменьшается процент брака, так как даже при отклонении размеров сопрягаемых элементов возможно достаточно прочное соединение блоков.
Строительные модульные блоки по настоящему изобретению изготавливаются с использованием обычного оборудования из древесины; возможно изготовление блоков из нежестких пластмасс, твердость которых соответствует твердости строительной древесины. Это обусловливает, по мнению заявителя, соответствие изобретения критерию «промышленная применимость».
1. Строительный модульный блок, выполненный из древесины в виде прямоугольного параллелепипеда с элементами связи в виде выступов и пазов, выполненных на сопрягаемых гранях, отличающийся тем, что на боковых гранях блока выполнены чередующиеся между собой гребни и впадины, высота hг гребней составляет 0,5-1,5 мм, при этом ширина bбл блока превышает ширину bп паза на 0,3-1,7 мм.
2. Строительный модульный блок по п.1, отличающийся тем, что гребни и впадины ориентированы параллельно продольной оси блока.
3. Строительный модульный блок по п.1, отличающийся тем, что гребни и впадины ориентированы перпендикулярно продольной оси блока.
4. Строительный модульный блок по п.1, отличающийся тем, что гребни и впадины ориентированы под углом к продольной оси блока.
5. Строительный модульный блок по п.1, отличающийся тем, что поперечное сечение гребня представляет собой треугольник.
6. Строительный модульный блок по п.1, отличающийся тем, что поперечное сечение гребня представляет собой трапецию.



