Способ взвода, разгона и нанесения удара снарядом и устройство для его осуществления при разрушении различных материалов

Иллюстрации

Показать все

Изобретение относится к машинам ударного действия для разрушения, дробления или уплотнения различных материалов. Техническим результатом является возможность оперативного управления приводным энергопотоком и увеличение энергии снаряда при ударе. Главная особенность способа - в разделении основного приводного потока масляного насоса базовой машины на потенциальные энергопотоки, которые подаются одновременно при взводе снаряда для отжима снаряда от захвата и его перемещения, а в начальный момент разгона полностью отделяются от основного потока и обеспечивается форсированное отсоединение захвата от снаряда и форсированное движение захвата вслед за снарядом. Величины потенциальных энергетических потоков строго соответствуют требованиям, определяемым геометрическими размерами привода и его узлов, параметрами режима работы насоса базовой машины, расчетной энергией единичного удара. Устройство состоит из ствола с верхней и нижней крышкой, гидропривода, включающего поршневой гидродвигатель с мультипликаторами, захват с мультипликаторами и электрогидравлические переключатели с бесконтактной системой управления, снаряда с пустотелым хвостовиком и аккумулятором энергии, выполненного в виде пружин, лафета с опорной направляющей. Основная особенность конструкции в том, что гидродвигатель выполнен одностороннего действия, установлен шарнирно относительно ствола, форма которого цилиндрическая и он выполнен подвижным относительно направляющей с опорными шипами, соединенной с рукоятью при помощи лафета, а боек снаряда жестко связан с наружной обечайкой, имеющей на концах поршневые кольца, а в полости между ней и хвостовиком снаряда установлены пружины аккумулятора энергии. 2 н. и 3 з.п. ф-лы, 10 ил.

Реферат

Изобретение относится к процессам ударного действия и может применяться для разрушения, дробления, уплотнения различных материалов в горной, строительно-дорожной, машиностроительной и металлургической отраслях. Установка устройства может быть осуществлена на серийные мобильные машины с гидроуправлением (экскаваторы, погрузчики) или на спецшасси для работы в труднопроходимых горных условиях или при чрезвычайных ситуациях, а также и в стационарных условиях. Существующие способы взвода, разгона и нанесения удара снарядом (бойком) имеют различные по происхождению энергетические потоки, создающиеся: механически поднятой массой с помощью, лебедок, кривошипных и кривошино-шатунных механизмов, пружинных аккумуляторов энергии, взрывом, энергия которого зависит от массы взрывчатого вещества или дизельного топлива, гидравлически-масляными потоками давлением (12-32) МПа, пневматически давлением (0,5-1) МПа сжатого воздуха, пара, инертного газа, гидромеханически при совместном использовании гидравлических и пневматических потоков энергии. При взводе, в основном, создаются потенциальные потоки энергии этими способами. При разгоне эта потенциальная энергия переводится в кинетическую с использованием одного или нескольких потоков. Нанесение удара по объекту обработки производится непосредственно снарядом (ударной массой) или через инструмент, установленный неподвижно в стволе (корпусе) устройства. Величина и характер действия энергетических потоков на всех этапах определяют конструкцию ударного устройства. Главное их назначение - придание снаряду (бойку) необходимой кинетической скорости при отсутствии вредных воздействий на привод устройства, его конструкцию и на сам энергоноситель. Масса, габаритные размеры, физико-механические свойства объектов обработки и технологические требования, предъявляемые к процессам ударной технологии, определяют оптимальный диапазон значений энергопотоков удара, частоты их приложения и величину концентрации энергии на единице площади инструмента. Диапазон энергетических потоков подъемных лебедок /1, стр.238/ определяется сотнями кДж, энергия взвода полностью передается снарядом объекту обработки, но частота их нанесения незначительна, при этом приводной канат и грузовая лебедка испытывают большую нагрузку в момент отрыва (начала разгона) снаряда, а в кривошипных /2, 3/ и шатунно-кривошипных механизмах /4, 5/ частота ударов может достигать (10-12) Гц, и они имеют особые положительные свойства: не боятся ударов по воздуху (снаряд самотормозится) и по очень прочным материалам, но энергия удара незначительна и составляет (0,5-2) кДж, а при ее увеличении значительно повышаются масса и габаритные размеры, ухудшается эстетическое восприятие устройства. Энергопотоки гидравлические используются в гидромолотах простого и двухстороннего действия для сваебойных работ /1, стр.252-260/, в которых разгон поршня-бойка (снаряда) происходит под действием гидропотока привода и его собственной массы, при этом энергия единичного удара достигает 120 кДж при частоте (0,9-3,1) Гц и массе ударной части от 210 до 7500 кг, но имеют существенный недостаток - гидравлическое масло подвергается деформации и быстро теряет вязкость после непродолжительной эксплуатации, выводя из строя приводной насос экскаватора. Энергопотоки пневматические /1, стр.238, 239/. /6/, применяющиеся в кузнечных, сваебойных и других конструкциях, допускают возможность оперативного изменения энергии единичного удара и частоты, реактивные силы, возникающие в точках контакта инструмента с объектом обработки, поддаются расчетам и воздействуют только на контактные поверхности инструментов и поэтому продолжительность их эксплуатации составляет десятки лет, но серийные молоты, работающие при давлении не более 6 кгс/см2, имеют малую энергию единичного удара (до 4 кДж в кузнечных молотах и до 30 кДж в свайных), попытки его увеличения требуют применения мощных компрессорных установок. Специальные кузнечные молоты с энергией удара тысяча и более кДж достигают массы нескольких сотен тонн. Наиболее широкое распространение получили гидромолоты с гидропневматическим аккумулятором энергии /7/. В качестве сжимающего газа применяется азот, взвод поршня (снаряда) осуществляется основным гидропотоком базового насоса экскаватора с одновременным сжатием азота в аккумуляторе, при разгоне используются два энергопотока - масла и азота (через резиновую мембрану), а удар - по неподвижно установленному в корпусе инструменту. По этой схеме создают молоты фирм Круппа (Германия), Ниппона, Фурукава (Япония), Раммера (Финляндия), Тверьоснастка (Россия) и многие другие. Эта схема позволяет повысить частоту нанесения ударов до (10-12 Гц), энергию единичного удара - до 12 кДж, причем с увеличением энергии резко возрастает общая масса молота (при 8,2 кДж - 3200 кг, а при 12 кДж - 5800 кг). Высокая частота, на создание которой расходуется большая часть приводного энергетического потока, не дает компенсации в эффективности рабочих процессов разрушения, т.к. она определяется квадратичным значением энергии единичного удара и линейной зависимостью частоты, резиновый аккумулятор передает очень малую долю энергии приводного насоса и увеличить ее практически невозможно.

Известен способ взвода, разгона и нанесения удара бойком (снарядом), принятый за прототип, применяемый в конструкциях трубчатых свайных дизельных молотов /1, стр.242 /, в котором основным приводным энергопотоком взрыва при взводе осуществляется подъем снаряда, приобретающего по его окончании потенциальную энергию, а при разгоне, который начинается при скорости подъема, равной нулю, эта энергия переходит в кинетическую энергию снаряда и длится до его встречи с объектом обработки, причем оптимальность этой передачи определяется кинетической скоростью снаряда, которая не должна превышать шести метров в секунду, при этом ствол при каждом ударе перемещается относительно опорных направляющих, поджатых неизменным по величине энергопотоком базовой машины (гидроцилиндрами стрелы и рукояти экскаватора). Этот способ в сравнении с аналогами имеет следующие достоинства: 1. Энергия единичного удара достигает 150 кДж, что на один порядок выше энергии, развиваемой аналогами. 2. Высокий коэффициент передачи приводного энергопотока объекту обработки, так как он начинает трансформацию энергии со взвода, реактивная сила взрыва при котором сразу передается на шабот сваи. 3. Простота формирования энергопотоков взвода и разгона, возможность всесезонного применения. Но, вместе с тем, этот способ обладает следующими недостатками: а) сложность управления приводным энергопотоком при взводе снаряда, т.к. его параметры зависят от массы топлива, точную дозировку которого очень трудно обеспечить, б) значительные потери (до 50-60%) энергии при разгоне снаряда в стволе, в) малая частота нанесения ударов.

В предлагаемом способе с целью возможности оперативного управления приводным энергопотоком при взводе, снижения потерь на трение при разгоне и за счет этого увеличение энергии снаряда при ударе и с ее помощью достижение лучшей трансформации энергии базовой машины непосредственно в энергию удара, основной приводной поток разделяют на потенциальные энергопотоки, которые подают одновременно при взводе снаряда, для отжима снаряда от захватывающего устройства и его перемещения, эти потоки в начальной фазе разгона полностью отделяют от основного приводного потока и обеспечивают форсированное отсоединение захватывающего устройства от снаряда и форсированное перемещение этого устройства вслед за снарядом, при этом параметры энергопотоков должны строго соответствовать требованиям: П1234, где П1 - основной силовой энергопоток гидродвигателя, определяемый его площадью поперечного сечения и параметрами режима работы гидронасоса базовой машины при нагнетании, П2 - потенциальный силовой энергопоток, создаваемый гидравлическим мультипликатором захвата, необходимый для возвращения рабочих органов захватывающего устройства в исходное положение, который должен превышать остаточное давление в сливной полости гидрораспределителя, указанное в его паспорте, не менее чем на 10%, П3 - потенциальный силовой энергопоток, создаваемый мультипликатором двигателя, необходимый для возвращения захватывающего устройства в исходное положение, который не должен превышать значение энергопотока П2, но должен быть достаточным для перемещения их масс с учетом сопротивлений при движении, П4 - потенциальный силовой поток аккумулятора снаряда, необходимый для создания заданной расчетной энергии единичного удара, причем ствол снаряда перемещают относительно опорных направляющих к объекту обработки в момент удара и взвода снаряда, изменяя энергопоток гидроцилиндра базовой машины, удерживающей ствол.

Для реализации этого способа известно устройство «Молот МАА для разрушения негабаритов горных пород» /8/, принятое за прототип. Оно включает ствол с верхней и нижней опорно-направляющей крышкой, имеющей отверстие, гидропривод, состоящий из поршневого гидродвигателя двойного действия механизма переключения, двух труб для подвода и слива масла, соединяющих гидродвигатель и захват с золотниковым гидрораспределителем, установленном на базовой машине и соединенным с ее гидросистемой, боек с пустотелым хвостовиком, рабочий орган в виде конусного клина, пружин, аккумулирующих энергию при взводе бойка /снаряда/, и особенностью ее является выполнение захвата в виде тормозного гидроцилиндра одностороннего действия с двумя поршнями, штоки которых жестко соединены с тормозными колодками, установленными внутри бойка, глубина отверстия должна быть не меньше суммы высот захвата и хода штока поршневого гидродвигателя, а тормозной цилиндр установлен с помощью резьбы на конце полого штока гидродвигателя, который снабжен поперечным отверстием, соединяющим его штоковую полость с поршневыми полостями захвата, а механизм управления осуществлен электрогидравлическим распределителем с электронно-контактной системой переключения, а ствол снабжен нажимной крышкой, установленной под верхней крышкой, а нижняя опорно-направляющая крышка жестко связана с направляющими для направления бойка, упирающимися нижними шипами в объект обработки, и снабжена втулкой, фиксируемой снизу буртом, а сверху - стальной прокладкой, а боек снабжен плитой, имеющей отверстия под направляющие, в которые установлены втулки, фиксируемые так же, как втулка нижней крышки. Эта конструкция в сравнении с аналогами имеет следующие преимущества: 1. Возможность создания прижимных нормальных к внутренней поверхности хвостовика бойка (снаряда) усилий порядка десятков и сотен тонн (и, соответственно, удерживающих боек (снаряд) сил, порядка от несколько тонн до десятков тонн). 2. Надежная работа захватывающего снаряд узла (захвата) в течение продолжительного периода эксплуатации, т.к. она определяется величиной износа тормозных колодок, допускаемое значение которых составляет 4 мм на радиус (8 мм - на диаметре) и условиями безреактивной работы в моменты отсоединения снаряда. 3. Полное использование энергии, развиваемой двигателем устройства, приводимого насосом базовой машины. 4. Высокая степень надежности электрогидравлической системы управления, дополнительно увеличенная тем, что нагрузка на нее при работе молота значительно меньше паспортной (давление паспортное 32 МПа, а рабочее - 10-15 МПа). 5. Простота конструктивной схемы устройства снижает затраты на изготовление, ремонт и эксплуатацию.

Но, вместе с тем, конструкция прототипа не лишена следующих недостатков: а) скорость движения захвата с поршнем и штоком гидродвигателя вслед за бойком, находящаяся в пределах 0,3-0,5 м/с и создаваемая в его поршневой полости насосом базовой машины, мала и из-за этого увеличивается время ударного цикла молота, снижается частота нанесения ударов, б) жесткое соединение штока с захватом не позволяет смещаться их осям относительно оси ствола, из-за чего при работе возникают радиальные составляющие реактивных сил из-за неизбежных перекосов осей, воздействующие на манжеты и поршневые кольца гидродвигателя, преждевременно выводя их из строя, в) нижний конец инструмента бойка в исходном положении выступает относительно концов шипов нижней опорной крышки на 100-200 мм; при установке молота на объект обработки инструмент «утапливается» вовнутрь ствола на этот размер до упора шипов в объект обработки; при включении молота в работу ход первых ударов меньше максимально возможного хода бойка на величину выше указанных размеров; за счет этого энергетический поток удара реализуется не полностью, г) ствол и боек выполнены ступенчатой формы и при движении бойка из-за малой высоты направляющих втулок (120 мм) и большой высоты хвостовика бойка (1300 мм) происходит нарушение прямолинейности осей и из-за этого ось пружины аккумулятора может изгибаться, хвостовик бойка иногда упирается во внутреннюю поверхность пружины в верхней точке при взводе; при износе втулок этот процесс усиливается, д) контактная система управления создает неудобства в эксплуатации из-за монтажа датчиков Холла с множеством мелких деталей для крепления, перемещения переключателей, размещения проводов внутри захвата молота, е) установка захвата на резьбе штока «тянет» ее, а подвод масла к штоковой полости двигателя трубой увеличивает его поперечные размеры и создает неблагоприятные условия работы, ж) отключение молота осуществлено за счет того, что при полном внедрении клина образуется между торцами бойка и захвата зазор «С», по величине больший границы чувствительности контактного датчика Холла, и блок управления (Б.У.) не включается, молот автоматически заканчивает свою работу. В связи с изменением схемы управления возникла необходимость установки другой конструкции этого узла.

2. Устройство для осуществления этого способа при разрушении различных материалов, включает ствол с верхней и нижней направляющей крышкой, имеющей отверстие, опорные шипы, гидропривод, состоящий из поршневого гидродвигателя, захвата и золотникового гидрораспределителя, установленного на базовой машине и соединенного с ее гидросистемой, снаряд, содержащий боек с пустотелым хвостовиком, рабочим органом в виде конусного клина, пружины, аккумулирующие энергию при взводе снаряда, причем захват выполнен в виде тормозного гидроцилиндра одностороннего действия с двумя подпружиненными поршнями, штоки которых жестко соединены с тормозными колодками, установленными внутри хвостовика, высота полости которого составляет не менее суммы высот захвата и хода штока поршневого гидродвигателя, при этом захват установлен с помощью резьбы на конце полого штока гидродвигателя, который снабжен поперечным отверстием, соединяющим его штоковую полость с поршневыми полостями захвата, а механизм управления выполнен в виде электрогидравлического распределителя с электронной системой переключения, при этом ствол снабжен нажимной крышкой, установленной под верхней крышкой, в котором, с целью снижения времени ударного цикла, создания самоцентрирования привода относительно ствола, более полной реализации энергопотока при начальных ударах и стабилизации прямолинейности оси пружины аккумулятора при взводе, поршневой гидродвигатель выполнен одностороннего действия с корпусом в виде наружной трубы с резьбой на концах, которыми она соединена со съемной крышкой с одной стороны и с глухой крышкой - с другой, в наружной трубе неподвижно коаксиально с ней установлена гильза, нижний конец которой уперт в распорную втулку с перфорированным хвостовиком, соединяющим штоковую полость гидродвигателя с полостью между наружной трубой и гильзой, при этом поршневая полость гидродвигателя через глухую крышку герметично соединена с гидропружинным аккумулятором энергии, а полость между наружной трубой и гильзой - с электрогидравлическим распределителем, и шарнирно установлен с помощью торовой конфигурации глухой крышки и торовой канавки в верхней крышке ствола, гарантированный зазор между которыми обеспечивается фиксированным поджатием эластичных прокладок фланцем к верхней крышке ствола, при этом ствол выполнен подвижным относительно направляющей с опорными шипами, установленной в резьбовом отверстии лафета, выполненного в виде стальной поковки с проушинами, и жестко связанного пальцами с рукоятью или стойкой базовой машины, и подвешенным на проушине штока гидроцилиндра базовой машины, причем ствол выполнен цилиндрической формы, а боек снаряда жестко связан с обечайкой, на противоположных концах внешней поверхности которой расположены два поршневых кольца, одно - на нижнем конце, а другое - на верхнем конце, а в образованной между обечайкой и хвостовиком полости последовательно установлены пружины, аккумулирующие энергию снаряда.

3. С целью упрощения управления снарядом система управления выполнена бесконтактной, в виде электронно-электрического блока, соединенного с установленным в кабине машиниста таймером, связанным наружными проводами с индукционными катушками пилотов электрогидралических распределителей: одной - для гидродвигателя, с помощью которого возможно оперативное изменении энергии единичного удара и частоты в автоматическом и, с помощью кнопок, в ручном режимах и другой - для управления перемещением ствола путем сбрасывания давления в штоковой полости цилиндра базовой машины.

4. С целью усиления крепления захвата со штоком гидродвигателя торец захвата имеет дополнительную резьбу на наружной поверхности, а шток снабжен замком, выполненным в виде ступенчатой втулки, имеющей в одной из ступеней внутреннюю резьбу с диаметром, равным диаметру наружной резьбовой поверхности захвата, а в другой - цилиндрическое отверстие диаметром, равным наружному диаметру штока, и два поперечных диаметрально противоположно расположенных паза с установленными в них и в лыски такого же размера, прорезанными на наружной поверхности штока, шпонками, выступающие концы которых соединены между собой с двух сторон проволокой.

5. С целью автоматического отключения молота при максимальном заглублении снаряда устройство снабжено конечным выключателем, установленным на нижней проушине ствола и соединенным с блоком управления проводами, проложенными по наружной поверхности устройства и базовой машине.

Далее хотелось бы несколько глубже раскрыть достоинства предложенного решения. Основное из них - в разделении функций всех энергетических потоков. Для создания значительных скоростей рабочих органов применены энергетические потоки, созданные мультипликаторами П1, П2 (параллельное расположение пружин), легко рассчитываемые по корректной элементарной схеме расчетов. За счет этого ликвидирован главный недостаток гидравлических потоков энергии - их медлительность. А для создания приводного энергопотока П1 использован принцип полистпаста (последовательное расположение аккумулирующих энергию пружин), при котором независимо от количества пружин усилие их сжатия всегда постоянно, их количество и является кратностью пружинно-гидравлического полистпаста. Поэтому величина тягового усилия гидродвигателя не увеличивается (а значит, и приводной энергопоток базового насоса остается постоянным), а потенциальная энергия разгона снаряда растет в зависимости от квадрата величины суммарной деформации пружин. Такая конструктивная схема позволяет адаптироваться к различным требованиям технологических процессов. Например, при тяговом усилии двигателя 3000 кгс и установке четырех пружин с диаметром прутка 30 мм, при Д=240 мм развивается потенциальная энергия 14,5 кДж при усилии сжатия 2600 кгс. и суммарной деформации 800 мм. При использовании массы снаряда 260 кг скорость его составит около 10 м/с, а при использовании массы 2500 кг - 4 м/с. В первом случае схема применима для деформации поковок, во втором - для забивания свай. Кроме этого, наше устройство позволяет оперативно управлять параметрами удара (так же как в конструкциях кузнечных молотов) при помощи переключения рукоятки таймера машинистом. Ни одна из существующих схем гидромолотов такой способностью не обладает. В широко распространенных схемах гидропневматических молотов реализация мощных приводных энергетических потоков в энергию единичного удара снаряда имеет очень плохие показатели. Многочисленные попытки ведущих отечественных и зарубежных фирм по улучшению этого процесса реализации не дают положительных результатов. Например, фирма Раммера для повышения Аед. с 8,2 кДж до 12 кДж увеличила общую массу молота с 3,2 т до 5,8 т (т.е. для 4 кДж потребовалось дополнительной массы 2,6 т.) причем (85-90)% ее составила «мертвая масса», а результаты следующие: ударная мощность Nуд.=Аед.п=126=72 кВт, при этом 30% от нее теряется при ударе по инструменту, т.о., фактическая, передаваемая объекту обработки, мощность составляет около 50 кВт, эффективность разрушения (упрощенно) Е=А2п=122·6=864. Молот, построенный по нашему способу и конструктивной схеме с массой 5 т в шестьдесят раз проще молота Раммера в изготовлении, имеет энергию единичного удара (подъем снаряда на один метр) 50 кДж и частоту 2 Гц, Е=А2п=502=5000, N=Аед.п=502·2=100 кВт. Кузнечный молот, построенный по нашему способу и схеме, способен с помощью захвата, который вместе с электронно-электрической системой управления образует «руку робота», позволяющей поднимать снаряд на любую высоту при помощи поворота переключателя таймера в кабине машиниста, так же быстро и оперативно изменяющей параметры ударного процесса (Ауд.п), как и в кузнечных молотах, но при этом возможная максимальная энергия неизмеримо больше, а сама конструкция менее металлоемкая и имеет меньшую массу. Предлагаемый способ и устройство пригодны для реализации научно обоснованных, с технологической точки зрения режимов ударных процессов разрушения, уплотнения, дробления. Таким образом, эти преимущества приводят к достижению поставленной цели - возможности оперативного управления приводным энергопотоком при взводе, снижению потерь на трение при разгоне, увеличению энергии снаряда при ударе и достижению лучшей трансформации энергии базовой машины непосредственно в энергию удара за счет обеспечения свободного движения снаряда при разгоне, увеличения скорости возвращения захвата в исходное положение, перемещения к объекту обработки при ударе ствола, выполненного как и снаряд, цилиндрической формы, замены контактной на бесконтактную систему управления, предохранение уплотнительных элементов привода от реактивных сил, увеличение несущей способности резьбы штока, соединяющей захват с двигателем, и автоматического отключения устройства при максимальном заглублении снаряда, и позволяют сделать вывод, что предложенное техническое решение соответствует критерию «Существенные отличия», которые в совокупности составляют его изобретательский уровень.

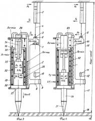
Предлагаемый способ и устройство поясняются следующими чертежами: на фиг.1-4 представлены схемы устройства различных этапов производства удара, на фиг.1 - фаза начала взвода снаряда, на фиг.2 - окончание фазы взвода и начало фазы разгона снаряда, на фиг.3 - окончание фазы разгона и начало фазы удара, на фиг.4 - окончание фазы первого удара с обозначением энергетических потоков, их сил с векторами на этих этапах. П1 - приводной энергопоток, развиваемый основным гидронасосом базовой машины, П1=p1·Q, Н·м/с, где p1 - давление, Q - расход масла.

кгс - тяговое усилие двигателя устройства, Д1, dшт. - внутренний диаметр его цилиндра и наружный - штока, П2 - энергопоток, развиваемый пружинами тормозных колодок, возвращающими поршни захвата в исходное положение при сбросе давления в штоковой полости двигателя, П22Δx22/2, Нм, где С2=P2/Δх2, Нм - жесткость пружины, x2 - ее максимальная деформация, Р2 - усилие отжима тормозных колодок захвата при сбросе давления в штоковой полости двигателя, п2 - количество пружин захвата, П3 - потенциальный энергопоток, P2 - максимальное усилие, развиваемое пружиной поршня захвата, соответствующее максимальной ее деформации, ∑P2=п2·Р2, кгс - суммарное усилие отжима тормозных колодок захвата при сбросе давления в штоковой полости двигателя, п2 - количество пружин захвата. П3 - потенциальный энергопоток, создаваемый аккумулятором поршневой полости двигателя, П33Δх32/2, Нм, где С33/Δх3 - жесткость пружин аккумулятора двигателя, Р3, Δх3 - максимальные сила и деформация пружин аккумулятора двигателя.

,

Нм - максимальная энергия, развиваемая аккумулятором энергии устройства, где m4 - масса снаряда, Н4 - высота подъема снаряда, Р4 - максимальная сила сжатия пружин, Δх4 -максимальная деформация пружин аккумулятора энергии снаряда. ∑P4=m·g+Р4 - суммарная максимальная сила, создаваемая аккумуляторами энергии устройства. П52Q2, Нм/с - приводной энергопоток, развиваемый вспомогательным насосом гидросистемы базовой машины, где р2, Q2 - давление и расход, поджимающие поршневую и штоковую полости гидроцилиндра базовой машины и удерживающие поршень в неподвижном положении, P5 - усилие, создаваемое в поршневой полости при сбросе давления со штоковой полости этого цилиндра. П6 постоянный в течение полного цикла работы энергопоток, развиваемый гидроцилиндрами стрелы и рукояти базовой машины. V1 - скорость движения поршня двигателя при взводе, V1=Q2 F1=4Q/π(Д12-dшт2), м/с, V2 - скорость возвращения тормозных колодок захвата в исходное положение, , м/с, где М2 - суммарная масса поршней захвата, кг, V3 - скорость движения поршня двигателя при возвращении в исходное положение, м/с, где М3 - суммарная масса захвата, штока и поршня гидропривода, V4 - скорость снаряда при ударе, м/с, V5 - скорость подачи ствола к объекту обработки при ударе (зависит от размера сливного отверстия при сбросе давления со штоковой полости гидроцилиндра базовой машины), V6=0 - в течение все рабочего цикла работы. На фиг.5 - общий вид устройства в исходном положении, перед началом рабочего цикла обработки. На фиг.6 - общий вид устройства в процессе рабочей обработки, где размер А - максимальный вылет инструмента (клина, пики и т.п.) снаряда, равный ходу ствола устройства относительно лафета, а также равный ходу поршня поджимающего гидроцилиндра базовой машины, на фиг.7 изображен в разрезе узел крепления захвата к штоку приводного двигателя, на фиг.9 изображена электрогидравлическая схема управления устройством, на фиг.10 - электронно-электрическая схема управления приводом (блок управления Б.У.), на фиг.8 - установка двигателя на верхней крышке ствола.

Устройство МАА для реализации предлагаемого способа состоит из ствола 1 с жестко закрепленными на нем кронштейнами 2, в верхней части которых имеется проушина 3 для соединения со штоком 4 гидроцилиндра 5 базовой машины при помощи ее пальца 6, резьбовое гнездо 7, перпендикулярное отверстию в проушине, а в нижней их части - две проушины 8, соосная с резьбовым гнездом и проушина 9, ей параллельная, при этом в гнездо 7 и проушину 8 неподвижно установлена направляющая 10, на которой подвижно установлена проушина 11 лафета 12, установленного на двух пальцах - верхнем 13 и нижнем 14 рукояти 15 базовой машины, и имеющего в нижней его части резьбовое отверстие 16, в котором установлена направляющая 17, на конце которой имеется сменный опорный шип 18 (или опора другой конфигурации), при этом проушина лафета и проушина 9 снабжены направляющими втулками 19, фиксируемые снизу буртом, а сверху - крышками 20, нажимной крышки 21, нижней крышки 22 с направляющей втулкой 23, фиксируемой снизу буртом в крышке, а сверху - стальной прокладкой 24, упирающейся в нижний фланец 25 ствола 1, снаряда 26, состоящего из бойка 27 цилиндрической формы, включающего пустотелый хвостовик 28, наружную обечайку 29, жестко с ним связанную и имеющую поршневые кольца 30 на ее поверхности, а снизу боек соединен со сменным инструментом 31 и во внутреннюю его полость установлены аккумулирующие энергию пружины 32 привода, включающего поршневой гидродвигатель 33 одностороннего действия, пустотелый шток 34 которого через резьбовое соединение 35, включающее уплотнение 36, замок 37 со шпонками 38, фиксируемыми друг с другом проволокой 39, поршень 40, подвижно установленный во внутренней. гильзе 41 гидродвигателя, захвата 42, верхний торец которого снабжен резьбой, а внутри размещены поршни 43, штоки 44 которых соединены с тормозными колодками 45 и снабжены пружинами 46 возврата, крышками 47, а корпус гидродвигателя выполнен в виде наружной трубы 48 с резьбой на концах, которыми она соединена со съемной крышкой 49 с одной стороны и с глухой крышкой 50 с другой, в которой также неподвижно коаксиально с ней установлена гильза 41, нижний конец которой уперт в распорную втулку 51, имеющую перфорированный хвостовик 52, через отверстия которого полость между трубой и гильзой соединена со штоковой полостью двигателя, при этом в распорной втулке установлены уплотнения 53 для штока и уплотнение 54 - для съемной крышки 49 (по стандартной схеме уплотнения гидроцилиндров) и шарнирно установлен с помощью торовой поверхности 55 его крышки 50 в торовой канавке верхней крышки 56 ствола 1 и зафиксирован фланцем 57 через набор эластичных прокладок 58 болтами 59, при этом поршневая полость герметично соединена с гидропружинным аккумулятором (мультипликатором), включающим гидроцилиндр 60, поршень 61, пружину 62, соединительные трубопроводы 63, а полость между трубой и гильзой соединена трубопроводом 64 с магистралью гидрораспределителя 65, управляемого электрогидравлическим пилотом 66, индукционная катушка которого 67 соединена с блоком управления (Б.У.) 68, включающим таймер (переключатель длительности хода) 69 снаряда при взводе и ствола через гидрораспределитель 70, катушку 71 при разгоне и ударе, блок управления (Б.У.) смонтирован на пульте управления в кабине машиниста и имеет один выносной конечный выключатель 72 индукционного действия, расположенный на проушине лафета и соединенный с ним проводами 73, проложенными снаружи.

Работает предложенное устройство следующим образом. Базовая машина подъезжает к месту работы, и машинист с помощью гидросистемы управления рукоятью и стрелой устанавливает рукоять, упирая направляющую лафета и инструмент снаряда в объект обработки. Электрогидравлическая схема управления предусматривает два варианта управления - ручной (движение снаряда вверх осуществляется нажатием кнопки KB, а разгон и удар - нажатием кнопки КЦ при одновременном движении рукоятки управления гидроцилиндром базовой машины вниз) и автоматический - при включении блока управления тумблером K1B1, при этом все этапы удара производятся без вмешательства машиниста. При полном заглублении инструмента снаряда устройство автоматически отключается. Обычно разрушение и отрыв кусков наступает раньше и машинист, отключив Б.У., переставляет рукоять на новое место обработки.

ЛИТЕРАТУРА

1. В.П.Сергеев, "Строительные машины и оборудование". М., Высшая школа, 1987 г.

2. А.В.Мельников, "Ударник для уплотнения и разрушения различных материалов", А.С., №1829257, от 09.01.89 г.

3. А.В.Мельников, и др. "Ударник для разрушения различных материалов, А.С. №1704370, от 08.09.91 г.

4. А.В.Мельников, "Устройство для разрушения негабаритов", А.С. №1837664, от 04.01.90 г.

5. А.В.Мельников, "Ударник для разрушения", А.С. №1781945, от 15.08.92. г.

6. М.И.Живов, А.Г.Овчинников, "Кузнечно-штамповочное оборудование". К., 1972 г.

7. Специализированный журнал по гидроударникам №2/91, издатель Раммер, А/О, Тайвалкату 8, п/я 20, 15171 Лахти, /198/ 86111.

8. А.В.Мельников, "Молот МАА для разрушения негабаритов горных пород", патент на изобретение №2237808, от 28 ноября 2004 г.

1. Способ взвода, разгона и нанесения удара снарядом, в котором основным приводным потоком при взводе осуществляется подъем снаряда, приобретающего по его окончании потенциальную энергию, при этом поджимают неизменным по величине энергопотоком базовой машины опорные направляющие, относительно которых при каждом ударе перемещается ствол, в котором размещен снаряд, отличающийся тем, что основной приводной поток от масляного насоса базовой машины разделяют на потенциальные энергопотоки, которые подают одновременно при взводе снаряда, для отжима снаряда от захватывающего устройства и его перемещения, эти потоки в начальной фазе разгона полностью отделяют от основного приводного потока и обеспечивают форсированное отсоединение захватывающего устройства от снаряда и форсированное перемещение этого устройства вслед за снарядом, при этом параметры энергопотоков должны строго соответствовать требованиям:

П1234,

где П1 - основной силовой энергопоток гидродвигателя, определяемый его площадью поперечного сечения и параметрами режима работы гидронасоса базовой машины при нагнетании;

П2 - потенциальный силовой энергопоток, создаваемый гидравлическим мультипликатором захвата, необходимый для возвращения рабочих органов захватывающего устройства в исходное положение, который должен превышать остаточное давление в сливной полости гидрораспределителя, указанное в его паспорте, не менее чем на 10%;

П3 - потенциальный силовой энергопоток, создаваемый мультипликатором гидродвигателя, необходимый для возвращения захватывающего устройства в исходное положение, который не должен превышать значение энергопотока П2, но должен быть достаточным для перемещения их масс с учетом сопротивлений при движении;

П4 - потенциальный силовой поток аккумулятора снаряда, необходимый для создания заданной расчетной энергии единичного удара,

причем ствол снаряда перемещают относительно опорных направляющих объекту обработки в момент удара и взвода снаряда, изменяя энергопоток гидроцилиндра базовой машины, удерживающей ствол.

2. Устройство для осуществления этого способа при разрушении различных материалов включает ствол с верхней и нижней направляющей крышкой, имеющей отверстие, опорные шипы, гидропривод, состоящий из поршневого гидродвигателя, захвата и золотникового гидрораспределителя, установленного на базовой машине и соединенного с ее гидросистемой, снаряд, содержащий боек с пустотелым хвостовиком, рабочим органом в виде конусного клина, пружины, аккумулирующие энергию при взводе снаряда, причем захват выполнен в виде тормозного гидроцилиндра одностороннего действия с двумя подпружиненными поршнями, штоки которых жестко соединены с тормозными колодками, установленными внутри хвостовика, высота полости которого составляет не менее суммы высот захвата и хода штока поршневого гидродвигателя, при этом захват установлен с помощью резьбы на конце полого штока гидродвигателя, который снабжен поперечным отверстием, соединяющим его штоковую полость с поршневыми полостями захвата, а механизм управления выполнен в виде электрогидравлического распределителя с электронной системой переключения, при этом ствол снабжен нажимной крышкой, установленной под верхней крышкой, отличающееся тем, что поршневой гидродвигатель выполнен одностороннего действия с корпусом в виде наружной трубы с резьбой на концах, которыми она соединена со съемной крышкой с одной стороны и с глухой крышкой - с другой, в наружной трубе неподвижно коаксиально с ней установлена гильза, нижний конец которой уперт в распорную втулку с перфорированным хвостовиком, соединяющим штоковую полость гидродвигателя с полостью между наружной трубой и гильзой, при этом поршневая полость гидродвигателя через глухую крышку герметично соединена с гидропружинным аккумулятором энергии, а полость ме