Способ управления процессом получения диоксида хлора

Иллюстрации

Показать все

Изобретение относится к получению диоксида хлора, в частности для отбеливания пульпы и конкретно для регулирования такого способа. В непрерывном способе получения диоксида хлора с заданной производительностью осуществляют компьютерное управление процессом получения на основе требуемой заданной производительности по диоксиду хлора в качестве единственного параметра, вводимого оператором в компьютерную программу, осуществляющую такое компьютерное управление. При этом компьютерное управление включает: (а) непрерывное отслеживание изменений заданной производительности по водному раствору диоксида хлора, непрерывный мониторинг скорости технологических потоков хлората натрия, восстанавливающего агента, серной кислоты, пара в кипятильник и охлажденной воды, и модифицирование начальных контрольных точек всех указанных потоков в соответствии с измененной заданной производительностью, (б) непрерывный мониторинг производительности по водному раствору диоксида хлора для определения отклонений от заданной производительности и модифицирование скорости потока восстанавливающего агента, для поддержания заданного значения производительности, (в) непрерывный мониторинг технических условий всех материальных потоков и модифицирование соответствующих контрольных точек скорости потоков указанного сырья в реакционную зону на основе заданной производительности и в ответ на изменение технических условий материалов, (г) непрерывный мониторинг физических свойств раствора хлората натрия, температуры и плотности, и на этой основе создание виртуального непрерывного анализатора раствора хлората, который определяет объемную концентрацию раствора хлората натрия. Технический результат заключается в достижении и поддержании высокой производительности по целевому диоксиду хлора, в обеспечении стационарного, стабильного режима работы в оптимальных условиях, в мониторинге и контроле работы с помощью компьютера, в сокращении частоты ручного лабораторного анализа с привлечением работы оператора и реализации оптимального режима работы установки и экономии реагентов. 24 з.п. ф-лы, 14 ил.

Реферат

Область техники

Настоящее изобретение относится к получению диоксида хлора, в частности для отбеливания пульпы и конкретно для управления таким способом.

Предшествующий уровень техники

В промышленности диоксид хлора получают на участке измельчения пульпы, для использования в качестве агента для отбеливания пульпы. В уровне техники описано множество способов, которые используются для этого в промышленности. В целом, процесс протекает согласно уравнению:

ClO3-+Cl-+2H+→ClO2+0,5Cl2+H2O

Один из известных и достаточно распространенных способов включает так называемый процесс с единственным реактором (SVP), в котором диоксид хлора образуется из реакционной среды водной кислоты, или генерирующей жидкости, которая поддерживается в режиме кипения в реакционной зоне при давлении ниже атмосферного. Диоксид хлора удаляют из генератора в газовую смесь с водяным паром и поглощают охлажденной водой в абсорбционной колонне, в то время как побочный продукт (соли) процесса осаждают в генераторе, из которого его удаляют. В жидкую фазу генератора непрерывно добавляют свежий хлорат и кислоту, для того чтобы поддержать в ней стационарные условия. Для поддержания режима кипения жидкой фазы в генераторе используют обогреваемый паром кипятильник в контуре рециркуляции.

В этом способе хлорид-ион может получаться на месте (in situ), за счет использования восстанавливающих агентов, которые, как полагают, взаимодействуют с хлором, одновременно образующимся в этом процессе, таких как метанол и пероксид водорода, причем в этом случае получается диоксид хлора, практически не содержащий хлора. Альтернативно, ион хлора может быть добавлен как восстанавливающий агент, и в этом случае диоксид хлора получается в смеси со значительным количеством хлора.

При производстве диоксида хлора имеются две ключевые переменные, которыми необходимо управлять - это концентрации кислоты (нормальность) и хлората (молярность) в жидкой фазе генератора. К сожалению, надежные приборы для непрерывного измерения этих ключевых переменных, подлежащих управлению, в промышленности отсутствуют, и поэтому в настоящее время оператор должен полагаться на результаты осуществляемых вручную лабораторных анализов обычно с интервалом в 2 часа. На основе этих анализов проводится управление переменными, имеющимися в распоряжении (т.е. скорости подачи кислоты и хлората) для того, чтобы поддерживать требуемый уровень производства диоксида хлора. Управление дополнительно осложняется за счет флуктуации уровня жидкости в генераторе, что приводит или к концентрированию, или к разбавлению реагентов в жидкой фазе генератора в периоды между лабораторными анализами, и таким образом, с использованием традиционных методов управления трудно осуществить контроль указанных переменных.

Современные системы управления, имеющиеся в большинстве установок по производству диоксида хлора, снабжены микропроцессорами, которые способны быстро рассчитывать сложные алгоритмы со многими переменными. Это достижение в компьютерной технологии обеспечивает возможность оптимизации химических процессов за счет введения усовершенствованных методов управления. В течение длительного времени существовала потребность разработать ряд усовершенствованных методов управления, предназначенных для непосредственного контроля за работой установки по производству диоксида хлора, причем единственным вводимым параметром является требуемая производительность диоксида хлора. Эта задача решена в настоящем изобретении, как подробно описано ниже. Управлять работой всей установки можно с помощью усовершенствованного метода управления, который может быть осуществлен с помощью микропроцессора. В начале процесса необходимо провести лабораторные испытания, для того чтобы установить специфические отношения расхода реагентов на установке, однако после завершения такого первоначального исследования можно существенно сократить частоту лабораторных анализов.

В приведенных ниже патентах США изложены предшествующие способы управления процессами получения диоксида хлора.

Патент США № Патентовладелец
4251503Cowley et al.
4251224Swindells et al.

Оба названных патента, принадлежащих указанным владельцам, относятся к машинному контролю производства диоксида хлора с использованием хлорид-ионов в качестве восстанавливающего агента с образованием газовой смеси хлора и диоксида хлора, в обоих патентах описан метод управления рабочими параметрами как функции эффективности, определяемой по анализу газов (т.е. сопоставляя величины отношения диоксида хлора/хлор). Однако настоящее изобретение относится к усовершенствованному методу управления, с новыми концепциями, для того чтобы управлять современными, экологически безопасными способами получения диоксида хлора высокой чистоты (например, с использованием метанола в качестве восстанавливающего агента), такими как R8®, SVP-MeOH® SVP-Lite®), причем в продукте присутствуют только следовые количества хлора. Следовательно, способы управления уровня техники и настоящего изобретения относятся к способам получения диоксида хлора с использованием различных химических методов.

Сущность изобретения

Как указано выше, настоящее изобретение относится к усовершенствованным методам управления для управления процессами производства диоксида хлора в способе с единственным реактором, в котором получают диоксид хлора высокой чистоты, и осуществлению таких методов управления с использованием соответствующим образом запрограммированного микропроцессора. Разработанные в этом изобретении методы управляют всеми ключевыми переменными процесса в динамическом режиме при мгновенном осуществлении управления.

В основу настоящего изобретения положена задача создать метод управления процессами производства диоксида хлора в способе с единственным фактором, обеспечивающий:

- достижение и поддержание высокой производительности по целевому диоксиду хлора,

- стационарный, стабильный режим работы в оптимальных условиях,

- мониторинг и контроль работы с помощью компьютера,

- сокращение частоты ручного лабораторного анализа с привлечением работы оператора,

- реализация оптимального режима работы установки и экономии реагентов.

В одном аспекте настоящее изобретение предлагает непрерывный способ получения диоксида хлора с заданной производительностью, который включает в себя:

восстановление ионов хлората, которые обычно обеспечиваются за счет хлората натрия, хлорной кислотой или ее смесями в кислой водной реакционной среде в реакционной зоне с использованием восстанавливающего агента и серной кислоты при температуре кипения реакционной среды при давлении ниже атмосферного,

удаление газовой смеси, содержащей пары воды и диоксид хлора, из реакционной среды,

поглощение указанной газовой смеси охлажденной водой в зоне абсорбции, для того чтобы обеспечить получение продукта - водного раствора диоксида хлора,

удаление суспензии отработанной реакционной среды и побочного продукта - кристаллического сульфата натрия из реакционной зоны,

выделение кристаллического сульфата натрия в качестве побочного продукта из отработанной реакционной среды,

добавление свежих порций хлората натрия, восстанавливающего агента и серной кислоты в отработанную реакционную среду, для того чтобы получить свежее сырье,

выпаривание воды, введенной в этот процесс из всех источников, с использованием пара, подаваемого в кипятильник,

рециркуляция свежего сырья в реакционную зону,

и компьютерное управление указанного процесса на основе желаемой производительности по диоксиду хлора в качестве единственного параметра, вводимого оператором в компьютерную программу, осуществляющую такое компьютерное управление.

Работа с компьютерным упрпавлением может включать в себя непрерывный мониторинг целевой производительности по водному раствору диоксида хлора с целью ее изменения, непрерывный мониторинг скорости технологических потоков хлората натрия, восстанавливающего агента, серной кислоты, пара в кипятильнике и охлажденной воды, и изменение исходных контрольных параметров всех указанных потоков в соответствии с измененной целевой производительностью.

Работа с компьютерным управлением также может включать в себя непрерывный мониторинг производительности по водному раствору диоксида хлора для определения отклонений от целевой производительности и изменения скорости потока восстанавливающего агента, для поддержания заданного значения производительности.

Одним отличительным признаком изобретения является то, что определяют значения максимально допустимой концентрации диоксида хлора в растворе продукта и максимально допустимой температуры, и эту информацию отправляют оператору.

Работа с компьютерным управлением может дополнительно включать в себя непрерывный мониторинг технических условий всех материальных потоков и модифицирование соответствующих контрольных параметров скорости потоков сырья в реакционную зону на основе целевой производительности и в ответ на изменение технических условий материалов.

Работа с компьютерным управлением может дополнительно включать в себя непрерывный мониторинг физических свойств раствора хлората натрия, температуры и плотности, и на этой основе создается виртуальный непрерывный анализатор раствора хлората, который определяет объемную концентрацию раствора хлората натрия.

Этот виртуальный непрерывный анализатор раствора хлората работает с точностью приблизительно ±0,3% в интервале концентраций хлората натрия приблизительно от 450 до 750 г/л.

Работа с компьютерным управлением может дополнительно включать в себя непрерывный мониторинг массы поступающего в реакционную среду хлората натрия, непрерывный мониторинг массового расхода хлората натрия в результате процесса и модифицирование потока хлората натрия в реакционную среду, для того чтобы соответствовать расходу массы хлората натрия и поддерживать по существу постоянную концентрацию хлората натрия в реакционной среде.

Работа с компьютерным управлением может дополнительно включать в себя поддерживание значения контрольной точки температуры кипения реакционной среды, непрерывный мониторинг температуры кислой водной реакционной среды, непрерывный контроль температуры реакционной среды, для того чтобы поддерживать постоянную нормальность кислоты в реакционной среде и непрерывное определение нормальности кислой водной реакционной среды в зависимости от температуры водного раствора.

В последнем варианте способа работа с компьютерным управлением может дополнительно включать в себя непрерывное определение разности между температурой водной реакционной среды и температурой контрольной точки и корректирование этой разности с помощью соответствующего изменения скорости потока кислоты в водную реакционную среду.

Работа с компьютерным управлением может дополнительно включать в себя непрерывный контроль молярности хлората натрия в водной реакционной среде на основе непрерывно определяемого материального баланса системы и поддержания режима приемлемого выхода.

Работа с компьютерным управлением может дополнительно включать в себя периодические лабораторные анализы концентрации хлората натрия в реакционной среде и мониторинг результатов такого лабораторного анализа для установления тенденции изменения концентрации хлората натрия в реакционной среде, определения того, изменяется ли концентрация хлората натрия в реакционной среде в одном и том же направлении в заданном числе таких периодических лабораторных анализов. В случае, когда такое изменение имеет место, и при условии, что оператор выбрал рабочий режим «АДАПТИРОВАННЫЙ ВЫХОД», активируется процедура расчета выхода с использованием ряда лабораторных анализов, для определения приемлемого выхода.

Работа с компьютерным управлением может дополнительно включать в себя периодические лабораторные анализы концентрации хлората натрия в реакционной среде и определение того, отклоняется ли концентрация хлората натрия в реакционной среде от заданной величины. В случае, когда такое изменение имеет место, и при условии, что оператор выбрал рабочий режим «ЛАБОРАТОРНЫЙ АНАЛИЗ», применяется одноразовое смещение скорости потока хлората натрия в реакционную среду в течение заданного времени, для того чтобы установить концентрацию хлората натрия в реакционной среде на заданном уровне.

Работа с компьютерным управлением может дополнительно включать в себя поддержание практически постоянного уровня реакционной среды в реакционной зоне путем непрерывного установления баланса между объемом воды, поступающей в установку, и объемом воды, выпариваемой из реакционной среды.

При работе с компьютерным управлением можно непрерывно определять и показывать на экране нормальность кислоты в реакционной среде и концентрацию хлората натрия в реакционной среде.

Восстанавливающий агент, используемый в способе получения диоксида хлора, может быть таким, которые обычно применяются в промышленных установках по производству диоксида хлора, предпочтительно восстанавливающий агент, который не приводит к образованию значительного количества хлора, такой как пероксид водорода и метанол. В этом изобретении для иллюстрации описан конкретный вариант с использованием метанола в качестве восстанавливающего агента.

В случае, когда метанол является восстанавливающим агентом, система компьютерного управления может дополнительно включать в себя непрерывный мониторинг производительности по водному раствору диоксида хлора и модифицирование скорости потока метанола в реакционную среду в ответ на флуктуации в предварительно заданном интервале на основе исходной контрольной точки потока метанола.

Усовершенствованные методы управления, предложенные в этом изобретении (см. фиг.3 для схематического обзора), включают следующее:

a) инициализация производительности,

b) динамическое определение контрольных точек скоростей потока,

c) контроль подачи хлората,

d) контроль кислотности жидкости в генераторе,

e) контроль обратной связи по производительности,

f) определение контрольной точки потока пара в кипятильник,

g) контроль уровня генератора,

h) контроль концентрации раствора диоксида хлора,

i) взаимоблокировка максимальной концентрации раствора диоксида хлора и температуры раствора.

Краткое описание чертежей

Дальнейшее описание ведется со ссылками на прилагаемые фигуры чертежей, на которых:

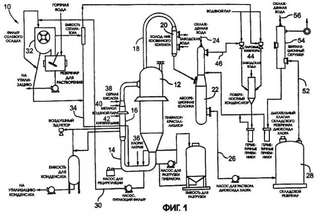
фиг.1 представляет собой принципиальную схему установки по производству диоксида хлора на основе метанола (R8®), которая может эксплуатироваться в соответствии с вариантом осуществления методов управления согласно изобретению;

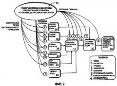
фиг.2 представляет собой принципиальную схему всех входных и выходных сигналов методов управления способа получения диоксида хлора согласно изобретению;

фиг.3 представляет собой общую блок-схему для стратегии управления способа получения диоксида хлора согласно изобретению;

фиг.4 представляет собой блок-схему (SC1), на которой показаны стадии 1-2, входящие в инициализацию производительности диоксида хлора;

фиг.5 представляет собой блок-схему (SC2), на которой показаны стадии 1-2, входящие в определение контрольной точки для серной кислоты;

фиг.6 представляет собой блок-схему (SC3), на которой показаны стадии 1-3, входящие в определение контрольной точки для воды, разбавляющей метанол;

фиг.7 представляет собой блок-схему (SC4), на которой показаны стадии 1-7, входящие в определение контрольной точки для потока охлажденной воды в абсорбционную колонну;

фиг.8А, 8В и 8С представляют блок-схему (SC5), на которой показаны стадии 1-20, входящие в метод управления скоростью потока раствора хлората натрия;

фиг.9 представляет собой блок-схему (SC6), на которой показаны стадии 1-7, входящие в управление кислотностью генератора диоксида хлора;

фиг.10 представляет собой блок-схему (SC7), на которой показаны стадии 1-6, входящие в контроль обратной связи по производительности диоксида хлора;

фиг.11А и 11В представляют блок-схему (SC9), на которой показаны стадии 1-7, входящие в метод определения контрольной точки для потока пара в кипятильник;

фиг.12А и 12В представляют блок-схему (SC10), на которой показаны стадии 1-15, входящие в метод управления уровня жидкости в генераторе диоксида хлора;

фиг.13А и 13В представляют блок-схему (SC11), на которой показаны стадии 1-13, входящие в процесс установления взаимоблокировки для максимальной концентрации раствора диоксида хлора и температуры;

фиг.14 представляет собой схему архитектуры усовершенствованного дистанционного контроля.

Общее описание изобретения

В настоящем изобретении можно автоматически осуществлять мониторинг и управлять работой установки по производству диоксида хлора во всем объеме с помощью компьютера с программным обеспечением, осуществляющим различный мониторинг и расчеты. Единственной переменной, которая должна быть введена оператором установки в систему, является производительность по диоксиду хлора. Иногда, по различным причинам, на установке нельзя получить то количество диоксида хлора, которое ожидается при заданных потоках реагентов. Предлагаемая в рамках настоящего изобретения система управления быстро определяет степень отклонения производительности и производит необходимые корректировки контрольной точки подачи метанола, для того чтобы поддерживать желаемый уровень производительности. Эта система управления не только оптимизирует стационарный режим работы установки по производству диоксида хлора, но также обеспечивает переход между желаемыми уровнями производительности, при поддержании стабильной работы. Например, контроль стабильного уровня в генераторе (±1%) достигается за счет синергетического использования пара и свежей воды. Минимизируется подача воды и использование пара.

В настоящем изобретении регулируются химические потоки с целью оптимального потребления реагентов при заданной производительности. Концентрация хлората в жидкой фазе генератора поддерживается в узком интервале значений, например, ±0,2 моль/л (включая ошибку анализа) при целевой производительности с использованием компенсации приемлемого выхода, как описано ниже. Кислотность жидкой фазы генератора регулируется в узком интервале значений, например, ±0,2 н. (включая ошибку анализа) при целевой производительности, поддерживая температуру жидкости в контрольной точке, которую выводят из значений целевой концентрации в жидкой фазе генератора.

Концентрацию сырьевого хлората рассчитывают с высокой точностью, например с погрешностью ±0,3%, на основе алгоритма, связанного с физическими свойствами, в интервале концентраций хлората натрия приблизительно от 450 до 750 г/л.

Настоящее изобретение обеспечивает разработку устройств, прогнозирующих в реальном времени концентрации хлората натрия и кислотности, которые могут отображаться для сведения на заводской распределенной системе контроля (РСК). Приборные ошибки в большинстве случаев с помощью настоящего изобретения могут быть обнаружены и компенсированы.

Обеспечиваемая настоящим изобретением повышенная точность концентрации продукта - водного раствора диоксида хлора сводит к минимуму продукцию раствора диоксида хлора, не соответствующую спецификации, во время изменений производительности установки, с последующим улучшением качества отбеливания бумажной массы. Путем мониторинга рабочих условий генератора диоксида хлора оптимизируется эффективность извлечения диоксида хлора в абсорбционной колонне. Нельзя превышать наивысшую возможную концентрацию раствора диоксида хлора, которая может быть получена на основе информации о максимально допустимой концентрации раствора диоксида хлора в существующих рабочих условиях для того, чтобы можно было избежать потерь продукта, выбросов в окружающую среду и аварийных ситуаций. При производстве наивысшей возможной концентрации раствора диоксида хлора становится максимальной существующая емкость хранилища, а потребление охлажденной воды минимизируется. Точно рассчитывается поток охлажденной воды в абсорбционную колонну для того, чтобы поддерживать концентрацию раствора диоксида хлора на ее контрольной точке, которая следует за изменениями производительности. В результате непосредственного контроля рабочих условий при целевой производительности достигается максимальная и стабильная эффективность процесса, что приводит к более высокому выходу водного раствора диоксида хлора, в расчете на хлоратное сырье.

Настоящее изобретение помогает снизить затраты на реагенты, особенно на хлорат, а также уменьшить потери реагентов в результате колебаний производительности, возмущений при пуске, сбоях работы, пиковых отключениях, перебросах жидкости и резких изменений окружающей среды, сократить диапазон изменений между заданными и рабочими параметрами, такими как уровень жидкости в генераторе, концентрации в жидкой среде, концентрация диоксида хлора и производительность, снизить частоту лабораторных анализов и биологическую потребность в кислороде (БПК), усиливающейся за счет снижения потребления метанола.

Настоящее изобретение способствует улучшению качества продукта - отбеленной пульпы, в результате плотной концентрации диоксида хлора в полученном растворе диоксида хлора, что приводит к улучшенному контролю белизны пульпы, улучшению стабильности работы установки по производству диоксида хлора и способствует устранению ряда технологических проблем.

Использование дистанционного контроля работы установки по производству диоксида хлора, как предусмотрено в одном конкретном варианте воплощения изобретения, обеспечивает дополнительные преимущества по сравнению с традиционным локальным диспетчерским управлением, включая следующие преимущества: дополнительные ресурсы дистанционного программного обеспечения, ремонт и своевременное усиленное техническое обслуживание и средства обеспечения, без необходимости в дорогостоящей проверке на месте, причем в этом режиме работы отсутствует риск, поскольку любое повреждение коммуникации между центральным пунктом управления и установкой, управляемой дистанционно, приводит только к тому, что устройство управления возвращается к существующему в настоящее время локальному управлению установкой оператором.

Методы управления, предоставляемые в настоящем изобретении, существенно усиливают эксплуатационную стабильность процесса производства диоксида хлора, которая является основным фактором, влияющим на потребление исходных материалов. Кроме того, поддержание единообразных эксплуатационных условий обеспечивает поддержание оптимального производства диоксида хлора в этом способе. За счет описанной в изобретении системы управления существенно снижается потребление наиболее дорогостоящего материала - хлората натрия.

Потребление метанола сильно зависит от концентрации реагентов в жидкой фазе генератора. При работе с системой управления согласно изобретению концентрации реагентов в жидкой фазе генератора поддерживаются постоянными при оптимальном значении, и в результате этого в способе получения диоксида хлора метанол используется эффективно. Поэтому достигается экономия реагентов (метанола) и снижается нагрузка на БПК процесса. Кроме того, усовершенствованные стратегии управления приводят к экономии средств инженерного обеспечения, особенно пара для кипятильника, в результате минимального использования свежей воды при управлении уровнем жидкой фазы в генераторе. Достигается также экономия реагентов на установке отбеливания, использующей раствор диоксида хлора, что является результатом высокой и постоянной концентрации диоксида хлора в продукте.

Описание предпочтительного варианта воплощения изобретения

Обратимся к фигурам чертежей, где на фиг.1 представлена принципиальная схема установки 10 по производству диоксида хлора на основе метанола, в которой применяется пониженное давление, и условия кипения реакционной среды при получении диоксида хлора из хлората натрия, серной кислоты и метанола.

Как можно увидеть из фиг.1, установка 10 включает в себя генератор-выпариватель-кристаллизатор в виде единственного аппарата 12, который имеет контур рециркуляции, включающий кипятильник 16. Газообразный продукт выходит из генератора 12 в трубопровод 18 и через холодильник косвенного контакта 20 попадает в абсорбционную колонну 22, в которую подается охлажденная вода по линии 24. Раствор диоксида хлора отбирается по линии 26 из абсорбционной колонны 22 в резервуар-хранилище 28 раствора хлора.

Суспензия побочного продукта, кристаллического сульфата натрия, и отработанной жидкой фазы генератора, которая поступает в контур рециркуляции 14 из нижней части генератора 12, откачивается по линии 30 в фильтр 32 для отделения осадка соли, в котором побочный сульфат натрия отделяется от отработанной жидкости генератора, которая затем возвращается в контур 14 рециркуляции по линии 34.

Выше кипятильника 16 предусмотрена линия подачи водного раствора хлората 36, в то время как линии 38 и 40 подачи для серной кислоты и водного раствора метанола соответственно расположены по ходу потока после кипятильника 16. Пар в кипятильник 16 поступает по линии 42 для того, чтобы поддерживать кислую водную реакционную среду в генераторе 12 при желаемой температуре реакции и чтобы выпарить всю воду, поступающую из всех источников.

Кислая водная реакционная среда в генераторе 12 поддерживается при температуре кипения за счет создания в генераторе 12 давления ниже атмосферного, путем использования паровых эжекторов 44, соединенных с абсорбционной колонной 22 при помощи линии 46. Резервуар-хранилище 28 диоксида хлора снабжен вентиляционным каналом 52, выходящим в вентиляционный скруббер 54, в который по линии 56 подается охлажденная вода для того, чтобы промыть поток вентиляционного газа от диоксида хлора.

В соответствии с настоящим изобретением получение диоксида хлора за счет работы установки по производству диоксида хлора, показанной на фиг.1, управляется с целью обеспечения желаемой производительности по диоксиду хлора. Единственным вводимым параметром, который требуется для предварительного задания в системе контроля, является производительность. На основе этого параметра автоматически изменяют другие параметры и рабочие условия способа для того, чтобы обеспечить заданную производительность.

Рабочие параметры способа получения диоксида хлора регулируют системой контроля, за счет получения входных сигналов и мгновенных значений различных параметров процесса и управления потоков и условий, что требуется для оптимизации значений, которые приведут к заданной производительности по диоксиду хлора. В отношении системы управления производительность по диоксиду хлора является определяющим параметром.

Как можно увидеть на фиг.2, производительность является вводимой величиной для системы 50 управления, работа которой описана ниже со ссылками на фиг.3-13.

Другие входные сигналы включают температуру абсорбера диоксида хлора, давление в генераторе диоксида хлора, уровень жидкости, температуру и концентрацию хлората. Как отмечалось выше, охлажденная вода поступает в абсорбер 22 диоксида хлора, в то время как хлорат натрия, серная кислота, метанол и пар для кипятильника подаются в генератор диоксида хлора. Каждый из этих жидких материалов, а также свежая вода (не показана) имеет скорость потока, значение которой отслеживается и контролируется системой 50 управления.

Эксплуатационные параметры для способа получения диоксида хлора выбирают из тех условий, которые обычно складываются в процессе получения диоксида хлора на основе метанола, и поддерживаются при соответствующих значениях.

Обратимся теперь к фиг.3-13. На фиг.3 показана общая блок-схема метода управления. Эта общая блок-схема метода управления реализована в компьютерной программе, запускаемой соответствующим микропроцессором. Как упоминалось выше, целевая производительность представляет собой входной сигнал, определяющий работу системы управления. Этот входной сигнал вводится оператором вручную. Отклонение производительности от заданной побуждает систему произвести соответствующие регулировки для того, чтобы вернуть процесс к существующей заданной производительности.

Как видно из фиг.4, заданная производительность по диоксиду хлора вводится из распределенной системы контроля РСК, причем система контроля обнаруживает, имеются ли какие-либо изменения производительности. В случае наличия изменения производительности, сигнал инициирует команду СТАРТ 2, вызывающую изменения контрольных точек подачи сырья, как описано ниже.

Традиционная работа установки по производству диоксида хлора не включает инициализацию производительности диоксида хлора, в отличие от настоящего изобретения, но вместо этого, все контрольные точки подачи сырья вводятся вручную в традиционную систему для достижения целевой производительности. В этом изобретении целевая производительность применяется в качестве пусковой команды для инициализации зависимого от нее метода управления в логической последовательности для реализации плавных переходов от одной производительности диоксида хлора к следующей.

Разработанные в изобретении методы управления продемонстрировали превосходную способность управления такими переходами, например, в момент изменения производительности. В эксперименте с большим скачком по производительности установлено, что концентрация диоксида хлора, которая обычно является наиболее чувствительным к технологическим колебаниям параметром, поддерживается вблизи контрольной точки, при протекании переходного процесса к новому значению производительности.

Команда СТАРТ 2 инициирует определение контрольных точек потоков кислоты, воды для разбавления метанола и охлажденной воды, что обеспечивает определение новых контрольных точек, в ответ на изменение производительности целевого диоксида хлора. Как видно из фиг.5, система управления обеспечивает информацию, относительно существующего потребления серной кислоты, концентрации серной кислоты и производительности по целевому диоксиду хлора, и затем рассчитывается новая контрольная точка SP20 потока серной кислоты, которая направляется в РСК для того, чтобы осуществить необходимое изменение потока серной кислоты, и сигнал инициирует команду СТАРТ 4.

Как видно из фиг.6, РСК обеспечивает потребление метанола, плотность раствора метанола и производительность по целевому диоксиду хлора и затем система управления рассчитывает новую контрольную точку (SP30) потока воды для разбавления метанола, которая направляется в систему управления для того, чтобы осуществить необходимое регулирование, и сигнал инициирует команду СТАРТ 5.

Как видно из фиг.7, РСК обеспечивает контрольную точку концентрации раствора диоксида хлора, потока пара в кипятильник, потока охлажденной воды в вентиляционный скруббер и производительности по целевому диоксиду хлора, затем система управления рассчитывает требуемый суммарный поток воды в абсорбер при целевой производительности, рассчитывает поток конденсата из холодильника косвенного контакта в абсорбционную колонну, рассчитывает новую контрольную точку SP70 потока охлажденной воды в абсорбционную колонну. Рассчитывается минимальный поток охлажденной воды в абсорбционную колонну SPMN и проводится сопоставление с целью определения, является ли SP70 больше, чем SPMN для того, чтобы убедиться, что поток охлажденной воды никогда не снижается ниже минимального значения SPMN. В случае отрицательного ответа величина SP70 устанавливается как расчетная величина SPMN, и затем это значение подается в РСК, чтобы осуществить управление. В случае положительного ответа величина SP70 устанавливается как расчетная величина SP70, и затем это значение подается в РСК, чтобы осуществить управление.

Кроме того, осуществляется дальнейший запрос относительно того, изменились ли контрольные точки концентрации раствора диоксида хлора или потока в скруббер. В случае отрицательного ответа сигнал инициирует команду СТАРТ 6. В случае положительного ответа контур возвращает и принимает новые значения концентрации раствора диоксида хлора и/или вентиляционного потока в колонну скруббера для пересчета.

В отличие от стратегий управления, представленных на фиг.5-7, при традиционной работе используется «Распечатка таблицы подаваемых материалов» в качестве руководства для оператора при управлении всеми потоками для получения целевой производительности. Эта таблица создана на основе стехиометрии и ряда допущений, включая постоянное потребление метанола и его плотность, концентрацию хлората и выход на установке, которые могут быть некорректными. В этом изобретении контрольные точки поступающего сырья сделаны динамичными, в результате чего контрольные точки потоков кислоты, метанола, пара и охлажденной воды рассчитываются на основе заданной производительности по целевому диоксиду хлора, технических условий химического сырья и эксплуатационных условий, измеренных непосредственно, причем контрольные точки изменяются динамично, когда изменяются технические условия материалов. Такая стратегия позволяет с максимально возможной точностью установить начальные и последующие контрольные точки потоков, в отличие от традиционной жесткой карты технологических потоков.

На фигурах 8А, 8В и 8С показана процедура управления подачи раствора хлората натрия. Как показано на фиг.3, при контрольной инициации присваивается первая контрольная точка SP10 потока хлората, и сигнал инициирует команду СТАРТ 3. Информация относительно потока раствора хлората натрия, плотности, температуры, потока диоксида хлора в хранилище и концентрации раствора диоксида хлора предоставляется от РСК, и затем рассчитывается средняя производительность, по которой генерируется сигнал 7 для контроля обратной связи производительности по диоксиду хлору (см. фиг.10). Затем рассчитывается потребление хлората натрия при фактической производительности по диоксиду хлора и выход, с последующим расчетом концентрации хлората в сырьевом растворе. В результате последнего расчета генерируется сигнал 8 для определения контрольной точки потока пара в кипятильник (см. фигуры 11А и 11В). Затем рассчитывается скорость потока хлората, которая требуется для соответствия потреблению хлората. Затем эта величина, наряду с вводами 6А или 6С (см. ниже), используется для расчета контрольной точки потока хлората, включая управление смещением и выходом, как описано ниже, и результирующий сигнал направляется в РСК. Этот сигнал также инициирует команду СТАРТ 7, направляется по внутреннему контуру 5 и используется при дальнейшем регулировании поступающего потока 7 хлората.

Как видно из приведенного выше описания фигур 8А-8С, оператор имеет возможность выбора, или руководствоваться полным контролем с использованием перехода на режим «Приемлемый выход» (фиг.8А и 8С), или выбрать режим работы «Лабораторный анализ» для управления однократного смещения потока (фиг.8А и 8В).

Как видно из фиг.8В, сигнал 5 потока хлората вводится, наряду с информацией относительно молярности хлората, заданной доли твердых веществ, уровня в генераторе и результатов лабораторных анализов и процентного содержания твердых веществ. В последующем определяется, изменилась ли информация лабораторных анализов хлората. В случае отрицательного ответа образуется замкнутый цикл. В случае положительного ответа определяется, выбран ли режим приемлемого выхода, который описан ниже. Если выбран режим приемлемого выхода, тогда генерируется сигнал 6В, по которому производится дальнейший расчет (см. фиг.8С). Если режим приемлемого выхода не