Способ и устройство для измерения плотности флюида
Иллюстрации
Показать всеУстройство содержит трубку, задающую для флюида путь протекания, источник фотонов, расположенный на одном конце трубки, и детектор фотонов, установленный для приема фотонов, прошедших по трубке в продольном направлении. В предпочтительном варианте реализации используется трубка, задающая для флюида путь протекания, которая содержит первый и второй относительно прямые и расположенные по одной оси измерительные участки, находящиеся с противоположных сторон источника фотонов, в результате чего каждый измерительный участок принимает соответствующий фотон из некоторых упомянутых пар для прохождения этого фотона по измерительному участку в продольном направлении. Соответствующие детекторы, расположенные на других концах измерительных участков, принимают соответствующие фотоны из упомянутых пар. Обнаруженные совпадающие фотоны подсчитываются, и на основе числа отсчета определяется плотность флюида. Технический результат - создание способа и устройства для измерения плотности флюида, протекающего по скважине, с использованием технологии затухания фотонов. 2 н. и 10 з.п. ф-лы, 5 ил.
Реферат
Настоящее изобретение относится к способам и устройствам для измерения плотности флюида (текучей среды) и, в частности, для измерения плотности флюидов, протекающих в стволе скважины.
Предшествующий уровень техники
При оценке объема резервуара углеводородов, окружающего ствол скважины, очень полезно иметь возможность измерить плотность флюида, текущего из резервуара по стволу скважины. Одной из известных технологий измерения плотности флюида является измерение затухания фотонов в поперечном направлении, в которой измеряется затухание гамма-квантов, перемещающихся в поперечном направлении через трубопровод с флюидом (см., например, заявку на патент Великобритании №2351810). Однако указанная технология предназначена, главным образом, для применения в местах, где пространственные ограничения не являются слишком строгими. В глубоких скважинах относительно небольшого диаметра и в некоторых скважинных инструментах пространство для установки устройства, используемого для проведения подобного измерения, может быть чрезвычайно ограниченным.
Например, компания Schlumberger (Шлюмберже) разработала скважинный инструмент - "Модульный тестер динамики пластов" (MDT), посредством которого осуществляется анализ пластовых флюидов. MDT отбирает и анализирует струю из потока пластовых флюидов в основном, как раскрыто в патентах США №№3859851; 3780575; 4860581 и 4936139. Желательно снабдить MDT модулем для измерения плотности флюида. Однако пространство, имеющееся внутри MDT, определяется его внутренним диаметром, который составляет приблизительно 9 см. При условии, что необходима значительная толщина стенки трубопровода, в котором протекает флюид, а также стенки корпуса для источника фотонов и детектора для высоких давлений флюида, при этом максимальный внутренний диаметр трубопровода, содержащего флюид в модуле MDT, и, следовательно, максимальный размер пути флюида, на котором может проводиться такое измерение затухания фотонов в поперечном направлении, будут чрезвычайно малы, в типичном случае не более 5-10 мм. Измерение, осуществляемое таким образом, является относительно мало чувствительным к плотности флюида. Локальное увеличение внутреннего диаметра трубопровода, даже если оно возможно, скорее всего с достаточной степенью вероятности может привести к резкому локальному расширению флюида, что в свою очередь может привести к такому изменению его свойств, которое повлияет на достоверность измерения плотности.
Проблемы, вызванные недостатком пространства при определенных вариантах применения в скважинах устройства измерения плотности флюида, использующего затухание фотонов, осложняются тем фактом, что в устройстве, предназначенном для использования в стволе скважины, в высшей степени желательно с точки зрения эксплуатации и безопасности применять низкоактивный источник фотонов такого типа, который не требует получения дополнительного разрешения. Применение низкоактивного источника фактически увеличивает время, требующееся для проведения измерения плотности с требуемой статистической погрешностью, в течение которого плотность флюида может существенно измениться.
Краткое изложение существа изобретения
Задачей настоящего изобретения является создание способов и устройств для измерения плотности флюида, протекающего по скважине, с использованием технологии затухания фотонов, которые позволяют снизить вышеупомянутые проблемы.
Согласно первому аспекту настоящего изобретения предлагается устройство для измерения плотности флюида, содержащее
средство, определяющее путь протекания флюида,
источник фотонов,
средство обнаружения фотонов, обеспечивающее прием фотонов, перемещающихся от источника фотонов через флюид, находящийся в пути протекания,
средство определения плотности флюида на основе числа отсчета фотонов, принятых средством обнаружения,
согласно изобретению путь протекания содержит фактически прямой измерительный участок, идущий в направлении протекания флюида, источник фотонов установлен на одном конце упомянутого измерительного участка, а средство обнаружения фотонов установлено на другом конце измерительного участка для приема фотонов, прошедших по измерительному участку.
Согласно второму аспекту настоящего изобретения предлагается устройство для измерения плотности флюида, содержащее
средство, определяющее путь протекания флюида,
источник фотонов,
средство обнаружения фотонов, обеспечивающее прием фотонов, перемещающихся от источника фотонов через флюид, протекающий по пути протекания,
средство определения плотности флюида на основе числа отсчета фотонов, принятых средством обнаружения,
согласно изобретению источник фотонов содержит источник, испускающий пару совпадающих по времени излучения фотонов, путь протекания содержит два относительно прямых измерительных участка, каждый из которых предназначен для приема соответствующего фотона из каждой пары, средство обнаружения содержит два детектора, каждый из которых установлен для приема фотонов, прошедших по соответствующему измерительному участку, и средство определения плотности предназначено для измерения плотности флюида на основе числа отсчетов пар совпадающих фотонов, обнаруженных детекторами.
Предпочтительно два измерительных участка фактически расположены на одной оси и разнесены, а источник установлен между их соседними концами. Удобно, если эти два измерительных участка фактически имеют равную длину.
В предпочтительном варианте реализации согласно второму аспекту настоящего изобретения источник содержит излучатель позитронов 22Na.
Согласно третьему аспекту настоящего изобретения предлагается устройство для измерения плотности флюида, содержащее
средство, определяющее путь протекания флюида,
источник фотонов,
средство обнаружения фотонов, обеспечивающее прием фотонов, перемещающихся от источника фотонов через флюид, протекающий по пути протекания,
средство определения плотности флюида на основе числа отсчетов фотонов, принятых средством обнаружения,
согласно изобретению источником фотонов является 22Na.
Предпочтительно устройство дополнительно содержит средство, реагирующее на сигнал средства обнаружения фотонов для подсчета обнаруженных дополнительных фотонов, излученных при снятии возбуждения дочернего изотопа 22Ne, возникающего при распаде источника 22Na, при этом средство определения плотности может быть дополнительно приспособлено для определения плотности флюида на основе числа отсчета обнаруженных дополнительных фотонов.
Устройство дополнительно содержит средство, реагирующее на сигнал средства обнаружения фотонов для измерения числа отсчета при суммарном пиковом излучении источника для определения его активности.
Согласно четвертому аспекту настоящего изобретения предлагается способ измерения плотности флюида, содержащий
задание пути протекания флюида,
облучение флюида, находящегося на пути протекания, фотонами от источника фотонов,
обнаружение фотонов, прошедших через флюид, находящийся на пути протекания,
определение плотности флюида на основе числа отсчета обнаруженных фотонов,
согласно изобретению путь протекания содержит фактически прямой измерительный участок, идущий в направлении протекания флюида, источник фотонов установлен на одном конце измерительного участка, а средство обнаружения фотонов установлено на другом конце измерительного участка для приема фотонов, прошедших по измерительному участку.
Согласно пятому аспекту настоящего изобретения предлагается способ измерения плотности флюида, содержащий
задание пути протекания флюида,
облучение флюида, находящегося на пути протекания, фотонами от источника фотонов,
обнаружение фотонов, прошедших через флюид, находящийся на пути протекания,
определение плотности флюида на основе числа отсчета обнаруженных фотонов,
согласно изобретению на этапе облучения размещают источник фотонов, излучающий пары совпадающих фотонов, на этапе задания пути протекания создают на упомянутом пути протекания первый и второй относительно прямые измерительные участки, каждый из которых предназначен для приема соответствующего фотона из каждой пары для их перемещения вдоль этого участка, и на этапе определения плотности осуществляют определение плотности флюида на основе числа отсчетов обнаруженных пар совпадающих фотонов.
Этап определения плотности может также содержать (для верхней части ожидаемого диапазона измеряемых плотностей) определение плотности флюида на основе числа отсчета фотонов, проходящих только по одному из измерительных участков.
Используемым в данном способе источником фотонов предпочтительно является 22Na, в этом случае способ предпочтительно дополнительно содержит этап подсчета обнаруженных дополнительных фотонов, излученных при снятии возбуждения дочернего изотопа 22Ne, возникающего при распаде источника 22Na, и может дополнительно включать определение плотности флюида на основе числа отсчета обнаруженных дополнительных фотонов.
Способ может дополнительно включать измерение числа отсчета при суммарном пиковом излучении источника для определения его активности.
Краткое описание чертежей
Далее изобретение поясняется описанием предпочтительного варианта воплощения со ссылками на сопровождающие чертежи, на которых:
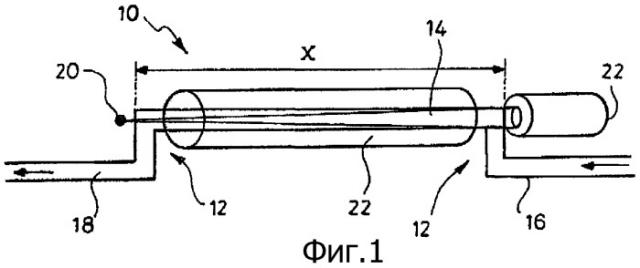
Фиг.1 изображает схему скважинного инструмента для измерения плотности флюида, протекающего в скважине, при помощи затухания фотонов, согласно первому аспекту настоящего изобретения;
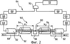
Фиг.2 изображает блок-схему скважинного инструмента для измерения плотности флюида, протекающего в скважине, при помощи затухания фотонов с использованием источника фотонов, излучающего пары совпадающих фотонов, согласно второму аспекту настоящего изобретения;
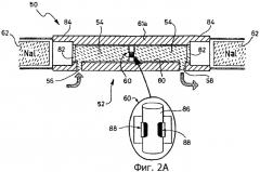
Фиг.2А изображает предпочтительный вариант основной части скважинного инструмента, показанного на Фиг.1, согласно изобретению;
Фиг.3 изображает схему распада источника фотонов, используемого в скважинном инструменте, показанном на Фиг.2, согласно изобретению;
Фиг.4 изображает диаграмму скорости отсчета фотонов, изменяющейся с плотностью при обнаружении одиночных и совпадающих фотонов в скважинном инструменте, показанном на Фиг.2, согласно изобретению;
Фиг.5 изображает диаграмму относительной чувствительности при определении плотности для обнаружения единичных и совпадающих фотонов в скважинном инструменте, показанном на Фиг.2, согласно изобретению.
Описание предпочтительных вариантов воплощения изобретения
Скважинный инструмент 10 (фиг.1) в качестве основных элементов содержит магистраль 12, выполненную таким образом, что образует прямой измерительный участок 14 между смещенными в боковом направлении впускным и выпускным участками 16 и 18, которые соосны и проходят параллельно измерительному участку. Инструмент 10 устанавливается в корпус, приспособленный для образования модуля, вставляемого в MDT, который, в свою очередь, предназначен для опускания на требуемую глубину в ствол скважины, например, на конце проводной линии связи или колонны гибких труб, и для отбора пластовых флюидов из пластов, окружающих скважину.
На одном конце измерительного участка 14 магистрали 12 расположен низкоактивный источник 20 гамма-излучения, например, не требующий получения специального разрешения источник 133Ba, а на другом конце измерительного участка 14 расположен детектор 22 фотонов, например, комбинация кристалла-сцинтиллятора NaI и фотоумножителя. Источник 20 излучает гамма-кванты, некоторые из которых перемещаются в продольном направлении по измерительному участку 14 магистрали 12 через протекающий по этому участку флюид. Измерительный участок 14 заключен в расположенный соосно цилиндрический коллиматор 24, изготовленный из тяжелого металла, например свинца или вольфрама. Фотоны, прошедшие по измерительному участку 14 магистрали 12, обнаруживаются детектором 22, и соответствующая скорость отсчета измеряется, как подробно описано ниже.
Так как затухание фотонов, перемещающихся по измерительному участку 14 магистрали 12, зависит от плотности флюида, протекающего по этому участку, то скорость отсчета фотонов, обнаруживаемых детектором 22, также зависит от плотности флюида. Выражение для скорости отсчета n в случае наличия флюида следующее
где: n0 - число отсчетов в случае отсутствия флюида; μ - коэффициент затухания, зависящий от энергетического спектра фотонов; ρ - плотность флюида; x - длина пути затухания, то есть длина измерительного участка 14.
Так как фотоны проходят по магистрали 14 в продольном направлении, длина пути затухания может быть задана гораздо большей, чем было бы возможно в случае измерения затухания фотонов в поперечном направлении, в типичном случае до приблизительно 30 см. В результате чувствительность определения плотности скважинного инструмента 10 значительно повышается по сравнению с чувствительностью, которая может быть достигнута при измерении затухания фотонов в поперечном направлении, осуществляемом при наличии тех же самых ограничений по размерам.
Хотя измерение затухания фотонов в продольном направлении, осуществляемое с помощью инструмента 10, является существенным усовершенствованием по сравнению с достижимым в случае использования в данном инструменте измерения затухания фотонов в поперечном направлении, тем не менее, измерение в продольном направлении имеет недостаток, заключающийся в том, что апертура измерения является очень маленькой. Предпочтительный вариант реализации настоящего изобретения, изображенный на фиг.2, предназначен для устранения этого недостатка.
Скважинный инструмент 50 (фиг.2) в качестве основных элементов содержит магистраль 52, форма которой позволяет создать два фактически прямых измерительных участка 54, которые фактически расположены по одной оси и соединены последовательно при помощи U-образного соединительного участка 55. Система создания потока, содержащая измерительные участки 54 и соединительный участок 55, заключена между смещенными в боковом направлении впускным и выпускным участками 56 и 58, которые фактически соосны и проходят параллельно измерительным участкам. Инструмент 50 аналогичен инструменту 10 (фиг.1), также устанавливается в корпус для образования модуля, вставляемого в MDT, который, в свою очередь, предназначен для опускания на требуемую глубину в ствол скважины, например, на конце проводной линии связи или колонны гибких труб, и для отбора пластовых флюидов из пластов, окружающих скважину.
Между соседними концами измерительных участков 54 магистрали 52 в пространстве, образованном ветвями U-образного соединительного участка 55, расположен низкоактивный источник 60 гамма-квантов, не требующий получения специального разрешения. В инструменте 50 источник 60 представляет собой источник, излучающий пары совпадающих фотонов, предпочтительно такой излучатель позитронов, как 22Na, хотя возможно использование других подходящих многопучковых источников гамма-излучения. Измерительные участки 54 заключены в расположенные соосно с ними соответствующие трубчатые коллиматоры 61, каждый из которых аналогичен коллиматору 24 (фиг.1).
В случае излучателей позитронов образующаяся при распаде частица аннигилирует с электроном из окружающей материи, при этом остаточные массы данных частиц (511 кэВ/с2 для каждой аннигилирующей пары е+е-) преобразуются в энергию в виде электромагнитного излучения. Типичные импульсы излученного позитрона и аннигиляционного электрона являются небольшими по сравнению с импульсом фотонов, несущих высвобождаемую при преобразовании массы энергию, и в результате для сохранения как импульса, так и энергии возникает пара фотонов, излучаемых в противоположные стороны, каждый с энергией 511 кэВ. В случае источника 22Na при снятии возбуждения дочернего изотопа 22Ne также излучается гамма-квант с энергией 1275 кэВ. Схема распада 22Na показана на фиг.3.
Инструмент 50 содержит также два одинаковых детектора 62 фотонов, аналогичных детектору 22 инструмента 10. Детекторы 62 расположены на соответствующих концах измерительных участков 54 магистрали 52, в результате чего каждый фотон аннигиляционной пары должен пройти в продольном направлении по соответствующему измерительному участку через флюид, прежде чем он достигнет соответствующего детектора. Детекторы 62 расположены с диаметрально противоположных сторон от источника 60 фотонов. В идеальном варианте расстояние до каждого детектора имеет одинаковую величину, хотя в определенных случаях могут иметь преимущества и другие варианты, что рассмотрено ниже.
На фиг.2А изображен вариант реализации основной магистрали 52 и связанных с ней элементов инструмента 50. Магистраль 52 и измерительные участки 54 выполнены как единая прямая трубка 80 с титановыми торцевыми крышками 82, при этом впускной и выпускной участки 56 и 58 идут в радиальном направлении от трубки с каждого из ее концов. Коллиматоры 61 выполнены в виде одной детали 61а, имеющей выступающие части 84 на каждом конце. Выступающие части 84 проходят на небольшое расстояние за титановые концевые крышки 82 на трубке 80 и имеют увеличенный внутренний диаметр (относительно основной части коллиматора 61), при этом детекторы 62 расположены вблизи краев соответствующих выступающих частей 84 и обращены к соответствующим титановым концевым крышкам.
Источник 60 имеет двойную оболочку, чтобы выдерживать давление 25 kPSI (Pounds per Square Inch, фунты на квадратный дюйм), и установлен в трубчатом контейнере 86 источника, который размещен по диаметру трубки 80 в ее середине, при этом источник 60 расположен фактически на оси трубки. В трубчатом контейнере 86 источника друг против друга вырезаны окна 88, расположенные на оси трубки 80 и обращенные в противоположные стороны в направлении детекторов 62.
Выходные сигналы детекторов 62 инструмента 50 анализируются схемой 64 обработки сигнала для определения энергии и синхронизации. Схема 64 содержит две одинаковых цепи обработки сигнала, каждая из которых содержит соединенные последовательно усилитель 65, одноканальный анализатор 66, выбирающий только те выходные сигналы от соответственного детектора, которые соответствуют фотонам, попадающим в определенный энергетический диапазон, и схему 68 регулирования задержки. Каждая из цепей обработки сигнала соединена с одной стороны с детектором 62, а с другой стороны - с входом схемы 70 обнаружения совпадений, которая генерирует выходной сигнал только в ответ на обнаружение совпадающих фотонов в выбранном энергетическом диапазоне. Выходной сигнал схемы 70 обнаружения совпадений подается в узел 72 счетчика/пересчетного устройства и блока сбора/передачи данных.
В случае источника 22Na с активностью S Бк (распады/с) возникают 2S фотонов в секунду, каждый с энергией 511 кэВ. Количество единичных фотонов с энергией 511 кэВ в каждом детекторе 62 из пары симметричных и идентичных детекторов может быть выражено следующим образом
где: σ - телесный угол, охватываемый каждым детектором; ε1 - эффективность обнаружения детектора; εw описывает прохождение через стенку контейнера источника и стенки магистрали 52; каждый фотонный пучок проходит путь затухания длиной x. Потери в стенке контейнера источника и в стенках магистрали могут поддерживаться на очень низком уровне. Потеря фотонного потока во флюиде, представленная экспоненциальным членом, разумеется, является желаемой, так как она обеспечивает сигнал измерения. Схема 70 обнаружения совпадений генерирует выходной сигнал для каждого события совпадающих фотонов, обнаруженного обоими детекторами. Количество совпадений может быть выражено следующим образом. Влияние активности источника и телесного угла в этом случае не меняется, так как каждый фотон, достигающий первого детектора 62, сопровождается партнером, излученным под углом 180° к нему, то есть в направлении второго детектора 62. Число совпадений ниже значения n1 пропорционально эффективности второго детектора 62 (ε2) и эффективности прохождения второго фотона через стенки магистрали. Однако решающим моментом является то, что число совпадений, кроме того, уменьшается на коэффициент e-μρx из-за затухания во флюиде на втором измерительном участке 54 магистрали 52.
Таким образом, количество отсчетов для совпадения двух фотонов может быть выражено следующим образом:
или
Итак, можно видеть, что количество совпадений обратно пропорционально плотности с коэффициентом, равным длине пути 2х, в то время как влияние телесного угла σ соответствует длине затухания, составляющей только х. Это приводит к увеличению числа отсчетов с коэффициентом 4 по сравнению с проведением измерения для единичных фотонов при той же чувствительности определения плотности, хотя и будут возникать небольшие потери, обусловленные эффективностью второго детектора и потерями при прохождении второго фотона через стенки магистрали. Эти потери могут быть относительно небольшими. В случае соответствия требованию электронного совпадения в каждом детекторе может быть использован очень широкий диапазон спектроскопии, при этом требуется только подавление низкоэнергетического шума и фотона с высоким уровнем энергии 1275 кэВ. При наличии тонких стенок из прочных материалов с низкой плотностью степень прохождения через стенки магистрали может быть близка к 100%.
Важно отметить, что особенности инструмента 50 позволяют обеспечить чрезвычайно компактные размеры с использованием детекторов, охватывающих относительно большой телесный угол, и в то же время сохранить относительно большую длину эффективного пути затухания.
Однако инструмент 50 может иметь множество модификаций для достижения других преимуществ.
На фиг.4 изображено соответствующее число отсчетов для единичных событий (регистрация фотонов с энергией 511 кэВ в каждом из детекторов 62) и событий совпадения (регистрация фотонов с энергией 511 кэВ в обоих детекторах 62 в небольшом временном окне), деленное на число отсчетов для незаполненного объема (n0), в котором проводится измерение. Из-за экспоненциальной зависимости чувствительность измерения при совпадении снижается с увеличением затухания. В результате точность измерений для плотностей в диапазоне 0,5-1,0 г/см3 ниже, чем для плотностей ниже 0,5 г/см3. Оптимальные диапазоны могут выбираться путем выбора соответствующей длины пути в каждом объеме, в котором проводится измерение. Отклик может быть увеличен при высоких плотностях путем выбора более короткого пути затухания, что возможно также и при измерении единичных событий (для фотонов, проходящих только по одной ветви с флюидом, для которого проводится измерение), при этом предъявляется единственное требование, чтобы по меньшей мере один детектор из пары регистрировал событие. На фиг.5 изображена чувствительность измерений, то есть отрицательный градиент для кривых отсчетов, показанных на фиг.4, как функция плотности. График четко демонстрирует, что в случае подходящим образом выбранной геометрии при низких плотностях измерение для совпадений имеет в два раза большую чувствительность, чем измерение для единичных событий, в то время как при высоких плотностях (приблизительно 0,8-1,0 г/см3) имеет место обратное. На практике для выбора более подходящего режима интерпретации используется интеллектуальный алгоритм интерпретации.
Динамический диапазон измерения может быть дополнительно расширен путем использования единичных событий с энергией 1275 кэВ при измерении очень высоких плотностей, так как эти фотоны имеют более низкий коэффициент затухания. При соответствующем выборе длины объема, в котором проводится измерение, инструмент может быть оптимально настроен для получения наибольшей точности при обнаружении совпадающих событий с энергией 511 кэВ при низких плотностях, единичных событий с энергией 511 кэВ при промежуточных плотностях и единичных событий с энергией 1275 кэВ при наибольших плотностях. При таком варианте реализации настоящего изобретения по меньшей мере один из одноканальных анализаторов 66 (фиг.2) заменяется многоканальным анализатором, генерирующим выходные сигналы как для событий с энергией 511 кэВ, так и для событий с энергией 1275 кэВ.
Кроме того, можно определить активность источника 22Na путем измерения числа отсчетов в момент так называемого "суммарного пика", когда фотон с энергией 1275 кэВ передает всю свою энергию кристаллу детектора одновременно с одним из фотонов с энергией 511 кэВ, создавая событие с суммарной энергией 1786 кэВ. Числа отсчетов для пика 511 кэВ, пика 1275 кэВ и суммарного пика могут быть выражены следующим образом
Объединение выражений дает:
Таким образом, можно проводить калибровку активности источника в режиме реального времени, а также использовать сигнал оповещения для замены источника, если его активность существенно снизилась. Период полураспада 22Na составляет 2,6 года.
Возможны другие варианты реализации настоящего изобретения.
Например, могут применяться отличные от 22Na или 133Ba многопучковые источники гамма-квантов, например, 60Co. В случае источников 133Ba и 60Co фотоны не излучаются в противоположные стороны, поэтому нет строгой необходимости в установке источника и детекторов по одной оси, как в инструменте 50. Однако, так как такое размещение является выгодным с точки зрения компактности, оно, по всей вероятности, является предпочтительным. Хотя в описанных вариантах реализации настоящего изобретения используются источники гамма-излучения, не требующие получения разрешения, также возможно использование источника рентгеновского излучения в виде генератора рентгеновского излучения, устанавливаемого в скважине. Несмотря на то, что такой источник является более сложным и дорогостоящим и имеет некоторые другие недостатки по сравнению с предпочтительным источником гамма-излучения, он также имеет определенные преимущества, в частности, касающиеся чувствительности к плотности флюида и статистической точности измерения.
1. Устройство для измерения плотности флюида, содержащее средство, определяющее путь протекания флюида, источник гамма-фотонов, средство обнаружения гамма-фотонов, обеспечивающее прием гамма-фотонов, перемещающихся от источника гамма-фотонов через флюид, находящийся в пути протекания, средство определения плотности флюида на основе числа отсчета гамма-фотонов, принятых средством обнаружения, отличающееся тем, что источник гамма-фотонов содержит источник, испускающий пару совпадающих по времени излучения гамма-фотонов в разные стороны, путь протекания содержит два относительно прямых измерительных участка, каждый из которых предназначен для приема соответствующего гамма-фотона из каждой пары, средство обнаружения содержит два детектора, каждый из которых установлен для приема гамма-фотонов, прошедших по соответствующему измерительному участку, и средство определения плотности предназначено для измерения плотности флюида на основе числа отсчетов пар совпадающих по времени излучения гамма-фотонов в разные стороны, обнаруженных детекторами.
2. Устройство по п.1, отличающееся тем, что два измерительных участка расположены по одной оси и разнесены, а источник установлен между их соседними концами.
3. Устройство по п.2, отличающееся тем, что два участка пути протекания равны по длине.
4. Устройство по п.1, отличающееся тем, что источник содержит излучатель позитронов.
5. Устройство по п.4, отличающееся тем, что источником гамма-фотонов является 22Na.
6. Устройство по п.5, отличающееся тем, что дополнительно содержит средство, отвечающее на сигнал средства обнаружения гамма-фотонов для подсчета обнаруженных дополнительных гамма-фотонов, излученных при снятии возбуждения дочернего изотопа 22Ne, возникающего при распаде источника 22Na.
7. Устройство по п.5, отличающееся тем, что средство определения плотности дополнительно предназначено для определения плотности флюида на основе числа отсчета обнаруженных дополнительных гамма-фотонов.
8. Способ измерения плотности флюида, заключающийся в том, что задают путь протекания флюида, облучают флюид, находящийся в пути протекания, фотонами от источника гамма-фотонов, детектируют фотоны, прошедшие через флюид, находящийся в пути протекания, определяют плотность флюида на основе числа отсчета обнаруженных фотонов, отличающийся тем, что на этапе облучения размещают источник гамма-фотонов, излучающий пару совпадающих по времени излучения гамма-фотонов, причем каждый фотон в паре фотонов перемещается в разных направлениях, на этапе задания пути протекания создают на пути протекания первый и второй относительно прямые измерительные участки, проходящие в направлении потока флюида и параллельные друг другу, причем каждый из относительно прямых измерительных участков располагают так, чтобы принять соответствующий фотон каждой пары для передачи вдоль, и на этапе определения плотности определяют плотность флюида на основе числа отсчета обнаруженных пар совпадающих по времени излучения гамма-фотонов.
9. Способ по п.8, отличающийся тем, что на этапе определения плотности для верхней части ожидаемого диапазона измеряемых плотностей определяют плотность флюида на основе числа отсчета фотонов, проходящих только по одному из упомянутых измерительных участков.
10. Способ по п.8 или 9, отличающийся тем, что источником фотонов является 22Na, а способ дополнительно содержит этап подсчета обнаруженных дополнительных фотонов, излученных при снятии возбуждения дочернего изотопа 22Ne, возникающего при распаде источника 22Na.
11. Способ по п.10, отличающийся тем, что дополнительно определяют плотность флюида на основе числа отсчета обнаруженных дополнительных фотонов.
12. Способ по п.11, отличающийся тем, что дополнительно измеряют число отсчета при суммарном пиковом излучении источника для определения его активности.
 
                         
                            


